lemon-mirror:
Home >> Ford >> 2007 >> Taurus SE >> Repair and Diagnosis >> Steering >> Steering Column >> Disassembly And Assembly >> Steering Column - Column Shift >> Assembly

Steering Column - Column Shift: Assembly

    NOTE: Use premium long-life grease to lubricate the steering column lock actuators.
  1. Install the steering column lock actuators.
    1. Install the steering column upper lock actuator.
    2. Install the steering column lower lock actuator.
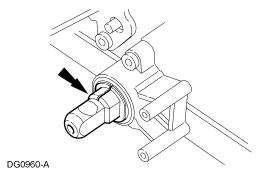
  2. Fig 1: Identifying Steering Column Lock Actuators
    GF0007821Courtesy of FORD MOTOR CO.
    NOTE: Coat all surfaces with premium long-life grease.
  3. Install the steering column lock pawl.
    1. Position the steering column lock pawl.
    2. Drive in the steering column lock lever pin.
  4. Fig 2: Identifying Steering Column Lock Pawl & Lever Pin
    GF0007851Courtesy of FORD MOTOR CO.
  5. Install the steering column lower bearing retainer.
    1. Position the steering column lower bearing retainer.
    2. Install the 2 bolts.
      • Tighten to 9 Nm (80 lb-in).
  6. Fig 3: Identifying Steering Column Lower Bearing Retainer And Bolts
    GF0007822Courtesy of FORD MOTOR CO.
    NOTE: The UP position of the bearing must be facing forward, toward the engine.
    NOTE: Install the steering column lower bearing and sleeve so that the inner race is visible when installed.
  7. Install the steering column lower bearing and sleeve.
    Item Part Number Description
    1 - Outer race
    2 3517 Bearing (in the UP position)
    3 - Ball
    4 - Inner race
  8. Fig 4: Identifying Steering Column Lower Bearing & Sleeve
    GF0007852Courtesy of FORD MOTOR CO.
  9. Install ignition switch.
    1. Align the ignition switch with the slot and index mark on the steering column.
    2. Install the 2 screws and tighten to 6 Nm (53 lb-in).
  10. Fig 5: Identifying Ignition Switch & Screws
    GF0007833Courtesy of FORD MOTOR CO.
  11. Install the transmission control selector lever spring clip and the gearshift lever socket bushings on the shift tube.
    • Coat the gearshift lever socket bushings with premium long-life grease.
  12. Fig 6: Locating Gearshift Lever Socket Bushings And Transmission Control Selector Lever Spring Clip
    GF0007846Courtesy of FORD MOTOR CO.
  13. Install the column shift selector lever plunger.
    • Coat the column shift selector plunger with premium long-life grease.
  14. Fig 7: Locating Column Shift Selector Lever Plunger
    GF0007845Courtesy of FORD MOTOR CO.
  15. Position the gearshift lever in the shift tube.
  16. Fig 8: Locating Gearshift Lever
    G03884935Courtesy of FORD MOTOR CO.
    CAUTION: Gearshift lever pin must be installed correctly or 1st gear position may be blocked.
  17. Install the gearshift lever pin in the shift tube.
  18. Fig 9: Locating Gearshift Lever Pin
    GF0007844Courtesy of FORD MOTOR CO.
  19. Install the gearshift selector tube spring in the shift tube.
    • Coat the end of the spring with premium long-life grease.
  20. Fig 10: Locating Gearshift Selector Tube Spring
    G03884933Courtesy of FORD MOTOR CO.
  21. Install the transmission selector lever arm and support on the shift tube.
    1. Position the transmission selector lever arm and support.
    2. Install the 2 bolts and tighten to 15 Nm (11 lb-ft).
  22. Fig 11: Identifying Transmission Selector Lever Arm & Bolts
    GF0007853Courtesy of FORD MOTOR CO.
  23. Install the shift tube (1).
    1. Position the shift tube.
    2. Position the 2 shift tube clamps (2).
    3. Install the 4 bolts and tighten to 9 Nm (80 lb-in).
  24. Fig 12: Identifying Shift Tube, Shift Tube Clamps And Bolts
    GF0007854Courtesy of FORD MOTOR CO.
  25. Install the brake shift interlock solenoid.
    1. Position the brake shift interlock solenoid.
    2. Install the 3 bolts and tighten to 9 Nm (80 lb-in).
  26. Fig 13: Identifying Brake Shift Interlock Solenoid And Bolts
    GF0007855Courtesy of FORD MOTOR CO.
    CAUTION: Install the upper steering column bearing so that the inner race is visible when installed.
  27. Using an appropriate bearing installer or socket, install the steering column upper bearing on the steering column lock cylinder housing.
    Item Part Number Description
    1 - Outer race
    2 3517 Bearing (in the UP position)
    3 - Ball
    4 - Inner race
  28. Fig 14: Identifying Steering Column Lower Bearing & Sleeve
    GF0007852Courtesy of FORD MOTOR CO.
    Fig 15: Installing Steering Column Bearing In Steering Column Lock Cylinder Housing
    GF0007824Courtesy of FORD MOTOR CO.
    CAUTION: Install the large steering column bearing so that the inner race is visible when installed.
    NOTE: Use an appropriate bearing installer or socket.
  29. Install the steering column lower bearing into the steering column lock cylinder housing.
    Item Part Number Description
    1 - Bearing slot
    2 3511 Steering column lock cylinder housing
    3 - Outer race
    4 - Bearing (in the UP position)
    5 - Ball
    6 - Inner race
  30. Fig 16: Installing Steering Column Bearing In Steering Column Lock Cylinder Housing
    GF0007825Courtesy of FORD MOTOR CO.
    Fig 17: Installing Steering Column Bearing In Steering Column Lock Cylinder Housing
    GF0007826Courtesy of FORD MOTOR CO.
  31. Position the steering column shaft in the steering column lock cylinder housing.
    • Install the steering column bearing tolerance ring on the steering column shaft.
  32. Fig 18: Locating Steering Column Bearing Tolerance Ring
    GF0007827Courtesy of FORD MOTOR CO.
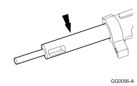
  33. Install the steering column bearing sleeve.
  34. Fig 19: Locating Steering Column Bearing Sleeve
    G04708925Courtesy of FORD MOTOR CO.
  35. Install the steering column upper bearing spring.
  36. Fig 20: Locating Steering Column Bearing Spring
    G03884924Courtesy of FORD MOTOR CO.
  37. Install the snap ring.
  38. Fig 21: Locating Snap Ring
    G03884923Courtesy of FORD MOTOR CO.
  39. Install the turn indicator cancel cam.
  40. Fig 22: Turn Indicator Cancel Cam
    GF0020656Courtesy of FORD MOTOR CO.
  41. Install the lock cylinder housing screws loosely and position the steering actuator housing in a vise.
    • Lubricate the lock cylinder housing screws with premium long-life grease.
  42. Fig 23: Locating Lock Cylinder Housing Screws
    GF0007829Courtesy of FORD MOTOR CO.
    NOTE: Lubricate the lock cylinder housing bushings with premium long-life grease.
  43. Position the steering column lock cylinder housing and the steering column shaft in the steering actuator housing.
    • Make sure the upper and lower steering column lock actuators are aligned.
  44. Fig 24: Locating Upper And Lower Steering Column Lock Actuators
    GF0007830Courtesy of FORD MOTOR CO.
  45. On tilt steering columns, position the steering column locking levers on the steering actuator housing.
    1. Use a shop fabricated tool.
    2. Install and compress the steering column position spring.
  46. Fig 25: Identifying Shop Fabricated Tool & Steering Column Position Spring
    G04309597Courtesy of FORD MOTOR CO.
  47. Position the lock cylinder housing and steering actuator housing. Install the 2 screws and tighten to 22 Nm (16 lb-ft).
  48. Fig 26: Locating Lock Cylinder Housing And Steering Actuator Housing Screw
    GF0007831Courtesy of FORD MOTOR CO.
  49. Install the steering column bearing tolerance ring.
  50. Fig 27: Locating Steering Column Bearing Tolerance Ring
    GF0007856Courtesy of FORD MOTOR CO.
  51. Install the sensor ring.
    1. Install the sensor ring.
    2. Install the steering column lower bearing spring.
  52. Fig 28: Installing Sensor Ring
    GF0007832Courtesy of FORD MOTOR CO.
    NOTE: The narrow section of the keyhole in the lock gear must be in the 1 o'clock position.
  53. Install the steering column lock gear.
    • Use premium long-life grease to coat the steering column lock gear.
  54. Fig 29: Locating Steering Column Lock Gear
    GF0007837Courtesy of FORD MOTOR CO.
  55. Install the steering column lock housing bearing.
    • The narrow section of the keyhole should be in the 1 o'clock position, with the tab inboard at the 3 o'clock position and rotate it counterclockwise.
    • Lubricate the steering column lock housing bearing with premium long-life grease.
  56. Fig 30: Locating Steering Column Lock Housing Bearing
    GF0007857Courtesy of FORD MOTOR CO.
  57. Install the bearing retainer firmly to engage the 4 retention tabs into the lock housing.
  58. Fig 31: Locating Snap Ring
    GF0007835Courtesy of FORD MOTOR CO.
  59. Install the gearshift lever assembly and install the retaining pin.
  60. Fig 32: Gearshift Lever Assembly & Retaining Pin
    GF0020657Courtesy of FORD MOTOR CO.
  61. Attach the steering column gearshift lever seal onto the steering column.
  62. Fig 33: Steering Column Gearshift Lever Seal
    GF0020658Courtesy of FORD MOTOR CO.
  63. Install the multifunction switch and 2 screws.
    • Tighten to 3 Nm (27 lb-in).
  64. Install the clockspring. For additional information, refer to SUPPLEMENTAL RESTRAINT SYSTEM article.
  65. NOTE: When installing the steering column, read and follow the steering column installation instructions and warnings as outlined in this article.
  66. Install the steering column. For additional information, refer to Steering Column  in this article.