lemon-mirror:
Home >> Ford >> 2007 >> Taurus SE >> Repair and Diagnosis >> Transmission >> Automatic Trans >> Automatic Transmission >> Disassembly And Assembly Of Subassemblies >> Final Drive >> Assembly

Final Drive: Assembly

NOTE: If excessive wobble or rotational binding or damage is found, a new final drive planet and carrier will need to be installed.
  1. Inspect the differential pinion and side gears for looseness, discoloration, cracks or excessive gear wear.
    1. Inspect the final drive planet gears.
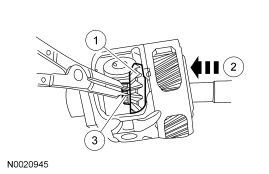
    2. Inspect the pinion shaft bores.
  2. Fig 1: Identifying Pinion Shaft Bore And Final Drive Planet Gears
    GF0020401Courtesy of FORD MOTOR CO.
  3. Install the differential side gear and differential side gear thrust washer.
    1. Install the differential side gear and differential side gear thrust washer.
    2. Install the output shaft.
    3. Install the retaining ring.
  4. Fig 2: Locating Differential Side Gear & Differential Side Gear Thrust Washer
    GF0020402Courtesy of FORD MOTOR CO.
  5. Install the differential side gear and differential side gear thrust washer.
  6. Fig 3: Differential Side Gear & Differential Side Gear Thrust Washer
    GF0020399Courtesy of FORD MOTOR CO.
  7. Install the differential pinion gears and differential pinion thrust washers.
  8. Fig 4: Differential Pinion Gear & Differential Pinion Thrust Washer
    GF0020403Courtesy of FORD MOTOR CO.
  9. Install the differential pinion shaft.
  10. Fig 5: Differential Pinion Shaft
    GF0020404Courtesy of FORD MOTOR CO.
  11. Install the differential pinion shaft roll pin.
  12. Fig 6: Differential Pinion Shaft Roll Pin
    GF0020405Courtesy of FORD MOTOR CO.
  13. Install the final drive sun gear and deflector assembly.
  14. Fig 7: Final Drive Sun Gear & Deflector
    GF0020395Courtesy of FORD MOTOR CO.
  15. Install the park gear.
  16. Fig 8: Park Gear
    GF0020394Courtesy of FORD MOTOR CO.
  17. Install the No. 16 final drive gear front thrust bearing.
  18. Fig 9: No. 16 Final Drive Gear Front Thrust Bearing
    GF0020393Courtesy of FORD MOTOR CO.
  19. Install new retaining circle clips.
  20. Fig 10: Retaining Circlips
    GF0020406Courtesy of FORD MOTOR CO.
  21. Install the low intermediate clutch piston and rear planet support.
  22. Fig 11: Locating Low Intermediate Clutch Piston
    GF0020407Courtesy of FORD MOTOR CO.