lemon-mirror:
Home >> Ford >> 2007 >> Taurus SE >> Repair and Diagnosis >> Transmission >> Automatic Trans >> Automatic Transmission >> Disassembly And Assembly Of Subassemblies >> Final Drive >> Disassembly

Final Drive: Disassembly

  1. Remove the No. 16 final drive gear front thrust bearing.
  2. Fig 1: No. 16 Final Drive Gear Front Thrust Bearing
    GF0020393Courtesy of FORD MOTOR CO.
  3. Remove the park gear.
  4. Fig 2: Park Gear
    GF0020394Courtesy of FORD MOTOR CO.
  5. Remove the final drive sun gear and deflector.
  6. Fig 3: Final Drive Sun Gear & Deflector
    GF0020395Courtesy of FORD MOTOR CO.
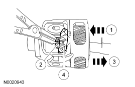
  7. Remove the differential pinion shaft roll pin.
  8. Fig 4: Differential Pinion Shaft Roll Pin
    GF0020396Courtesy of FORD MOTOR CO.
  9. Remove the differential pinion shaft.
  10. Fig 5: Differential Pinion Shaft
    GF0020397Courtesy of FORD MOTOR CO.
  11. Rotate the output shaft and remove the differential pinion gear, and the differential pinion thrust washers.
  12. Fig 6: Differential Pinion Gear & Differential Pinion Thrust Washer
    GF0020398Courtesy of FORD MOTOR CO.
  13. Remove the differential side gear and differential side gear thrust washer.
  14. Fig 7: Differential Side Gear & Differential Side Gear Thrust Washer
    GF0020399Courtesy of FORD MOTOR CO.
  15. Remove the differential side gear and differential side gear thrust washer.
    1. Move the output shaft.
    2. Use the snap ring pliers to remove the retaining ring.
    3. Remove the output shaft.
    4. Remove the differential side gear and differential side gear thrust washer.
  16. Fig 8: Removing Differential Side Gear & Differential Side Gear Thrust Washer
    GF0020400Courtesy of FORD MOTOR CO.