lemon-mirror:
Home >> Ford >> 2007 >> Taurus SE >> Repair and Diagnosis >> Transmission >> Automatic Trans >> Automatic Transmission >> Disassembly >> Transaxle

Automatic Transmission: Disassembly: Transaxle

Special Tools

Illustration Tool Name Tool Number
GF0000218
Slide Hammer 100-001 (T50T-100-A)
GF0008006
Remover, O-Ring Seal 100-010 (T71P-19703-C)
GF0020135
Step Plate 205-D014 (D80L-630-3)
GF0000247
Remover, Crankshaft Front Oil Seal 303-107 (T74P-6700-A)
GF0020136
Installer Front Cover Oil Seal 303-335 (T88T-6701-A)
GF0007324
Actuator Pin 3/16-Inch Diameter 303-D011 (D80L-100-G)
GF0020179
Collet 7/16-Inch - 1/2-Inch 303-D016 (D80L-100-M)
GF0000940
Holding Fixture Transmission 307-003 (T57L-500-B)
GF0003558
Slide Hammer 307-005 (T59L-100-B)
GF0000942
Handle, Torque Converter 307-091 (T81P-7902-C)
GF0020180
Lifting Fixture, Clutch Pack 307-171 (T86P-70389-A)
GF0003517
Remover/Installer, Servo Piston 307-251 (T92P-70023-A)
GF0009783
Remover, Torque Converter Fluid Seal 307-309 (T94P-77001-BH)
GF0020181
Remover, Lube Tube 307-310 (T94P-77001-CH)
GF0020182
Remover/Installer, Front Clutch 307-316 (T94P-77001-HH)
GF0006856
Retaining Ring Pliers 307-343 (T95P-77001-AHR)
    CAUTION: The torque converter is heavy. Be careful not to drop it or damage will result.
  1. Using the special tools, remove the torque converter.
  2. Fig 1: Identifying Special Tool (307-091)
    GF0020183Courtesy of FORD MOTOR CO.
  3. Using the special tool, install the transaxle into the bench.
  4. Fig 2: Identifying Special Tool (307-003)
    GF0020184Courtesy of FORD MOTOR CO.
    NOTE: When installing a new case, the identification tag must be transferred to the new case, use caution to prevent damage to the tag.
  5. Remove the identification tag.
  6. Fig 3: Identification Tag
    GF0020185Courtesy of FORD MOTOR CO.
  7. Place a drain pan under the transaxle and rotate the transaxle to a vertical position.
  8. Fig 4: Placing Drain Pan Under Transaxle
    GF0020186Courtesy of FORD MOTOR CO.
  9. Remove the filler tube.
  10. Fig 5: Locating Filler Tube Mounting Bolt
    GF0020187Courtesy of FORD MOTOR CO.
    CAUTION: The overdrive band servo spring cover is under spring tension. Care must be taken when removing as components can be ejected from the case.
  11. Remove the overdrive servo piston and rod.
    • Remove the bolts.
    • Remove the cover.
    • Remove the piston and rod.
  12. Fig 6: Locating Overdrive Servo Piston And Rod
    GF0020188Courtesy of FORD MOTOR CO.
  13. Remove the output shaft speed (OSS) sensor cover.
  14. Fig 7: Locating Output Shaft Speed (OSS) Sensor Cover
    GF0020189Courtesy of FORD MOTOR CO.
  15. Remove the OSS sensor.
    • Unclip the harness.
    • Remove the OSS sensor.
  16. Fig 8: Locating Output Shaft Speed (OSS) Sensor
    GF0020190Courtesy of FORD MOTOR CO.
  17. Remove the digital TR sensor.
    1. Remove the 2 bolts.
    2. Remove the digital TR sensor.
  18. Fig 9: Locating Digital TR Sensor & Bolts
    GF0020191Courtesy of FORD MOTOR CO.
  19. Remove the TSS sensor.
    1. Remove the TSS sensor bolt.
    2. Remove the TSS sensor.
  20. Fig 10: Locating TSS Sensor & Bolt
    GF0020192Courtesy of FORD MOTOR CO.
    NOTE: The differential seal is a 2-piece constructed seal.
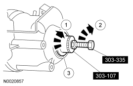
  21. Using the special tools, remove the LH differential seal.
  22. Fig 11: Removing LH Differential Seal Using Special Tool (303-107) And (303-335)
    GF0020140Courtesy of FORD MOTOR CO.
  23. Using the special tools, remove the LH differential seal metal protector.
    1. Rotate the front crankshaft oil seal remover.
    2. Rotate the forcing screw while holding the front crankshaft oil seal remover.
    3. Remove the metal protector from the LH differential seal and remove the protector from the tool.
  24. Fig 12: Removing LH Differential Seal Metal Protector Using Special Tool (303-107) And (303-335)
    GF0020141Courtesy of FORD MOTOR CO.
  25. Using the special tools, remove the rubber portion of the LH differential seal.
    1. Install the special tool into the LH differential seal.
    2. Rotate the forcing screw while holding the front crankshaft oil seal remover.
    3. Remove the rubber portion of the seal.
  26. Fig 13: Removing Rubber Portion Of LH Differential Seal Using Special Tool (303-107) And (303-335)
    GF0020142Courtesy of FORD MOTOR CO.
  27. Install the special tool into the RH differential seal.
  28. Fig 14: Installing Special Tool (303-107), (205-D014) And (303-335) Into RH Differential Seal
    GF0020143Courtesy of FORD MOTOR CO.
  29. Using the special tools, remove the RH differential seal metal protector.
    1. Rotate the front crankshaft oil seal remover.
    2. Rotate the forcing screw while holding the front crankshaft oil seal remover.
    3. Remove the metal protector of the seal.
  30. Fig 15: Removing RH Differential Seal Metal Protector Using Special Tool (303-107) And (303-335)
    GF0020144Courtesy of FORD MOTOR CO.
  31. Using the special tool, remove the rubber portion of the seal.
    1. Rotate the front crankshaft oil seal remover.
    2. Rotate the forcing screw while holding the front crankshaft oil seal remover.
    3. Remove the rubber portion of the seal.
  32. Fig 16: Removing Rubber Portion Of Seal Using Special Tool (303-107) And (303-335)
    GF0020145Courtesy of FORD MOTOR CO.
    CAUTION: Using the special tool, remove the converter hub seal. Stator support surface will be damaged if any other type tool is used. Stator support surface damage will cause a P0741 code to be set after repairs.
  33. Using the special tools, remove the converter hub seal.
  34. Fig 17: Removing Converter Hub Seal Using Special Tool (307-309) And (100-001)
    GF0020193Courtesy of FORD MOTOR CO.
  35. Remove the bolts.
  36. Fig 18: Locating Converter Housing Bolts And Special Tool (307--003)
    GF0020194Courtesy of FORD MOTOR CO.
  37. Rotate the transaxle to a horizontal position.
  38. Remove the mount bracket.
  39. Fig 19: Locating Rear Engine Support Mount Bracket Bolts
    GF0020177Courtesy of FORD MOTOR CO.
    NOTE: The main control cover gasket is reusable if not torn or damaged.
  40. Remove the 15 transaxle side pan bolts and remove the transaxle side pan and gasket.
  41. Fig 20: Locating Remaining Bolts & Main Control Cover
    GF0020118Courtesy of FORD MOTOR CO.
    CAUTION: Do not pull on the wires or pry the connectors. Damage to the connector will result.
  42. Lift the locking tab and disconnect the electrical connectors.
  43. Fig 21: Electrical Connectors
    GF0020119Courtesy of FORD MOTOR CO.
    NOTE: The manual valve should be inserted completely.
  44. Using a 9-mm wrench, rotate the manual control lever to the low detent.
  45. Fig 22: Manual Control Lever To Low Detent Position
    GF0020195Courtesy of FORD MOTOR CO.
    CAUTION: Do not remove the 2 bolts that hold the pump assembly and main control valve body together as the pump assembly may fall from the main control valve body.
    CAUTION: Only 4 of the 6 pump cover bolts must be removed.
  46. Remove the bolts.
  47. Fig 23: Locating Bolts
    GF0020120Courtesy of FORD MOTOR CO.
  48. Remove the main control valve body.
    • Remove the pump assembly and main control valve body.
    • Rotate the main control valve body while lifting off.
  49. Fig 24: Main Pump Assembly & Main Control Valve Body
    GF0020121Courtesy of FORD MOTOR CO.
  50. Disconnect the manual control valve actuating rod.
  51. Fig 25: Manual Control Valve Actuating Rod
    GF0020196Courtesy of FORD MOTOR CO.
  52. Remove the pump shaft.
  53. Fig 26: Pump Shaft
    GF0020197Courtesy of FORD MOTOR CO.
    NOTE: The transaxle pan gasket is reusable if not torn or damaged.
  54. Remove the bolts, transmission fluid pan and gasket.
  55. Fig 27: Locating Transmission Fluid Pan And Gasket
    GF0020198Courtesy of FORD MOTOR CO.
  56. Remove, clean and inspect the magnet.
  57. Fig 28: Locating Fluid Pan Magnet
    GF0020199Courtesy of FORD MOTOR CO.
  58. Remove the filter.
  59. Fig 29: Transmission Filter
    GF0020200Courtesy of FORD MOTOR CO.
    NOTE: Use a 3/8-inch extension so as not to damage the case while removing the fluid filter seal.
  60. Remove the fluid filter seal.
  61. Fig 30: Removing Filter Seal
    GF0020201Courtesy of FORD MOTOR CO.
  62. Loosen the nut and remove the reverse clutch anchor pin.
  63. Fig 31: Reverse Clutch Anchor Pin
    GF0020202Courtesy of FORD MOTOR CO.
    CAUTION: The chain cover is under spring pressure. Care must be taken to prevent internal parts from being ejected.
    NOTE: Mark bolt size and location for assembly.
  64. Remove the bolts.
  65. Fig 32: Bolts
    GF0020203Courtesy of FORD MOTOR CO.
    NOTE: Plastic thrust washers No. 1 and No. 3 may stick to the cover or to the sprockets.
  66. Remove the chain cover and gasket.
  67. Fig 33: Removing Chain Cover & Gasket
    GF0020204Courtesy of FORD MOTOR CO.
  68. Remove the shift accumulator springs.
    1. Remove the 1-2 shift accumulator piston spring.
    2. Remove the 2-3 shift accumulator piston spring.
    3. Remove the reverse shift accumulator piston spring.
    4. Remove the 3-4 shift accumulator piston spring.
  69. Fig 34: Identifying Shift Accumulator Springs
    GF0020205Courtesy of FORD MOTOR CO.
    CAUTION: Be careful not to damage or bend the tabs on the exciter ring or the TSS sensor will not operate.
  70. Remove the drive sprocket, driven sprocket and drive chain as an assembly.
  71. Fig 35: Drive Sprocket, Driven Sprocket & Drive Chain
    GF0020206Courtesy of FORD MOTOR CO.
    NOTE: The thrust washers may remain on the sprockets.
  72. Remove the thrust washers.
    1. Remove the No. 2 thrust washer.
    2. Remove the No. 4 thrust washer.
  73. Fig 36: Identifying No. 2 Thrust Washer & No. 4 Thrust Washer
    GF0020207Courtesy of FORD MOTOR CO.
    CAUTION: Use care not to damage the machined surface of the case.
    NOTE: The position of the manual valve detent lever is different than past models. The roll pin and shoulder point toward the driven sprocket support. Note the position of the lever during disassembly for correct assembly.
  74. Remove the roll pins.
  75. Fig 37: Locating Roll Pins
    GF0020208Courtesy of FORD MOTOR CO.
    NOTE: The position of the manual valve detent lever is different than past models. The roll pin and shoulder point toward the driven sprocket support. Note the position of the lever during disassembly for correct assembly.
  76. Remove the manual control lever shaft.
  77. Fig 38: Locating Manual Control Lever Shaft
    GF0020209Courtesy of FORD MOTOR CO.
  78. Remove the parking lever actuating rod.
  79. Fig 39: Parking Lever Actuating Rod
    GF0020210Courtesy of FORD MOTOR CO.
  80. Remove the manual control lever shaft seal.
  81. Fig 40: Manual Control Lever Shaft Seal
    GF0020211Courtesy of FORD MOTOR CO.
    NOTE: During the complete disassembly of the transaxle, the fluid transfer tubes must be removed.
  82. Remove the bolts and brackets.
  83. Fig 41: Fluid Transfer Tube Brackets
    GF0020212Courtesy of FORD MOTOR CO.
  84. Using the special tools, remove the fluid lube tubes.
  85. Fig 42: Removing Fluid Lube Tubes Using Special Tool (307-005) And (307-310)
    GF0020213Courtesy of FORD MOTOR CO.
  86. Remove the bolts and the park pawl abutment.
  87. Fig 43: Locating Park Pawl Abutment Bolts
    GF0020214Courtesy of FORD MOTOR CO.
  88. Remove the neutral/drive accumulator bolt.
  89. Fig 44: Neutral/Drive Accumulator Bolt
    GF0020215Courtesy of FORD MOTOR CO.
  90. Remove the neutral/drive accumulator.
    1. Remove the cover.
    2. Remove the springs.
    3. Remove the piston and shaft.
  91. Fig 45: Neutral/Drive Accumulator, Spring & Cover
    GF0020216Courtesy of FORD MOTOR CO.
  92. Using the special tool, remove the coast band servo.
    1. Install the special tool.
    2. Remove the snap ring.
    3. Remove the cover, piston and rod as an assembly.
  93. Fig 46: Removing Coast Band Servo Using Special Tool (307-251)
    GF0020217Courtesy of FORD MOTOR CO.
    NOTE: The No. 5 thrust washer may stick to the drive sprocket support.
  94. Remove the drive sprocket support and the No. 5 thrust washer.
  95. Fig 47: Drive Sprocket Support & No. 5 Thrust Washer
    GF0020218Courtesy of FORD MOTOR CO.
    NOTE: The No. 8 thrust washer and the No. 9 thrust bearing may remain on the drive sprocket support and driven sprocket.
  96. Using the special tool, remove the No. 8 driven sprocket support selective fit rear thrust washer and the No. 9 needle bearing.
  97. Fig 48: No. 8 Thrust Washer & No. 9 Thrust Bearing
    GF0020219Courtesy of FORD MOTOR CO.
  98. Remove the plastic overdrive band retainer.
  99. Fig 49: Plastic Overdrive Band Retainer
    GF0020220Courtesy of FORD MOTOR CO.
  100. Remove the overdrive band.
  101. Fig 50: Overdrive Band
    GF0020221Courtesy of FORD MOTOR CO.
    NOTE: Do not overtighten the handle of the tool. Place two 3/8-inch washers between the handle and the notched block.
  102. Position the special tool into the case and install the hook end of tool into one of the lube holes in the front sun shell. Position the block over the edge of the assembly and tighten the handle.
  103. Fig 51: Identifying Special Tool (307-171)
    GF0020222Courtesy of FORD MOTOR CO.
  104. Using the special tool, remove the front clutch assembly.
  105. Fig 52: Removing Front Clutch Assembly Using Special Tool (307-171)
    GF0020223Courtesy of FORD MOTOR CO.
  106. Using the special tools, remove the reverse clutch and planet assembly.
  107. Fig 53: Removing Reverse Clutch And Planet Assembly Using Special Tool (307-171) And (307-316)
    GF0020224Courtesy of FORD MOTOR CO.
  108. Remove the low/intermediate drum, sun gear and one-way clutch assembly.
  109. Fig 54: Low/Intermediate Drum, Sun Gear & One-Way Clutch Assembly
    GF0020225Courtesy of FORD MOTOR CO.
  110. Remove the coast band.
  111. Fig 55: Coast Band
    GF0020226Courtesy of FORD MOTOR CO.
    CAUTION: Use care not to damage any machined surfaces.
  112. Remove the low/intermediate clutch retaining ring.
  113. Fig 56: Low/Intermediate Clutch Retaining Ring
    GF0020227Courtesy of FORD MOTOR CO.
  114. Remove the low/intermediate clutch pack.
    1. Remove the low/intermediate clutch pressure plate.
    2. Remove the low/intermediate clutch plates.
    3. Remove the low/intermediate clutch cushion spring.
  115. Fig 57: Low/Intermediate Clutch Pack Components
    GF0020228Courtesy of FORD MOTOR CO.
    WARNING: Use caution when unloading the beveled retaining ring. Personal injury could occur.
    CAUTION: Use care not to damage final drive support assembly, transaxle case or retaining ring during removal.
  116. Using the special tool, remove the beveled retaining ring and record the shape of the ring end.
  117. Fig 58: Removing Beveled Retaining Ring Using Special Tool (307-343)
    GF0020229Courtesy of FORD MOTOR CO.
  118. Remove the final drive differential and rear planet support assembly.
  119. Fig 59: Identifying Final Drive Differential And Rear Planet Support Assembly
    GF0020230Courtesy of FORD MOTOR CO.
    NOTE: The differential carrier thrust washer may remain on the differential assembly.
  120. Remove the differential carrier thrust washer.
    1. Remove the No. 18 differential carrier thrust washer.
    2. Remove the No. 19 differential carrier thrust bearing and race.
  121. Fig 60: Identifying No. 18 Differential Carrier Thrust Washer, No. 19 Carrier Thrust Bearing And Race
    GF0020231Courtesy of FORD MOTOR CO.
  122. Remove the rear planet support spacer.
  123. Fig 61: Rear Planet Support Spacer
    GF0020232Courtesy of FORD MOTOR CO.
  124. Remove the final drive ring gear.
  125. Fig 62: Locating Final Drive Ring Gear
    GF0020233Courtesy of FORD MOTOR CO.
  126. Inspect the bearing in the stator support for damage. If damage is indicated, install a new stator support.
  127. Fig 63: Locating Stator Support
    GF0020234Courtesy of FORD MOTOR CO.
  128. Remove the bolts.
  129. Fig 64: Bolts
    GF0020235Courtesy of FORD MOTOR CO.
  130. Remove the stator support assembly.
  131. Fig 65: Stator Support Assembly
    GF0020236Courtesy of FORD MOTOR CO.
    NOTE: The following procedures are done only if a case replacement is necessary.
  132. Remove the park pawl shaft retaining pin.
  133. Fig 66: Park Pawl Shaft Retaining Pin
    GF0020237Courtesy of FORD MOTOR CO.
  134. Using the special tools, remove the cup plug.
  135. Fig 67: Removing Cup Plug Using Special Tool (303-D011), (303-D016) And (100-001)
    GF0020238Courtesy of FORD MOTOR CO.
  136. Remove the parking pawl.
    1. Use a magnet to remove the parking pawl shaft.
    2. Remove the parking pawl and return spring.
  137. Fig 68: Identifying Parking Pawl Shaft And Return Spring
    GF0020239Courtesy of FORD MOTOR CO.