lemon-mirror:
Home >> Ford >> 2008 >> Taurus Limited, FWD >> Repair and Diagnosis >> Engine Mechanical >> Mechanical >> Engine >> Disassembly >> Engine

Engine Mechanical: Mechanical: Engine: Disassembly: Engine

Special Tools

Illustration Tool Name Tool Number
GF0000311
3-Jaw Puller 303-D121
GF0029191
Camshaft Alignment Tool 303-1248
GF0000811
Handle 205-153 (T80T-4000-W)
GF0000317
Remover, Crankshaft Rear Oil Seal 303-519 (T95P-6701-EH)
GF0000249
Remover, Oil Seal 303-409 (T92C-6700CH)
GF0029086
Remover, Seal 303-1247/1
GF0003558
Slide Hammer 307-005 (T59L-100-B)
GF0000246
Strap Wrench 303-D055 (D85L-6000-A)
Material

Item Specification
Motorcraft Metal Surface Prep
ZC-31-A
-
Silicone Gasket Remover
ZC-30
-
CAUTION: During engine repair procedures, cleanliness is extremely important. Any foreign material, including any material created while cleaning gasket surfaces that enters the oil passages, coolant passages or the oil pan, may cause engine failure.
NOTE: For additional information, refer to the exploded view under the Assembly procedure.

All vehicles 

  1. Remove the 8 bolts and the flexplate.
  2. Fig 1: Identifying Flexplate & Bolts
    GF0031416Courtesy of FORD MOTOR CO.
  3. Remove the crankshaft sensor ring.
  4. Fig 2: Identifying Crankshaft Sensor Ring
    GF0029263Courtesy of FORD MOTOR CO.
  5. Using the special tools, remove and discard the rear crankshaft seal.
  6. Fig 3: Removing Crankshaft Rear Seal Using Special Tools (303-519) & (307-005)
    GF0029110Courtesy of FORD MOTOR CO.
    NOTE: Install the engine stand bolts into the cylinder block only. Do not install the bolts into the oil pan.
  7. Mount the engine on a suitable engine stand.
  8. If equipped, remove the heat shield and disconnect the block heater electrical connector.
    • Detach all of the engine block heater harness retainers and remove the harness.
  9. Fig 4: Identifying Block Heater Wiring Harness
    GF0029221Courtesy of FORD MOTOR CO.
  10. If equipped, disconnect the heated PCV electrical connector.
  11. Fig 5: Identifying Positive Crankcase Ventilation (PCV) Fitting Electrical Connector
    GF0029167Courtesy of FORD MOTOR CO.
  12. Disconnect the PCV hose from the PCV valve.
  13. Fig 6: Identifying PCV Hose From PCV Valve
    GF0029168Courtesy of FORD MOTOR CO.
  14. Disconnect the throttle body (TB) electrical connector.
  15. Fig 7: Locating Throttle Body Electrical Connector
    GF0029169Courtesy of FORD MOTOR CO.
  16. Detach the wiring harness retainers from the upper intake manifold.
  17. Fig 8: Locating Wiring Harness Retainers From Upper Intake Manifold
    GF0029170Courtesy of FORD MOTOR CO.
  18. If equipped, remove the upper intake manifold long support bracket bolt.
  19. Fig 9: Locating Upper Intake Manifold Support Bracket Bolt
    GF0029171Courtesy of FORD MOTOR CO.
  20. Remove the upper intake manifold short support bracket bolt.
  21. Fig 10: Locating Upper Intake Manifold Support Bracket Bolt
    GF0029172Courtesy of FORD MOTOR CO.
  22. Remove the wire harness pin-type retainer and the fuel tube bracket bolt from the upper intake manifold.
  23. Fig 11: Identifying Pin-Type Retainer And Fuel Tube Bracket Bolt
    GF0045678Courtesy of FORD MOTOR CO.
  24. Remove the 6 bolts and the upper intake manifold.
    • Discard the gaskets.
  25. Fig 12: Identifying Upper Intake Manifold Bolts
    GF0029173Courtesy of FORD MOTOR CO.
  26. Disconnect the fuel efficient power steering system solenoid electrical connector.
  27. Fig 13: Identifying Connector
    GF0045632Courtesy of FORD MOTOR CO.
  28. Disconnect the power steering pressure (PSP) switch electrical connector.
  29. Fig 14: Identifying PSP Connector
    GF0045633Courtesy of FORD MOTOR CO.

    Front wheel drive (FWD) vehicles 

  30. Disconnect the RH catalyst monitor sensor electrical connector.
  31. Fig 15: Locating RH Catalyst Monitor Electrical Connector
    GF0029150Courtesy of FORD MOTOR CO.

    All vehicles 

  32. Disconnect the RH heated oxygen sensor (HO2S) electrical connector.
  33. Fig 16: Locating RH Heated Oxygen Sensor (HO2S) Electrical Connector
    GF0029222Courtesy of FORD MOTOR CO.
  34. Disconnect the RH variable camshaft timing (VCT) solenoid electrical connector.
  35. Fig 17: Locating RH Variable Camshaft Timing (VCT) Solenoid Electrical Connector
    GF0029175Courtesy of FORD MOTOR CO.
  36. Disconnect the 3 RH coil-on-plug electrical connectors.
  37. Fig 18: Locating RH Coil-On-Plug Electrical Connectors
    GF0029176Courtesy of FORD MOTOR CO.
  38. If equipped, disconnect the heated PCV valve electrical connector.
  39. Fig 19: Locating Heated PCV Valve Electrical Connector
    GF0029177Courtesy of FORD MOTOR CO.
  40. Detach all of the wiring harness retainers from the RH valve cover and stud bolts.
  41. Disconnect the RH camshaft position (CMP) sensor electrical connector.
  42. Fig 20: Locating RH Camshaft Position (CMP) Sensor Electrical Connector
    GF0029224Courtesy of FORD MOTOR CO.
  43. Disconnect the knock sensor (KS) electrical connector.
  44. Fig 21: Locating Knock Sensor (KS) Electrical Connector
    GF0029274Courtesy of FORD MOTOR CO.
  45. Remove the bolt and the ground cable from the RH cylinder.
  46. Fig 22: Identifying Bolt
    GF0045681Courtesy of FORD MOTOR CO.
  47. Disconnect the 6 fuel injector electrical connectors (3 shown).
  48. Fig 23: Locating Fuel Injector Electrical Connectors
    GF0029226Courtesy of FORD MOTOR CO.
  49. Disconnect the cylinder head temperature (CHT) sensor electrical connector.
  50. Fig 24: Locating Cylinder Head Temperature (CHT) Sensor Electrical Connector
    GF0029227Courtesy of FORD MOTOR CO.
  51. Disconnect the LH CMP sensor electrical connector.
  52. Fig 25: Locating LH CMP Sensor Electrical Connector
    GF0029253Courtesy of FORD MOTOR CO.
  53. Disconnect the LH catalyst monitor sensor electrical connector.
  54. Fig 26: Identifying LH Catalyst Monitor Sensor Electrical Connector
    GF0041326Courtesy of FORD MOTOR CO.
  55. Disconnect the LH HO2S electrical connector.
  56. Fig 27: Locating LH Heated Oxygen Sensor (HO2S) Electrical Connector
    GF0029254Courtesy of FORD MOTOR CO.
  57. Disconnect the 3 LH coil-on-plug electrical connectors.
  58. Fig 28: Locating LH Coil-On-Plug Electrical Connectors
    GF0029179Courtesy of FORD MOTOR CO.
  59. Disconnect the LH VCT solenoid electrical connector.
  60. Fig 29: Locating LH VCT Solenoid Electrical Connector
    GF0029178Courtesy of FORD MOTOR CO.
  61. Detach all of the wiring harness retainers from the LH valve cover and stud bolts.
  62. Remove the nut, the bolt and the heat shield.
  63. Fig 30: Identifying Heat Shield, Nut & Bolt
    GF0029275Courtesy of FORD MOTOR CO.
  64. Remove the wiring harness retainer stud bolt.
  65. Fig 31: Identifying Wiring Harness Retainer Stud Bolt
    GF0029276Courtesy of FORD MOTOR CO.
  66. Remove the wiring harness grommet.
  67. Fig 32: Identifying Wiring Harness Grommet
    GF0029277Courtesy of FORD MOTOR CO.
  68. Disconnect the crankshaft position (CKP) sensor electrical connector.
  69. Fig 33: Identifying Crankshaft Position (CKP) Sensor Electrical Connector
    GF0029270Courtesy of FORD MOTOR CO.
  70. Disconnect the A/C compressor electrical connector.
    • Detach the A/C compressor wiring harness retainer.
  71. Fig 34: Identifying Connector And Retainer
    GF0045686Courtesy of FORD MOTOR CO.
  72. Remove the nut and disconnect the generator B+ cable.
  73. Fig 35: Identifying Generator B+ Cable & Nut
    GF0029247Courtesy of FORD MOTOR CO.
  74. Disconnect the generator electrical connector.
  75. Fig 36: Identifying Generator Electrical Connector
    GF0029248Courtesy of FORD MOTOR CO.
  76. Disconnect the engine oil pressure (EOP) switch electrical connector and the wiring harness pin-type retainer.
    • Remove the wiring harness from the engine.
  77. Fig 37: Locating Engine Oil Pressure (EOP) Switch Electrical Connector & Wiring Harness Pin-Type Retainer
    GF0029278Courtesy of FORD MOTOR CO.
  78. Remove the nut, 2 bolts and the A/C compressor.
  79. Fig 38: Locating A/C Compressor, Bolts & Nuts
    GF0031415Courtesy of FORD MOTOR CO.
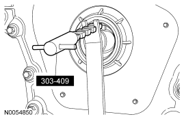
  80. Remove the A/C compressor mounting stud from the oil pan.
  81. Fig 39: Locating A/C Compressor Mounting Stud
    GF0029281Courtesy of FORD MOTOR CO.
  82. Remove the nut, bolt and the generator.
  83. Fig 40: Locating Generator, Bolts & Nuts
    GF0029250Courtesy of FORD MOTOR CO.
  84. Remove the PSP tube bracket-to-power steering pump bolt.
  85. Fig 41: Identifying Bracket-To-Power Steering Pump Bolt
    GF0045634Courtesy of FORD MOTOR CO.
  86. Remove the nut and the PSP tube bracket from the RH valve cover stud bolt.
  87. Fig 42: Identifying Nut And PSP Tube Bracket
    GF0045679Courtesy of FORD MOTOR CO.
  88. Remove the bolt and the PSP tube bracket from the RH cylinder head.
  89. Fig 43: Identifying Bolt
    GF0045680Courtesy of FORD MOTOR CO.
  90. Remove the 3 bolts and position aside the power steering pump.
  91. Fig 44: Identifying Bolts
    GF0045635Courtesy of FORD MOTOR CO.
  92. Remove the 3 bolts and the accessory drive belt tensioner.
  93. Fig 45: Locating Accessory Drive Belt Tensioner Bolts
    GF0029185Courtesy of FORD MOTOR CO.
  94. Remove the 4 nuts (3 shown) and the LH catalytic converter.
    • Discard the nuts and the gasket.
  95. Fig 46: Locating LH Catalytic Converter Nuts
    GF0029230Courtesy of FORD MOTOR CO.
  96. Remove the 3 bolts and the LH exhaust manifold heat shield.
  97. Fig 47: Locating LH Exhaust Manifold Heat Shield & Nuts
    GF0029256Courtesy of FORD MOTOR CO.
  98. Remove the 6 nuts and the LH exhaust manifold.
    • Discard the nuts and exhaust manifold gaskets.
  99. Fig 48: Locating LH Exhaust Manifold Nuts
    GF0029257Courtesy of FORD MOTOR CO.
  100. Clean and inspect the LH exhaust manifold. For additional information, refer to ENGINE SYSTEM - GENERAL INFORMATION article.
  101. Remove and discard the 6 LH exhaust manifold studs.
  102. Fig 49: Locating LH Exhaust Manifold Studs
    GF0029116Courtesy of FORD MOTOR CO.

    FWD vehicles 

  103. Remove the 4 nuts and the RH catalytic converter.
    • Discard the nuts and the gasket.
  104. Fig 50: Identifying Nuts
    GF0045670Courtesy of FORD MOTOR CO.

    All vehicles 

  105. Remove the 3 bolts and the RH exhaust manifold heat shield.
  106. Fig 51: Locating RH Exhaust Manifold Heat Shield & Nuts
    GF0029233Courtesy of FORD MOTOR CO.
  107. Remove the 6 nuts and the RH exhaust manifold.
    • Discard the nuts and exhaust manifold gaskets.
  108. Fig 52: Locating RH Exhaust Manifold & Nuts
    GF0029234Courtesy of FORD MOTOR CO.
  109. Clean and inspect the RH exhaust manifold. For additional information, refer to ENGINE SYSTEM - GENERAL INFORMATION article.
  110. Remove and discard the 6 RH exhaust manifold studs.
  111. Fig 53: Locating RH Exhaust Manifold Studs
    GF0029119Courtesy of FORD MOTOR CO.
  112. Remove the RH cylinder block drain plug or, if equipped, the block heater.
    • Allow coolant to drain from the cylinder block.
  113. Fig 54: Locating RH Cylinder Block Drain Plug
    GF0029232Courtesy of FORD MOTOR CO.
  114. Remove the LH cylinder block drain plug.
    • Allow coolant to drain from the cylinder block.
  115. Fig 55: Locating LH Cylinder Block Drain Plug
    GF0029231Courtesy of FORD MOTOR CO.
  116. Remove the pin-type retainer and the cover.
  117. Fig 56: Locating Pin-Type Retainer & Cover
    GF0029282Courtesy of FORD MOTOR CO.
  118. Remove the 2 bolts and the engine lifting eye.
  119. Fig 57: Locating Engine Lifting Eye & Bolts
    GF0029236Courtesy of FORD MOTOR CO.
  120. If equipped, remove the bolt and the upper intake manifold long support bracket.
  121. Fig 58: Locating Upper Intake Manifold Bracket & Bolt
    GF0029237Courtesy of FORD MOTOR CO.
  122. Remove the bolt and the upper intake manifold short support bracket.
  123. Fig 59: Locating Upper Intake Manifold Bracket & Bolt
    GF0029238Courtesy of FORD MOTOR CO.
  124. Remove the bolt and the RH CMP sensor.
  125. Fig 60: Locating RH CMP Sensor & Bolt
    GF0029239Courtesy of FORD MOTOR CO.
  126. Remove the coolant by-pass hose from the thermostat housing.
  127. Fig 61: Identifying Coolant By-Pass Hose
    GF0045683Courtesy of FORD MOTOR CO.
  128. Remove the 4 bolts and the fuel rail and injectors as an assembly.
  129. Fig 62: Locating Fuel Rail And Injectors & Bolts
    GF0029240Courtesy of FORD MOTOR CO.
  130. Remove the 3 thermostat housing-to-lower intake manifold bolts.
    • Remove the thermostat housing and discard the gasket.
  131. Fig 63: Locating Thermostat Housing-To-Lower Intake Manifold Bolts
    GF0031413Courtesy of FORD MOTOR CO.
  132. Remove the 10 bolts and the lower intake manifold.
    • Discard the gaskets.
  133. Fig 64: Locating Lower Intake Manifold Bolts
    GF0029242Courtesy of FORD MOTOR CO.
  134. Disconnect and remove the CHT sensor jumper harness.
  135. Fig 65: Identifying CHT Sensor Jumper Harness
    GF0029243Courtesy of FORD MOTOR CO.
  136. Remove the bolt and the LH CMP sensor.
  137. Fig 66: Locating LH CMP Sensor & Bolt
    GF0029258Courtesy of FORD MOTOR CO.
  138. Remove the bolt and the CKP sensor.
  139. Fig 67: Identifying CKP Sensor & Bolt
    GF0029271Courtesy of FORD MOTOR CO.
  140. Remove the EOP switch.
  141. Fig 68: Identifying EOP Switch
    GF0029284Courtesy of FORD MOTOR CO.
  142. Remove the 2 bolts and the oil filter adapter.
    • Discard the gasket and O-ring seal (on banjo bolt).
  143. Fig 69: Locating Oil Filter Adapter & Bolts
    GF0029285Courtesy of FORD MOTOR CO.
    NOTE: LH shown, RH similar.
  144. Remove the 6 bolts and the 6 coil-on-plugs.
  145. Fig 70: Locating Coil-On-Plugs & Bolts
    GF0029180Courtesy of FORD MOTOR CO.
  146. Remove the 11 stud bolts and the LH valve cover.
    • Discard the gasket.
  147. Fig 71: Locating LH Valve Cover Stud Bolts
    GF0029182Courtesy of FORD MOTOR CO.
  148. Remove the bolt, the 10 stud bolts and the RH valve cover.
    • Discard the gasket.
  149. Fig 72: Locating RH Valve Cover Stud Bolts
    GF0029183Courtesy of FORD MOTOR CO.
    NOTE: VCT solenoid seal removal shown, spark plug tube seal similar.
  150. Inspect the VCT solenoid seals and the spark plug tube seals. Remove any damaged seals.
    • Using the special tools, remove the seal(s).
  151. Fig 73: Removing Seals Using Special Tools (205-153) & (303-1247/1)
    GF0029092Courtesy of FORD MOTOR CO.
  152. Remove the crankshaft bolt and washer.
    • Discard the bolt.
  153. Fig 74: Removing Crankshaft Bolt & Washer Using Special Tool (303-D055)
    GF0029103Courtesy of FORD MOTOR CO.
  154. Using the special tool, remove the crankshaft pulley.
  155. Fig 75: Identifying Special Tools (303-D121) And Crankshaft Pulley
    GF0017017Courtesy of FORD MOTOR CO.
  156. Using the special tool, remove and discard the crankshaft front seal.
  157. Fig 76: Removing Crankshaft Front Seal Using Special Tool (303-409)
    GF0029106Courtesy of FORD MOTOR CO.
  158. Remove the 2 bolts and the engine mount bracket.
  159. Fig 77: Locating Engine Mount Bracket & Bolts
    GF0029186Courtesy of FORD MOTOR CO.
  160. Remove the 2 engine mount studs.
  161. Fig 78: Locating Engine Mount Studs
    GF0029187Courtesy of FORD MOTOR CO.
  162. Remove the 3 bolts and the engine mount bracket.
  163. Fig 79: Locating Engine Mount Bracket & Bolts
    GF0029188Courtesy of FORD MOTOR CO.
  164. Remove the 22 engine front cover bolts.
  165. Fig 80: Identifying Engine Front Cover Bolts
    GF0029189Courtesy of FORD MOTOR CO.
  166. Install 6 of the engine front cover bolts (finger tight) into the 6 threaded holes in the engine front cover.
    • Tighten the bolts one turn at a time in a criss-cross pattern until the engine front cover-to-cylinder block seal is released.
      • Remove the engine front cover.
  167. Fig 81: Identifying Engine Front Cover Bolts
    GF0029190Courtesy of FORD MOTOR CO.
  168. Rotate the crankshaft clockwise and align the timing marks on the VCT assemblies as shown.
  169. Fig 82: Aligning Timing Marks On Variable Camshaft Timing (VCT) Assemblies
    GF0029192Courtesy of FORD MOTOR CO.
    NOTE: The special tool will hold the camshafts in the top dead center (TDC) position.
  170. Install the special tool onto the flats of the LH camshafts.
  171. Fig 83: Installing Special Tool (303-1248) Onto Flats Of LH Camshafts
    GF0029193Courtesy of FORD MOTOR CO.
    NOTE: The special tool will hold the camshafts in the TDC position.
  172. Install the special tool onto the flats of the RH camshafts.
  173. Fig 84: Installing Special Tool (303-1248) Onto Flats Of RH Camshafts
    GF0029194Courtesy of FORD MOTOR CO.
  174. Remove the 3 bolts and the RH VCT housing.
  175. Fig 85: Locating RH VCT Housing
    GF0029195Courtesy of FORD MOTOR CO.
  176. Remove the 3 bolts and the LH VCT housing.
  177. Fig 86: Locating LH VCT Housing
    GF0029196Courtesy of FORD MOTOR CO.
  178. Remove and discard the VCT housing seals.
  179. Fig 87: Locating VCT Housing Seals
    GF0029197Courtesy of FORD MOTOR CO.
  180. Remove the 2 bolts and the primary timing chain tensioner.
  181. Fig 88: Locating Primary Timing Chain Tensioner Bolts
    GF0029198Courtesy of FORD MOTOR CO.
  182. Remove the primary timing chain tensioner arm.
  183. Fig 89: Locating Primary Timing Chain Tensioner Arm
    GF0029199Courtesy of FORD MOTOR CO.
  184. Remove the 2 bolts and the lower LH primary timing chain guide.
  185. Fig 90: Locating Lower LH Primary Timing Chain Guide Bolts
    GF0029200Courtesy of FORD MOTOR CO.
  186. Remove the primary timing chain.
  187. Fig 91: Locating Primary Timing Chain
    GF0029201Courtesy of FORD MOTOR CO.
  188. Remove the crankshaft timing chain sprocket.
  189. Fig 92: Locating Crankshaft Timing Chain Sprocket
    GF0029202Courtesy of FORD MOTOR CO.
  190. Remove the 2 bolts and the upper LH primary timing chain guide.
  191. Fig 93: Locating Upper LH Primary Timing Chain Guide Bolts
    GF0029203Courtesy of FORD MOTOR CO.
  192. Compress the LH secondary timing chain tensioner and install a suitable lockpin to retain the tensioner in the collapsed position.
  193. Fig 94: Compressing LH Secondary Timing Chain Tensioner & Installing Suitable Lock Pin To Retain Tensioner In Collapsed Position
    GF0029204Courtesy of FORD MOTOR CO.
    NOTE: The VCT bolt and the exhaust camshaft bolt must be discarded and new ones installed. However, the exhaust camshaft washer is reusable.
  194. Remove and discard the LH VCT assembly bolt and the LH exhaust camshaft sprocket bolt.
    • Remove the LH VCT assembly, secondary timing chain and the LH exhaust camshaft sprocket as an assembly.
  195. Fig 95: Locating LH VCT Assembly Bolt & LH Exhaust Camshaft Sprocket Bolt
    GF0029205Courtesy of FORD MOTOR CO.
    NOTE: When the special tool is removed, valve spring pressure will rotate the LH camshafts approximately 3 degrees to a neutral position.
  196. Remove the special tool from the LH camshafts.
  197. Fig 96: Removing Special Tool (303-1248) From LH Camshafts
    GF0029211Courtesy of FORD MOTOR CO.
    CAUTION: The camshafts must remain in the neutral position during removal or engine damage may occur.
  198. Verify the LH camshafts are in the neutral position.
  199. Fig 97: Verifying LH Camshafts Are In Neutral Position
    GF0029212Courtesy of FORD MOTOR CO.
  200. Remove the 2 bolts and the LH secondary timing chain tensioner.
  201. Fig 98: Locating LH Secondary Timing Chain Tensioner & Bolt
    GF0029259Courtesy of FORD MOTOR CO.
    NOTE: Cylinder head camshaft bearing caps are numbered to verify that they are assembled in their original positions.
  202. Remove the bolts and the LH camshaft bearing caps.
    • Remove the LH camshafts.
  203. Fig 99: Identifying LH Camshafts Bolts
    GF0029213Courtesy of FORD MOTOR CO.
  204. Compress the RH secondary timing chain tensioner and install a suitable lockpin to retain the tensioner in the collapsed position.
  205. Fig 100: Compressing RH Secondary Timing Chain Tensioner & Installing Suitable Lock Pin To Retain Tensioner In Collapsed Position
    GF0029207Courtesy of FORD MOTOR CO.
    NOTE: The VCT bolt and the exhaust camshaft bolt must be discarded and new ones installed. However, the exhaust camshaft washer is reusable.
  206. Remove and discard the RH VCT assembly bolt and the RH exhaust camshaft sprocket bolt.
    • Remove the RH VCT assembly, secondary timing chain and the RH exhaust camshaft sprocket as an assembly.
  207. Fig 101: Locating RH VCT Assembly Bolt & RH Exhaust Camshaft Sprocket Bolt
    GF0029208Courtesy of FORD MOTOR CO.
  208. Remove the special tool from the RH camshafts.
  209. Fig 102: Removing Special Tool (303-1248) From RH Camshafts
    GF0029214Courtesy of FORD MOTOR CO.
    CAUTION: The camshafts must remain in the neutral position during removal or engine damage may occur.
  210. Rotate the RH camshafts counterclockwise to the neutral position.
  211. Fig 103: Rotating RH Camshafts Counterclockwise To Neutral Position
    GF0029215Courtesy of FORD MOTOR CO.
  212. Remove the 2 bolts and the RH secondary timing chain tensioner.
  213. Fig 104: Locating RH Secondary Timing Chain Tensioner & Bolts
    GF0029235Courtesy of FORD MOTOR CO.
  214. Remove the 2 bolts and the RH primary timing chain guide.
  215. Fig 105: Locating RH Primary Timing Chain Guide Lower Bolt
    GF0029210Courtesy of FORD MOTOR CO.
    NOTE: Cylinder head camshaft bearing caps are numbered to verify that they are assembled in their original positions.
  216. Remove the bolts and the RH camshaft bearing caps.
    • Remove the RH camshafts.
  217. Fig 106: Identifying RH Camshafts Bolts
    GF0029216Courtesy of FORD MOTOR CO.
    NOTE: If the components are to be reinstalled, they must be installed in the same positions. Mark the components for installation into their original locations.
    NOTE: LH shown, RH similar.
  218. Remove the valve tappets from the cylinder heads.
  219. Fig 107: Identifying Valve Tappets From Cylinder Head
    GF0029217Courtesy of FORD MOTOR CO.
    NOTE: LH shown, RH similar.
  220. Remove and discard the M6 bolt from each cylinder head.
  221. Fig 108: Identifying M6 Bolt
    GF0029260Courtesy of FORD MOTOR CO.
    CAUTION: Place clean, lint-free shop towels over exposed engine cavities. Carefully remove the towels so foreign material is not dropped into the engine. Any foreign material (including any material created while cleaning gasket surfaces) that enters the oil passages or the oil pan, may cause engine failure.
    CAUTION: Aluminum surfaces are soft and may be scratched easily. Never place the cylinder head gasket surface, unprotected, on a bench surface.
    NOTE: The cylinder head bolts must be discarded and new bolts must be installed. They are tighten-to-yield design and cannot be reused.
    NOTE: LH shown, RH similar.
  222. Remove and discard the 8 bolts from each cylinder head.
    • Remove the cylinder heads.
    • Discard the cylinder head gaskets.
  223. Fig 109: Identifying Cylinder Head Bolts
    GF0029261Courtesy of FORD MOTOR CO.
    CAUTION: Do not use metal scrapers, wire brushes, power abrasive discs or other abrasive means to clean the sealing surfaces. These tools cause scratches and gouges that make leak paths. Use a plastic scraping tool to remove all traces of the head gasket.
    NOTE: Observe all warnings or cautions and follow all application directions contained on the packaging of the silicone gasket remover and the metal surface prep.
    NOTE: If there is no residual gasket material present, metal surface prep can be used to clean and prepare the surfaces.
  224. Clean the cylinder head-to-cylinder block mating surfaces of both the cylinder heads and the cylinder block in the following sequence.
    1. Remove any large deposits of silicone or gasket material with a plastic scraper.
    2. Apply silicone gasket remover, following package directions, and allow to set for several minutes.
    3. Remove the silicone gasket remover with a plastic scraper. A second application of silicone gasket remover may be required if residual traces of silicone or gasket material remain.
    4. Apply metal surface prep, following package directions, to remove any remaining traces of oil or coolant and to prepare the surfaces to bond with the new gasket. Do not attempt to make the metal shiny. Some staining of the metal surfaces is normal.
  225. Support the cylinder heads on a bench with the head gasket side up.
  226. NOTE: The straightedge used must be flat within 0.0051 mm (0.0002 in) per foot of tool length.
  227. Inspect all areas of the deck face with a straightedge and feeler gauge. The cylinder heads must not have depressions deeper than 0.0254 mm (0.001 in) across a 38.1 mm (1.5 in) square area, or scratches more than 0.0254 mm (0.001 in).
  228. Remove the coolant tube.
    • Remove and discard the O-ring seals.
  229. Fig 110: Identifying Coolant Tube
    GF0029286Courtesy of FORD MOTOR CO.
  230. Remove the 2 bolts and the KS.
  231. Fig 111: Locating Knock Sensor (KS) Bolts
    GF0029287Courtesy of FORD MOTOR CO.
  232. Remove the 8 bolts and the coolant pump.
  233. Fig 112: Locating Coolant Pump Bolts
    GF0029288Courtesy of FORD MOTOR CO.
  234. Remove the 16 oil pan bolts.
  235. Fig 113: Identifying Oil Pan Bolts
    GF0029265Courtesy of FORD MOTOR CO.
  236. Install 2 of the oil pan bolts (finger tight) into the 2 threaded holes in the oil pan.
    • Alternately tighten the 2 bolts one turn at a time until the oil pan-to-cylinder block seal is released.
      • Remove the oil pan.
  237. Fig 114: Installing 2 Of Oil Pan Bolts (Finger Tight) Into 2 Threaded Holes In Oil Pan
    GF0029266Courtesy of FORD MOTOR CO.
  238. Remove the 3 bolts and the oil pump screen and pickup tube.
    • Discard the O-ring seal.
  239. Fig 115: Identifying Oil Pump Screen, Pickup Tube & Bolts
    GF0029267Courtesy of FORD MOTOR CO.
  240. Remove the 3 bolts and the oil pump.
  241. Fig 116: Identifying Oil Pump & Bolts
    GF0029289Courtesy of FORD MOTOR CO.
  242. Remove the 8 crankshaft rear seal retainer bolts.
  243. Fig 117: Locating Crankshaft Rear Seal Retainer Bolts
    GF0029272Courtesy of FORD MOTOR CO.
  244. Install the 2 M6 oil pan bolts (finger tight) into the 2 threaded holes in the crankshaft rear seal retainer.
    • Alternately tighten the 2 bolts one turn at a time until the crankshaft rear seal retainer-to-cylinder block seal is released.
      • Remove the crankshaft rear seal retainer.
  245. Fig 118: Identifying M6 Oil Pan Bolts
    GF0029273Courtesy of FORD MOTOR CO.
    CAUTION: Only use a 3M Roloc® Bristle Disk (2-in white, part number 07528) to clean the engine front cover, oil pan and crankshaft rear seal retainer plate. Do not use metal scrapers, wire brushes or any other power abrasive disk to clean the engine front cover, oil pan and crankshaft rear seal retainer plate. These tools cause scratches and gouges that make leak paths.
  246. Clean the engine front cover, oil pan and crankshaft rear seal retainer plate using a 3M Roloc® Bristle Disk (2-in white, part number 07528) in a suitable tool turning at the recommended speed of 15,000 RPM.
    • Thoroughly wash the engine front cover, oil pan and crankshaft rear seal retainer plate to remove any foreign material, including any abrasive particles created during the cleaning process.
  247. Before removing the pistons, inspect the top of the cylinder bores. If necessary, remove the ridge or carbon deposits from each cylinder using an abrasive pad or equivalent, following manufacturer's instructions.
  248. NOTE: The main bearing cap support brace bolts must be discarded and new bolts must be installed. They are a tighten-to-yield design and cannot be reused.

    Remove the bolts in the sequence shown in illustration.

    • Remove the main bearing cap support brace.
    • Discard the bolts.
    Fig 119: Identifying Bolts In Sequence
    G06252004Courtesy of FORD MOTOR CO.
  249. NOTE: The connecting rod cap bolts are a torque-to-yield design. The original connecting rod cap bolts will be used when measuring the connecting rod large end bore during assembly. The connecting rod cap bolts will be discarded after measurement.
    NOTE: Clearly mark the position and orientation of the connecting rods, connecting rod caps and connecting rod bearings for reassembly.

    Remove the connecting rod cap bolts and cap.

    Fig 120: Locating Connecting Rod Cap Bolts And Cap
    G06252005Courtesy of FORD MOTOR CO.
  250. NOTE: Do not scratch the cylinder walls or crankshaft journals with the connecting rod.

    Remove the piston/rod assembly from the engine block.

    Fig 121: Removing Piston/Rod Assembly From Engine Block
    G06252006Courtesy of FORD MOTOR CO.
  251. Repeat the previous 2 steps until all the piston/rod assemblies are removed from the engine block.
  252. NOTE: The 8 main bearing cap side bolts and the 8 main bearing cap bolts must be discarded and new bolts must be installed. They are a torque-to-yield design and cannot be reused.
    NOTE: Clearly mark the position and orientation of the main bearing caps for reassembly.

    Remove the 8 main bearing cap side bolts and the 8 main bearing cap bolts in the sequence shown in illustration.

    • Discard the bolts.
    Fig 122: Identifying Main Bearing Cap Bolts In Sequence
    G06252007Courtesy of FORD MOTOR CO.
  253. NOTE: If the main bearings are being reused, mark them for correct position and orientation for reassembly.
    NOTE: Note the position of the thrust washer on the outside of the No. 4 rear main bearing cap.

    Remove the 4 main bearing caps.

    Fig 123: Locating Main Bearing Caps
    G06252008Courtesy of FORD MOTOR CO.
  254. NOTE: Note the position of the 2 thrust washers on the inside and outside of the rear main bearing bulkhead.

    Remove the crankshaft.

    Fig 124: Locating Crankshaft Thrust Bearings
    G06252009Courtesy of FORD MOTOR CO.
  255. NOTE: Inside shown in illustration, outside similar.

    Remove the 2 crankshaft thrust bearings from the rear main bearing bulkhead.

    Fig 125: Locating Crankshaft Thrust Bearings
    G06252010Courtesy of FORD MOTOR CO.
  256. NOTE: If the main bearings are being reused, mark them for correct position and orientation for reassembly.

    Remove the 4 crankshaft main bearings from the cylinder block.

    Fig 126: Locating Crankshaft Main Bearings
    G06252011Courtesy of FORD MOTOR CO.
  257. NOTE: If the main bearings are being reused, mark them for correct position and orientation for reassembly.

    Remove the 4 crankshaft main bearings from the main bearing caps.

    Fig 127: Locating Main Bearing Caps
    G06252012Courtesy of FORD MOTOR CO.
  258. Inspect the cylinder block, bearing cap support brace, pistons and connecting rods. For additional information, refer to ENGINE SYSTEM - GENERAL INFORMATION .
  259. CAUTION: Place clean, lint-free shop towels over exposed engine cavities. Carefully remove the towels so foreign material is not dropped into the engine. Any foreign material (including any material created while cleaning gasket surfaces) that enters the oil passages or the oil pan, may cause engine failure.
    CAUTION: Do not use wire brushes, power abrasive discs or 3M Roloc® Bristle Disk (2-in white, part number 07528) to clean the sealing surfaces. These tools cause scratches and gouges that make leak paths. They also cause contamination that will cause premature engine failure. Remove all traces of sealant.
  260. Clean the sealing surfaces of the cylinder block in the following sequence.
    1. Remove any large deposits of silicone or gasket material.
    2. Apply silicone gasket remover and allow to set for several minutes.
    3. Remove the silicone gasket remover. A second application of silicone gasket remover may be required if residual traces of silicone or gasket material remain.
    4. Apply metal surface prep to remove any remaining traces of oil or coolant and to prepare the surfaces to bond. Do not attempt to make the metal shiny. Some staining of the metal surfaces is normal.
    5. Make sure the 2 engine front cover locating dowel pins are seated correctly in the cylinder block.