lemon-mirror:
Home >> Ford >> 2009 >> Expedition RWD >> Repair and Diagnosis >> Transmission >> Automatic Trans >> Automatic Transmission >> Disassembly And Assembly Of Subassemblies >> Mechatronic Assembly >> Assembly

Mechatronic Assembly: Assembly

NOTE: Do not touch the electrical connector pins or the exposed solenoid tabs on the Transmission Control Module (TCM). An electrostatic discharge may occur and may cause damage to the TCM  /mechatronic assembly.

Mechatronic assembly upper half 

    NOTE: Many components and surfaces in the mechatronic valve body are precision machined. Careful handling during disassembly, cleaning, inspection and assembly will prevent unnecessary damage to machined surfaces.
    Fig 1: Identifying Clips, Caps, Valves And Springs Of Mechatronic Assembly
    G06127551Courtesy of FORD MOTOR CO.
  1. Install the clips, caps, valves and spring into each bore. Refer to Fig 1.

    Mechatronic assembly lower half 

  2. NOTE: Many components and surfaces in the mechatronic valve body are precision machined. Careful handling during disassembly, cleaning, inspection and assembly will prevent unnecessary damage to machined surfaces.
    Fig 2: Identifying Clips, Caps, Valves And Spring Of Bore
    G06127556Courtesy of FORD MOTOR CO.
  3. Install the clips, caps, valves and spring into each bore.
  4. NOTE: Lubricate the O-ring seals of the solenoids with clean automatic transmission fluid when installing them into the valve body.
    Fig 3: Identifying Solenoids
    G06127557Courtesy of FORD MOTOR CO.
  5. Install the solenoids into their correct bores as indicated during disassembly.
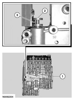
  6. Install the solenoid bracket and the 8 bolts.
    • Tighten to 6 Nm (53 lb-in).
      Fig 4: Locating Solenoid Bracket Bolts
      G06127552Courtesy of FORD MOTOR CO.
  7. NOTE: Towards the back of the upper valve body there is a hydraulic passage that is shaped as though it receives a check ball. This passage does not require a check ball. Be sure not to mistake this hydraulic passage for a passage that does require a check ball or damage to the transmission can occur.
  8. Install the solenoid dampers, check balls, converter drain back valve and filter screens.
    1. Solenoid dampers
    2. Check balls
    3. Converter drain back valve
    4. Small screen
    5. Big screen
    6. Empty hydraulic passage (no check ball)
      Fig 5: Identifying Solenoid Dampers, Check Balls, Converter Drain Back Valve, Small Screen And Big Screen
      G06127559Courtesy of FORD MOTOR CO.
  9. Align the guide pins on the TCM  with the holes in the upper valve body and install the valve body on the TCM  .
    1. TCM 
    2. Upper valve body
    3. Guide pins
      Fig 6: Identifying TCM, Upper Valve Body And Guide Pins
      G06127560Courtesy of FORD MOTOR CO.
  10. NOTE: If the drain back valves are not installed correctly in the separator plate, damage to the transmission can occur.
  11. Position the separator plate on the upper valve body.

    Check the 2 drain back valves to be sure they are correctly positioned in the separator plate when the separator plate is pressed flush against the upper valve body.

    1. Separator plate
    2. Drain back valves
      Fig 7: Identifying Separator Plate And Drain Back Valves
      G06127561Courtesy of FORD MOTOR CO.
  12. Position the lower valve body on the 2 TCM  alignment studs, align the manual valve with the Transmission Range (TR) sensor on the TCM  and install the lower valve body.
    1. Lower valve body
    2. Manual valve
    3. TR  sensor
      Fig 8: Positioning Lower Valve Body On TCM
      G06127562Courtesy of FORD MOTOR CO.
  13. Install the 6 (long) TCM  -to-valve body bolts hand-tight.
    Fig 9: Locating TCM-To-Valve Body Bolts
    G06127563Courtesy of FORD MOTOR CO.
  14. Install the 19 (short) mechatronic assembly lower-to-upper valve body bolts.
    • Tighten the bolts in the sequence shown.
    • Tighten bolts 1 through 6 in the tightening sequence to 7 Nm (62 lb-in).
    • Tighten bolts 7 through 25 in the tightening sequence to 6 Nm (53 lb-in).
      Fig 10: Identifying Mechatronic Assembly Lower-To-Upper Valve Body Bolts Tightening Sequence
      G06127564Courtesy of FORD MOTOR CO.