lemon-mirror:
Home >> Ford >> 2009 >> Taurus SE >> Repair and Diagnosis >> External Pages >> Different car >> Section 1245 (Component Testing) >> Component Testing >> Main light switch >> Schematic

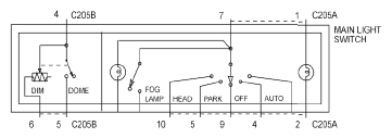
Main light switch: Schematic

WARNING: This page is about a different car, the 2009 Mercury Grand Marquis and 2009 Ford Crown Victoria. However, it is still accessible from the selected car via links, so may be relevant.
Fig 1: Main Light Switch Schematic
G05791546