lemon-mirror:
Home >> Ford >> 2011 >> Explorer Limited, FWD >> Repair and Diagnosis >> Accessories & Equipment >> Accessories Control Systems >> Component Testing >> Introduction >> Start/stop switch >> Schematic

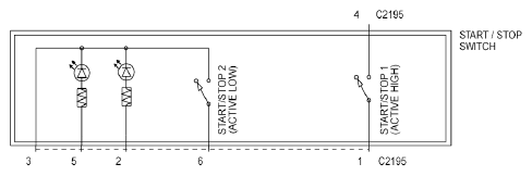
Start/stop switch: Schematic

Fig 1: Start/Stop Switch - Schematic
G07327821Courtesy of FORD MOTOR CO.