lemon-mirror:
Home >> Ford >> 2011 >> Focus SES, Automatic >> Repair and Diagnosis >> Brakes >> Traction Control >> Anti-Lock Brake System - Vehicle Dynamic Systems >> Removal And Installation >> Anti-Lock Brake System (ABS) Module >> Notes

Anti-Lock Brake System (ABS) Module: Notes

SPECIAL TOOL(S)

G07802598
Vehicle Communication Module (VCM) and Integrated Diagnostic System (IDS) software with appropriate hardware, or equivalent scan tool
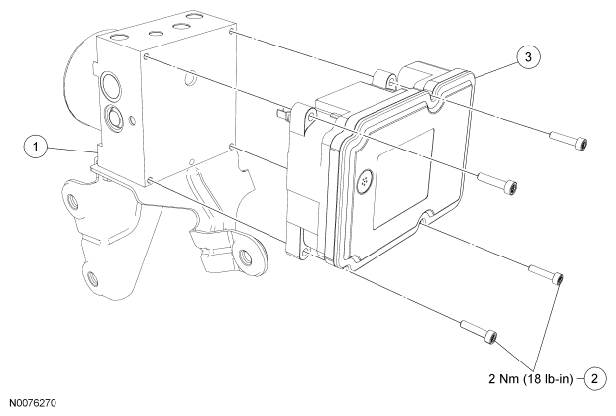
Fig 1: Exploded View Of Anti-Lock Brake System (ABS) Module
G06438615Courtesy of FORD MOTOR CO.
Item Part Number Description
1 2C286 Hydraulic Control Unit (HCU)
2 2M101 ABS module screws (4 required)
3 2C013 ABS module