lemon-mirror:
Home >> Ford >> 2012 >> Escape XLS, AWD >> Repair and Diagnosis >> Transmission >> Transfer Case >> Power Transfer Unit >> In-Vehicle Repair >> Transfer Case Vent >> Installation

Transfer Case Vent: Installation

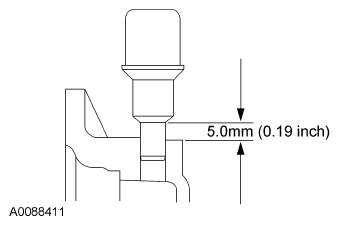
  1. Inspect the condition of the PTU vent hole.
    • By hand, insert the new PTU vent into the PTU cover and measure the distance between the PTU cover and the vent as indicated.
    • If the measurement is less than specification, install a new PTU.
      Fig 1: Identifying PTU Vent Hole Dimension
      G06098392Courtesy of FORD MOTOR CO.
  2. NOTE: Do not apply silicone sealant to the Power Transfer Unit (PTU) vent hole as it may cause damage to the PTU internal components.
    Fig 2: Locating Bead Of Silicone Gasket And Sealant Applying Area On PTU Vent
    G06098393Courtesy of FORD MOTOR CO.
  3. Apply a bead of silicone gasket and sealant to the PTU vent where indicated.
  4. NOTE: Drive the PTU vent in until the Vent Tube Installer bottoms out against the PTU rear cover boss.
    Fig 3: Installing PTU Vent
    G06098394Courtesy of FORD MOTOR CO.
  5. Using the Vent Tube Installer, install the PTU vent.
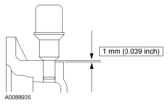
  6. Measure the depth of the PTU vent.
    • If the vent is too high, repeat Step  3.
      Fig 4: Measuring Depth Of Transfer Case Vent
      G06394124Courtesy of FORD MOTOR CO.
  7. NOTE: Make sure the Power Transfer Unit (PTU) vent boot is correctly aligned or damage to the components may occur.
    NOTE: Use a soapy water solution to lubricate the PTU breather boot.
    Fig 5: Identifying PTU Vent Boot
    G07942039Courtesy of FORD MOTOR CO.
  8. Install the PTU vent boot.
  9. Install the PTU. For additional information, refer to POWER TRANSFER UNIT (PTU)  in the Installation portion of this service information.