lemon-mirror:
Home >> Ford >> 2012 >> Flex SE >> Repair and Diagnosis >> Electrical >> Body Electrical >> OEM Component Testing >> Component Testing >> Adjustable pedal switch >> Schematic

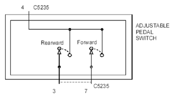
Adjustable pedal switch: Schematic

Fig 1: Adjustable Pedal Switch Schematic Diagram
G07905752Courtesy of FORD MOTOR CO.