lemon-mirror:
Home >> Ford >> 2012 >> Mustang Base, 2D Convertible, Automatic Trans >> Repair and Diagnosis >> Engine Mechanical >> Exhaust System >> General Procedures >> Exhaust System Alignment

Exhaust System Alignment

All vehicles 

NOTE: Exhaust fasteners are of a torque prevailing design. Use only new fasteners with the same part number as the original. Torque values must be used as specified during reassembly to make sure of correct retention of exhaust components.
  1. With the vehicle in NEUTRAL, position it on a hoist. For additional information, refer to JACKING & LIFTING .
  2. Loosen the muffler assembly-to-intermediate pipe ball clamps.
  3. Loosen the Torca® coupler nuts.
    • Do not tighten the coupler at this time.

    Boss® 302 only 

  4. NOTE: Do not bend, twist or allow the exhaust side pipes to hang from the flexible bellows or damage to the exhaust side pipe may occur.
  5. Loosen the exhaust side pipe-to-exhaust H-pipe nuts.
  6. Loosen the exhaust side pipe Torca® clamps.

    5.0L and Boss® 302 only 

  7. Loosen the catalytic converter-to-exhaust H-pipe ball clamps.

    All vehicles 

  8. Loosen the catalytic converter-to-manifold nuts.
    • Do not tighten the coupler at this time.
  9. Position an adjustable jackstand under the catalytic converter Y-pipe/H-pipe.
  10. Make sure the 3 muffler assembly hooks are correctly inserted into all of the muffler exhaust isolators.
  11. Beginning at the front of the vehicle, align the exhaust system in the following sequence.
    1. Evenly tighten all 4 of the catalytic converter-to-exhaust manifold nuts (starting with the right lower, then the left lower, then the right upper, then the left upper) in 10 Nm (89 lb-in) increments until reaching the final torque of 40 Nm (30 lb-ft).
    2. (5.0L and Boss® 302 only) Tighten the catalytic converter-to-exhaust H-pipe ball clamp nuts to 30 Nm (22 lb-ft).
    3. NOTE: Make sure that the intermediate pipe and converter Y-pipe/H-pipe is inserted into the Torca® coupler correctly.
      NOTE: While tightening the Torca® couplers and the muffler assembly-to-intermediate pipe ball clamp nuts, make sure the intermediate pipe to fuel tank and the intermediate pipe to fuel tank straps have a minimum clearance of 15 mm (0.59 in). The intermediate pipe to fuel vapor line minimum clearance should also be no less than 10 mm (0.393 in).
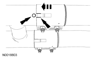
    4. Slide Torca® coupler over the converter Y-pipe/H-pipe and engage the coupler clip completely over the converter button.
    5. Tighten the Torca® couplers to 48 Nm (35 lb-ft).
    6. Verify the intermediate pipe is fully seated in the muffler inlet pipe.
      • Tighten the muffler assembly-to-intermediate pipe ball clamp nuts to 30 Nm (22 lb-ft).
    7. NOTE: (Boss® 302 only) Do not bend, twist or allow the exhaust side pipes to hang from the flexible bellows or damage to the exhaust side pipe may occur.
      NOTE: (Boss® 302 only) When tightening the side pipe-to-exhaust H-pipe nuts, rotate the side pipe assembly so the pipe after the Torca® clamp has a clearance of 10 mm (0.393 in) to 19 mm (0.748 in) to the flat surface of the floor pan.
    8. (Boss® 302 only) Align the exhaust side pipes and tighten the exhaust side pipe-to-exhaust H-pipe nuts to 40 Nm (30 lb-ft).
    9. NOTE: (Boss® 302 only) When tightening the Torca® clamp, make sure the flat section of the side pipes has a clearance of 14 mm (0.551 in) to 23 mm (0.905 in) to the floor pan.
      Fig 1: Sliding Torca® Couplers Over Catalyst Pipes
      G06382676Courtesy of FORD MOTOR CO.
    10. (Boss® 302 only) Tighten the exhaust side pipe Torca® clamps to 48 Nm (35 lb-ft).
  12. Start the engine and check the exhaust system for leaks.