lemon-mirror:
Home >> Ford >> 2012 >> Taurus SE >> Repair and Diagnosis >> Engine Mechanical >> Mechanical >> Engine System - General Information >> General Procedures >> Core Plug Replacement

Core Plug Replacement

SPECIAL TOOLS

G06064997
Slide Hammer
100-001 (T50T-100-A)
MATERIAL SPECIFICATIONS

Item Specification
Threadlock 262
TA-26
WSK-M2G351-A6

All core plugs 

    NOTE: Cylinder block core plug shown in illustration, cylinder head core plug similar.
    Fig 1: Removing Core Plug Using Slide Hammer And Freeze Plug Remover
    G06064121Courtesy of FORD MOTOR CO.
  1. Use the Slide Hammer and a freeze plug remover to remove the core plug.
  2. NOTE: Oversize plugs are identified by the OS stamped in the flat located on the cup side of the plug.
  3. Inspect the core plug bore for any damage that would interfere with the correct sealing of the plug. If the core plug bore is damaged, bore for the next oversize plug.

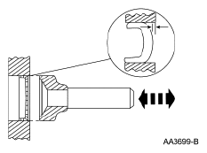
    Cup-type 

  4. NOTE: Use care during this procedure so as not to disturb or distort the cup sealing surface.
    NOTE: When installed, the flanged edge must be below the chamfered edge of the bore to effectively seal the bore.
    Fig 2: Installing Core Plug Using Freeze Plug Installer (Cup-Type Core Plug)
    G06064122Courtesy of FORD MOTOR CO.
  5. Coat the cup-type core plug and bore lightly with sealant and install the core plug using a freeze plug installer.

    Expansion-type 

  6. NOTE: Do not contact the crown when installing an expansion-type core plug. This could expand the plug before seating and result in leakage.
    Fig 3: Installing Core Plug Using Freeze Plug Installer (Expansion-Type)
    G06064123Courtesy of FORD MOTOR CO.
  7. Coat the expansion-type core plug and bore lightly with sealant and install the core plug using a freeze plug installer.