lemon-mirror:
Home >> Ford >> 2012 >> Taurus SE >> Repair and Diagnosis >> External Pages >> Different car >> Section 889 (Climate Control) >> Description And Operation >> Air Conditioning >> Spring Lock Coupling

Spring Lock Coupling

WARNING: This page is about a different car, the 2007 Ford Ranger. However, it is still accessible from the selected car via links, so may be relevant.
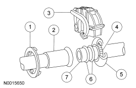
Fig 1: Identifying A/C Spring Lock Coupling Components
GF0004380Courtesy of FORD MOTOR CO.
Item Part Number Description
1 - Plastic indicator ring
2 - Female fitting
3 19E746 A/C tube lock coupling clip
4 19E576 A/C tube lock coupling spring
5 - Cage
6 19E889 O-ring seals (3 required)
7 - Male fitting

When disconnecting or connecting spring lock couplings, observe the following.