lemon-mirror:
Home >> Ford >> 2013 >> Taurus SHO >> Repair and Diagnosis >> Electrical >> Body Electrical >> OEM Connector Repair Procedures >> Connector Repair Procedures >> Terminal Not Properly Seated

Terminal Not Properly Seated

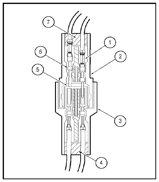
  1. Locked terminal
  2. Male half
  3. Female half
  4. Seal
  5. Intermittent contact
  6. Unlocked terminal (Hidden by wire seal)
  7. Seal

Check for unlocked terminals by pulling each wire at the end of the connector.

Fig 1: Cross Section View Of Connector
G09128671Courtesy of FORD MOTOR CO.