lemon-mirror:
Home >> GMC >> 1981 >> Magnavan Standard Trans >> Repair and Diagnosis >> Electrical >> Body Electrical >> Power Windows - Side Windows >> Testing >> Window Motor

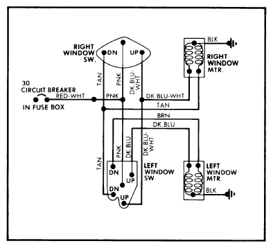
Window Motor

Check Power feed to motor terminals, if power is available, check motor ground. Inspect window regulator and channels for possible binding. Connect a jumper wire to the other motor terminal. Motor should operate window up and down, if not, replace motor.

Fig 1: General Motors Light Truck Power Window Wiring Diagram
G09351870Courtesy of GENERAL MOTORS COMPANY