lemon-mirror:
Home >> GMC >> 1982 >> Magnavan Standard Trans >> Repair and Diagnosis >> Engine Performance >> Vacuum Diagrams >> Model Identification

Model Identification

Truck models, listed in tables, are identified using manufacturers letter and number designations. The letters identify the vehicle model series (i.e., "C" is conventional chassis, including Pickup, Blazer and Suburban). The number reference identifies the vehicles load capacity. Refer to following charts for actual letter and number designations.

VEHICLE SERIES IDENTIFICATION

Vehicle Series I.D. Letter
Conventional Chassis (2-WD) C
Conventional Chassis (2-WD) S
Conventional Chassis (4-WD) K
Conventional Van Chassis G
Forward Control/Stepvan Chassis P
VEHICLE LOAD CAPACITY

Chevrolet Number GMC Number Ton Capacity
10 15 1/2
10 1500 1/2
20 2500 3/4
30 3500 1
GENERAL MOTORS VACUUM DIAGRAM REFERENCE CHART

Vehicle Model, Series & Engine Application Transmission Equipment Fig. No.
Light Duty        
  1.9L 4-Cyl.        
    S10 Calif. Auto. AIR 1
      Calif. Man. AIR 2
      Hi. Alt. Auto. AIR 3
      Fed. & Hi. Alt. Man. AIR 4
      Fed. Auto. AIR 5
Light Duty        
  2.8L V6        
    S10 Fed. & Hi. Alt. Auto. & Man. AIR 6
      Fed. Auto. AIR 7
      Calif. Man. AIR 8
      Calif. Auto. AIR 9
Light Duty        
  4.1L 6-Cyl.        
    C10 & K10 Fed. & Hi. Alt. Auto.   10
      Fed. & Hi. Alt. Auto.   11
      Fed. & Hi. Alt. Auto.   18
      Fed. & Hi. Alt. Auto.   19
      Fed. Man.   20
      Fed. Man.   21
      Fed. Auto.   22
      Fed. Auto.   23
Light Duty        
  4.1L 6-Cyl.        
    G10 & G20 Calif. Man.   12
      Calif. Man.   13
      Calif. Auto.   16
      Calif. Auto.   17
      Fed. & Hi. Alt. Man. AIR 29
      Fed. & Hi. Alt. Auto. AIR 30
      Hi. Alt. Auto. AIR 32
      Fed. Man.   33
      Fed. Auto. Exc. AIR 34
Light Duty        
  4.1L 6-Cyl.        
    G30 Fed & Hi. Alt. Auto.   11
      Fed. Man.   14
      Fed. Man.   15
Heavy Duty        
  4.8L 6-Cyl.        
    P20 & P30 Fed.   AIR 24
Light Duty        
  5.0L V8        
    C10 Hi. Alt. Man. AIR 26
        Auto. AIR 27
      Fed. & Hi. Alt. Man. AIR 29
      Fed. & Hi. Alt. Auto. AIR 30
      Hi. Alt. Auto. AIR 32
      Fed. Man.   33
      Fed.   Exc. AIR 34
Light Duty        
  5.0L V8        
    C20 Fed. & Hi. Alt Man. AIR 29
Light Duty        
  5.0L V8        
    G10 & G20 Fed. & Hi. Alt. Man. AIR 25
      Hi. Alt. Auto. AIR 28
        Auto. AIR 31
Light Duty        
  5.0L V8        
      K10 Fed. & Hi. Alt. Man. AIR 29
      Fed. & Hi. Alt. Man. AIR 30
Light Duty        
  5.7L V8        
    C10 & C20 Calif. Auto. AIR 43
      K10 & K20 Fed. & Hi. Alt. Man. AIR 36
      Fed. & Hi. Alt. Auto. AIR 39
      Calif. Auto. AIR 43
    G10 & G20 Fed. & Hi. Alt. Man. AIR 38
      Fed. & Hi. Alt. Auto. AIR 40
Medium Duty        
  5.7L V8        
    G20 & G30 Calif. Auto. AIR 42
Heavy Duty        
  5.7L V8        
      Calif. Auto. AIR 35
  C20 & K20 Fed. Auto. AIR 37
  G30, P20 & P30 Fed.   AIR 41
Light Duty        
  6.2L V8        
    C10, C20, K10 & K20 Calif., Fed. & Hi. Alt. Auto. & Man.   45
Medium Duty        
  6.2L V8        
    C10, C20, K10 & K20 Calif., Fed. & Hi. Alt. Auto. & Man.   46
Heavy Duty        
  7.4L V8        
    C20, C30, K20 & K30 Fed.   AIR 47
      Calif.   AIR 48
EMISSION CONTROL DEVICE ABBREVIATIONS 
AIR  - Air Injection Reactor
DVTR  - Diverter Valve
EFE  - Early Fuel Evaporation
EGR  - Exhaust Gas Recirculation
PCV  - Positive Crankcase Ventilation
TRC  - Throttle Return Control
TVS  - Thermal Vacuum Switch
Fig 1: 1.9L 4-Cyl. California Automatic Trans. S10 & S15
G09360711Courtesy of GENERAL MOTORS COMPANY
Fig 2: 1.9L 4-Cyl. California Manual Trans. S10 & S15
G09360712Courtesy of GENERAL MOTORS COMPANY
Fig 3: 1.9L 4-Cyl. High Altitude Automatic Trans. S10 & S15
G09360713Courtesy of GENERAL MOTORS COMPANY
Fig 4: 1.9L 4-Cyl. Federal & High Altitude Manual Trans. S10 & S15
G09360714Courtesy of GENERAL MOTORS COMPANY
Fig 5: 1.9L 4-Cyl. Federal Automatic Trans. S10 & S15
G09360715Courtesy of GENERAL MOTORS COMPANY
Fig 6: 2.8L 6-Cyl. Federal & High Altitude Automatic & Manual Trans. S10 & S15
G09360716Courtesy of GENERAL MOTORS COMPANY
Fig 7: 2.8L 6-Cyl. Federal Automatic Trans. S10 & S15
G09360717Courtesy of GENERAL MOTORS COMPANY
Fig 8: 2.8L 6-Cyl. California Manual Trans. S10 & S15
G09360718Courtesy of GENERAL MOTORS COMPANY
Fig 9: 2.8L 6-Cyl. California Automatic Trans. S10 & S15
G09360719Courtesy of GENERAL MOTORS COMPANY
Fig 10: 4.1L 6-Cyl. Federal & High Altitude Automatic Trans. C10 & K10 Models
G09360720Courtesy of GENERAL MOTORS COMPANY
Fig 11: 4.1L 6-Cyl. Federal & High Altitude Automatic Trans. G30 & K10 Models
G09360721Courtesy of GENERAL MOTORS COMPANY
Fig 12: 4.1L 6-Cyl. California Manual Trans. G10 & G20 Models
G09360722Courtesy of GENERAL MOTORS COMPANY
Fig 13: 4.1L 6-Cyl. California Manual Trans. G 10 & G20 Models With Aux. Canister
G09360723Courtesy of GENERAL MOTORS COMPANY
Fig 14: 4.1L 6-Cyl. Federal Manual Trans. G30 Models With Aux. Canister
G09360724Courtesy of GENERAL MOTORS COMPANY
Fig 15: 4.1L 6-Cyl. Federal Manual Trans. G30 Models
G09360725Courtesy of GENERAL MOTORS COMPANY
Fig 16: 4.1L 6-Cyl. California Automatic Trans. G10 & G20 Models
G09360726Courtesy of GENERAL MOTORS COMPANY
Fig 17: 4.1L 6-Cyl. California Automatic Trans. G10 & G20 Models
G09360727Courtesy of GENERAL MOTORS COMPANY
Fig 18: 4.1L 6-Cyl. Federal & High Altitude Automatic Trans. C10 Models
G09360728Courtesy of GENERAL MOTORS COMPANY
Fig 19: 4.1L 6-Cyl. Federal & High Altitude Automatic Trans. C10 Models
G09360729Courtesy of GENERAL MOTORS COMPANY
Fig 20: 4.1L 6-Cyl. Federal Manual Trans. C10, G10 & G20 Models
G09360730Courtesy of GENERAL MOTORS COMPANY
Fig 21: 4.1L 6-Cyl. Federal Manual Trans. C10 & K10 Models
G09360731Courtesy of GENERAL MOTORS COMPANY
Fig 22: 4.1L 6-Cyl. Federal Automatic Trans. C10, G10 & G20 Models
G09360732Courtesy of GENERAL MOTORS COMPANY
Fig 23: 4.1L 6-Cyl. Federal Automatic Trans. C10, G10 & G20 Models
G09360733Courtesy of GENERAL MOTORS COMPANY
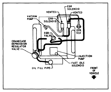
Fig 24: 4.8L 6-Cyl. Federal P20 & P30 Models
G09360734Courtesy of GENERAL MOTORS COMPANY
Fig 25: 5.0L V8 Federal & High Altitude Manual Trans. G10 & G20 Models
G09360735Courtesy of GENERAL MOTORS COMPANY
Fig 26: 5.0L V8 High Altitude Manual Trans. C10 Models
G09360736Courtesy of GENERAL MOTORS COMPANY
Fig 27: 5.0L V8 Automatic Trans. C10 Models
G09360737Courtesy of GENERAL MOTORS COMPANY
Fig 28: 5.0L V8 High Altitude Automatic Trans. G10 & G20 Models
G09360738Courtesy of GENERAL MOTORS COMPANY
Fig 29: 5.0L V8 Federal & High Altitude Manual Trans. C10, C20 & K10 Models
G09360739Courtesy of GENERAL MOTORS COMPANY
Fig 30: 5.0L V8 Federal & High Altitude Automatic Trans. C10 & K10 Models
G09360740Courtesy of GENERAL MOTORS COMPANY
Fig 31: 5.0L V8 Automatic Trans. G10 & G20 Models
G09360741Courtesy of GENERAL MOTORS COMPANY
Fig 32: 5.0L V8 High Altitude Automatic Trans. C10 Models
G09360742Courtesy of GENERAL MOTORS COMPANY
Fig 33: 5.0L V8 Federal Manual Trans. C10 Models
G09360743Courtesy of GENERAL MOTORS COMPANY
Fig 34: 5.0L V8 Federal Automatic Trans. C10 Models (Exc. With Air Injection System)
G09360744Courtesy of GENERAL MOTORS COMPANY
Fig 35: 5.7L V8 California Automatic Trans.
G09360745Courtesy of GENERAL MOTORS COMPANY
Fig 36: 5.7L V8 Federal & High Altitude Manual Trans. K10 & K20 Models
G09360746Courtesy of GENERAL MOTORS COMPANY
Fig 37: 5.7L V8 Federal Automatic Trans. C20 & K20 Models
G09360747Courtesy of GENERAL MOTORS COMPANY
Fig 38: 5.7L V8 Federal & High Altitude Manual Trans. G10 Models
G09360748Courtesy of GENERAL MOTORS COMPANY
Fig 39: 5.7L V8 Federal & High Altitude Automatic Trans. K20 Models
G09360749Courtesy of GENERAL MOTORS COMPANY
Fig 40: 5.7L V8 Federal & High Altitude Automatic Trans. G10 & G20 Models
G09360750Courtesy of GENERAL MOTORS COMPANY
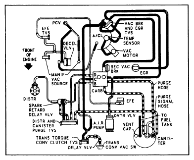
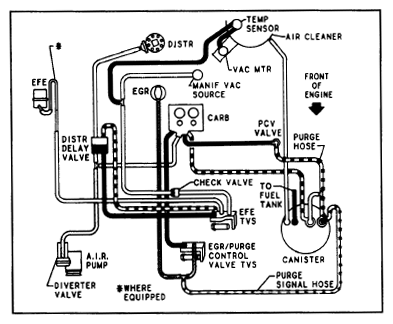
Fig 41: 5.7L V8 Federal G30, P20 & P30 Models
G09360751Courtesy of GENERAL MOTORS COMPANY
Fig 42: 5.7L V8 California Automatic Trans. G20 & G30 Models
G09360752Courtesy of GENERAL MOTORS COMPANY
Fig 43: 5.7L V8 California Automatic Trans. C10, C20 & K10 Models
G09360753Courtesy of GENERAL MOTORS COMPANY
Fig 44: 6.2L V8 Federal & High Altitude Automatic & Manual Trans. C20, C30, K20 & K30 Models
G09360754Courtesy of GENERAL MOTORS COMPANY
Fig 45: 6.2L V8 California, Federal & High Altitude Automatic & Manual Trans. C10, C20, K10 & K20 Models
G09360755Courtesy of GENERAL MOTORS COMPANY
Fig 46: 6.2L V8 California, Federal & High Altitude Automatic & Manual Trans. C10, C20, K10 & K20 Models
G09360756Courtesy of GENERAL MOTORS COMPANY
Fig 47: 7.4L V8 Federal C20, C30, K20 & K30 Models
G09360757Courtesy of GENERAL MOTORS COMPANY
Fig 48: 7.4L V8 California C20, C30, K20 & K30 Models
G09360758Courtesy of GENERAL MOTORS COMPANY