lemon-mirror:
Home >> GMC >> 1985 >> Jimmy 5.7 L >> Repair and Diagnosis >> Body & Frame >> Windows >> Power Windows - Side >> Testing >> Window Motor

Window Motor

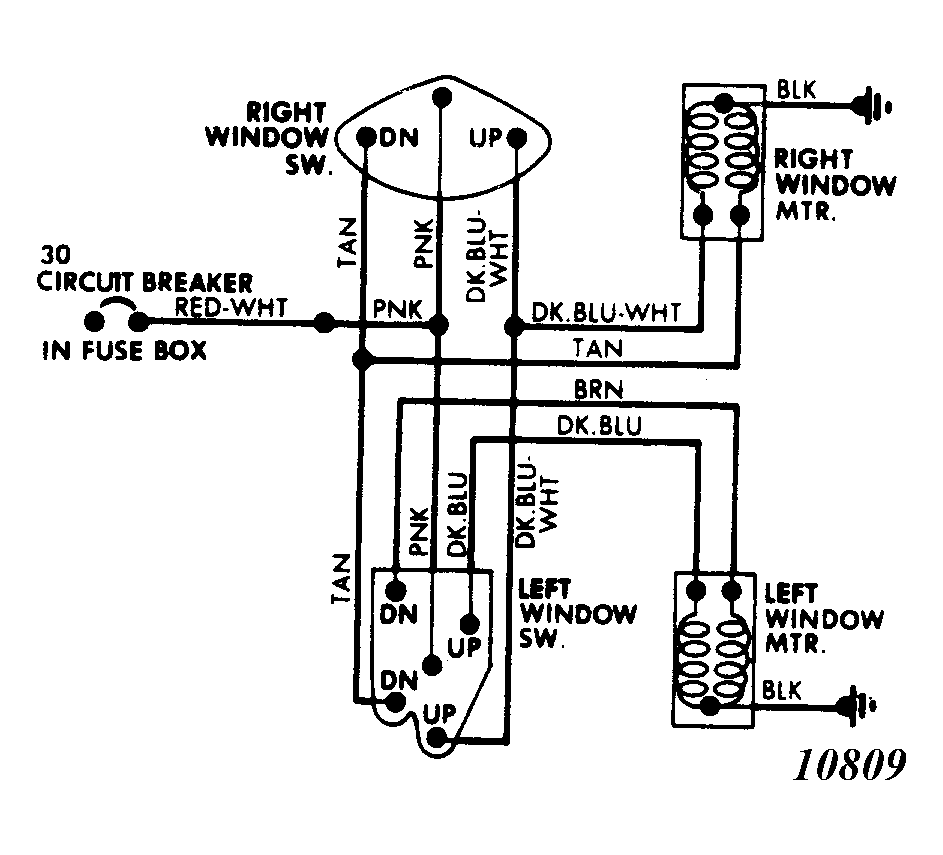
Check power feed to motor terminals. If power is available, check motor ground. Inspect window regulator and channels for possible binding. Connect a jumper wire to other motor terminal. Motor should operate window up and down. If not, replace motor.

Fig 1: Power Window Wiring Diagram - Two-door is shown, others are similar.
G10809