lemon-mirror:
Home >> GMC >> 1992 >> Forward Control 7.4 N >> Repair and Diagnosis >> Engine Performance >> System >> Engine Controls - Tests W/Codes - Diesel >> Diagnostic Charts >> Code 12, No Reference Pulse

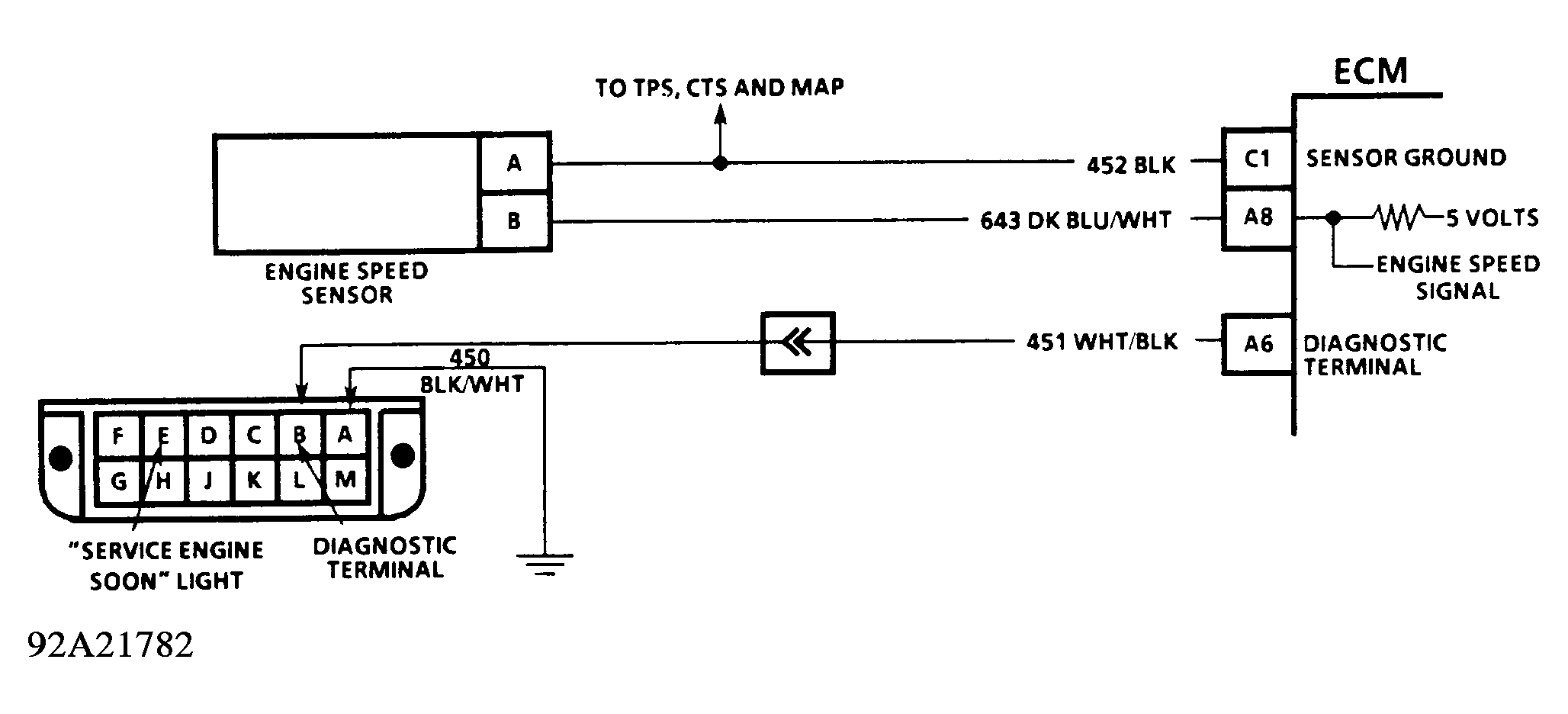
Code 12, No Reference Pulse

Code 12 indicates ECM is on, and sees no reference pulse from engine speed sensor. Code display is normal with ignition on and engine not running. Code 12 is not stored and will only flash when fault is present. Code 12 with engine running could indicate an open or ground in engine speed sensor reference circuit.

The engine speed sensor is a camshaft-driven pick-up, mounted at center rear of engine. Sensor is supplied with a 5-volt reference voltage by ECM, and allows ECM to measure engine RPM by the number of times voltage is pulsed. The engine speed sensor pulses reference voltage 4 times per revolution.

NOTE: Test numbers refer to numbers on diagnostic chart.
  1. This tests for a good 5-volt reference. Normally, ECM should be at about 5 volts for fully charged batteries.
  2. This tests for proper ECM voltage to the engine speed sensor. If circuit to ECM is complete, normal voltage will be about 5 volts with harness disconnected from sensor.
  3. This tests for good sensor ground circuit No. 452 from sensor to ECM. Since result of test 2) indicates an open exists, this test will determine if open is in wire or at ECM.
Fig 1: CODE 12, Schematic, No Reference Pulse "C" & "K"
G92H21771Courtesy of GENERAL MOTORS CORP.
Fig 2: CODE 12, Schematic, No Reference Pulse "G"
G92A21782Courtesy of GENERAL MOTORS CORP.
Fig 3: CODE 12, Flow Chart, No Reference Pulse
G90F13974Courtesy of GENERAL MOTORS CORP.