lemon-mirror:
Home >> GMC >> 1993 >> Forward Control 7.4 N >> Repair and Diagnosis >> Electrical >> Component Locations >> Electrical Component Locator >> Control Units

Control Units

CONTROL UNITS LOCATION

Component Location
ABS Module
Rear Wheel ABS On left side of engine compartment.
4-Wheel ABS Under right side of vehicle, on frame rail.
Audio Alarm Module Behind dash, below fuse block.
Brake Booster Delay Module ("P" Series) Behind left side of dash, on parking brake support bracket.
Coolant Level Indicator Module Behind left side of dash.
Cruise Control Module On top of rear parking brake bracket.
Daytime Running Lights (DRL) Module Behind left side of dash, above steering column.
Diode Array Module Behind left side of dash, in dash harness.
Electronic Delay Module Behind left side of dash.
Glow Plug Controller
"G" Series On left side of engine.
"P" Series On top rear of engine.
Hot Fuel Handling Module
"G" Series 5.0L (VIN H) & 5.7L (VIN K) Under driver's seat. See Figure.
"G" Series 7.4L (VIN N) Under driver's seat. See Figure.
"G" Series 5.7L (VIN K) On left "B" pillar. See Figure.
"G" Series 7.4L (VIN N) On left "B" pillar. See Figure.
"P" Series 4.3L (VIN Z - A/T) Behind left side of shipping panel. See Figure.
"P" Series 4.3L (VIN Z - M/T) Behind left side of shipping panel. See Figure.
"P" Series 7.4L (VIN N) Behind left side of shipping panel. See Figure.
Keyless Entry Module Behind right side of dash.
Knock Sensor Module
"P" Series 4.3L (VIN Z - M/T) On top right of engine, on valve cover. See Figure.
"P" Series 5.7L (VIN K - M/T) On top right of engine, on valve cover. See Figure.
Power Door Lock Delay Module Behind dash, to right of steering column.
Powertrain Control Module (PCM)
"G" Series 4.3L (VIN Z) Under driver's seat. See Figure.
"G" Series 5.0L (VIN H) & 5.7L (VIN K) Under driver's seat. See Figure.
"G" Series 7.4L (VIN N) Under driver's seat. See Figure.
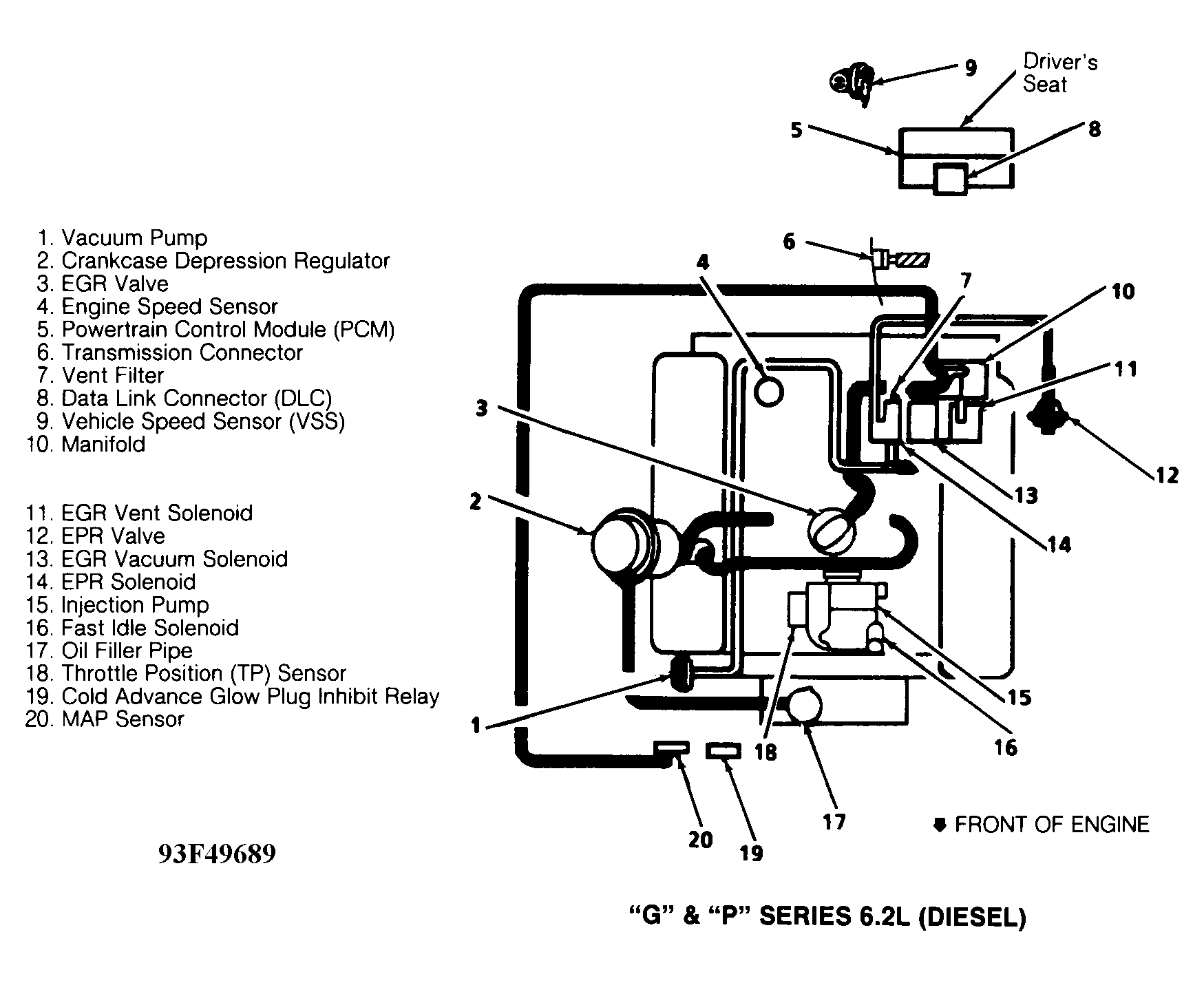
"G" & "P" Series 6.2L (Diesel) Under driver's seat. See Figure.
"G" Series 5.7L (VIN K) On left "B" Pillar.
"G" Series 7.4L (VIN N) On left "B" Pillar.
Diesel "G" & "P" Series 6.2L Under driver's seat. See Figure.
Gas
"P" Series 4.3L (VIN Z - A/T) Behind left side of shipping panel. See Figure.
"P" Series 4.3L (VIN Z - M/T) Behind left side of shipping panel. See Figure.
"P" Series 5.7L (VIN K - A/T) Behind left side of shipping panel. See Figure.
"P" Series 5.7L (VIN K - M/T) Behind left side of shipping panel. See Figure.
"P" Series 7.4L (VIN N) Behind left side of shipping panel. See Figure.
Transmission Control Module
"G" Series Under driver's seat.
"P" Series Behind left side of shipping panel.
Windshield Wiper Motor Module Behind center of dash, on firewall.