lemon-mirror:
Home >> GMC >> 2000 >> C3500 HD 6.5 F, Automatic >> Repair and Diagnosis >> Engine Performance >> System >> Engine Control System Self-Diagnostics - Diesel >> Diagnostic Tests >> DTC P0216: Injection Timing Control System >> Notes

DTC P0216: Injection Timing Control System: Notes

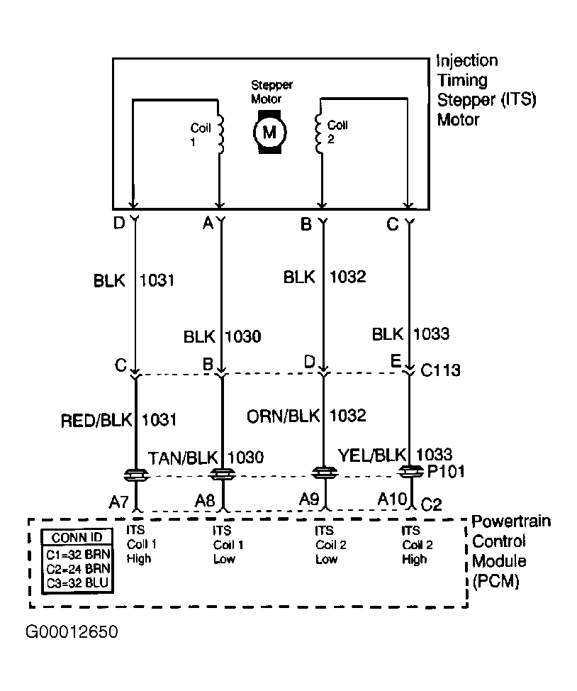
NOTE: For circuit reference, refer to appropriate schematic. See Fig 1 or Fig 2 .
Fig 1: Injection Timing Control System Circuit Diagram ("C" & "K" Series)
G00012650Courtesy of GENERAL MOTORS CORP.
Fig 2: Injection Timing Control System Circuit Diagram ("G" Series)
G96H29527Courtesy of GENERAL MOTORS CORP.