lemon-mirror:
Home >> GMC >> 2000 >> C3500 HD 6.5 F, Automatic >> Repair and Diagnosis >> Engine Performance >> System >> Engine Control System Self-Diagnostics - Diesel >> Diagnostic Tests >> DTC P0370: Timing Reference High Resolution >> Notes

DTC P0370: Timing Reference High Resolution: Notes

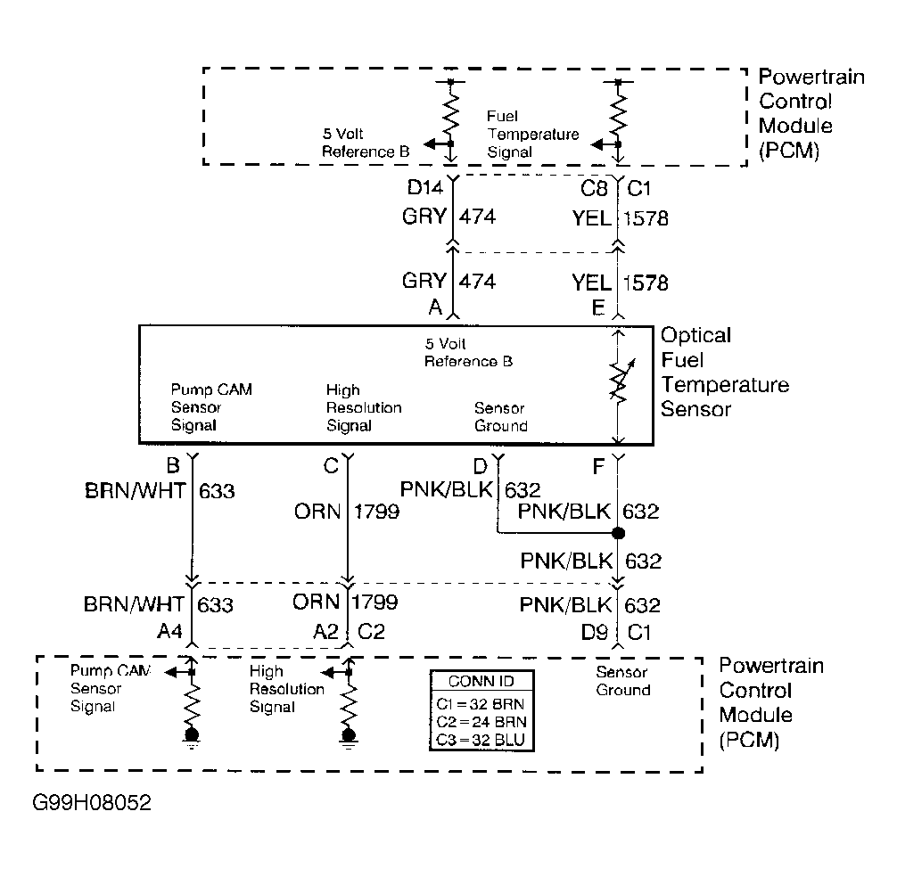
NOTE: For circuit reference, refer to DTC P0182 schematic. See Figure.