lemon-mirror:
Home >> GMC >> 2001 >> C3500 HD 6.5 F, Automatic >> Repair and Diagnosis >> Brakes >> Traction Control >> Anti-Lock Brake System >> Repair Instructions >> Electronic Brake Control Module Replacement >> Installation Procedure

Installation Procedure

IMPORTANT:
  • Do not reuse the old mounting screws. Always install new mounting screws with the new EBCM.
  • Do not use RTV or any other type of sealant on the EBCM gasket or mating surfaces.
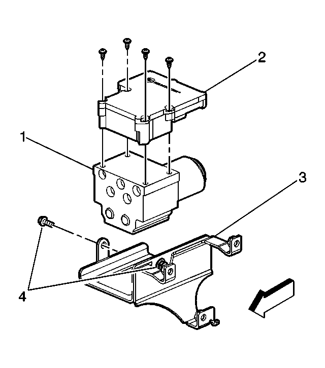
    Fig 1: Exploded View Of EBCM & BPMV Components (w/o JL4)
    GM379484Courtesy of GENERAL MOTORS COMPANY
  1. Install the EBCM (2) on to the BPMV (1).
  2. Refer to FASTENER NOTICE in Cautions and Notices.

    Install the new screws in the EBCM (2).

    Tighten 

    Tighten the screws to 5 N.m (39 lb in) in an X-pattern.

  3. Fig 2: View Of EBCM/EHCU Assembly
    GM379478Courtesy of GENERAL MOTORS COMPANY
  4. Install or tighten the EHCU bracket mounting bolts (4).

    Tighten 

    Tighten the EHCU bracket mounting bolts to 25 N.m (18 lb ft).

  5. Connect the electrical connectors to the EBCM.
  6. Lower the vehicle.
  7. Connect the negative battery cable.
  8. Revise the tire calibration using the Scan Tool Tire Size Calibration function.
  9. Return to Diagnostic Starting Point - Antilock Brake System .