lemon-mirror:
Home >> GMC >> 2001 >> C3500 HD 6.5 F, Automatic >> Repair and Diagnosis >> Engine Performance >> System >> Engine Controls - 6.5L (L65) (Introduction) >> Component Locator >> Engine Controls Component Views

Engine Controls Component Views

Fig 1: C100, C103 & C104-Left Rear of Engine Compartment
GM709608Courtesy of GENERAL MOTORS CORP.
Callout Component Name
1 Engine Harness
2 C100
3 C104
4 C103
5 Tail Lamps Extension Harness
Fig 2: C100, C102, Underhood Fuse Block, EBCM & Brake Pressure Differential Switch
GM709610Courtesy of GENERAL MOTORS CORP.
Callout Component Name
1 Forward Lamps Harness
2 Underhood Fuse Block
3 Electric Brake Control Module (EBCM)
4 Brake Pressure Differential Switch
5 Wheel Speed Sensor Harness
6 Engine Harness
7 C100
8 Glow Plug Power Wire - L65
9 Battery Positive Wire
10 C102
Fig 3: C106, C112, C113, C114, Fuel Filter Connectors & Glow Plug Relay
GM709613Courtesy of GENERAL MOTORS CORP.
Callout Component Name
1 Glow Plug Relay Connector
2 Water in fuel Sensor - 3-way
3 C114 - 3-way
4 C112 - 8-way
5 C113 - 15-way
6 Fuel Heater - 2-way
7 Engine Harness
8 C106 - 1-way
9 Glow Plug Relay
10 Glow Plug Harness - Left Side
11 Engine Harness to Front of Engine
12 Engine Harness
Fig 4: Engine Oil Pressure (EOP) Sensor & Fuel Pump Switch
GM192947Courtesy of GENERAL MOTORS CORP.
Callout Component Name
1 Engine Oil Pressure (EOP) Sensor and Fuel Pump Switch
2 Engine Block
Fig 5: Glow Plug Relay & Turbocharger Wastegate Solenoid
GM709616Courtesy of GENERAL MOTORS CORP.
Callout Component Name
1 Intake Manifold
2 Glow Plug Relay
3 Engine Wiring Harness
4 Glow Plug Harness - Left Side
5 Injector - Typical
6 Glow Plug - Typical
7 Turbocharger Wastegate Solenoid
Fig 6: C115, A/C Compressor & Engine Coolant Temperature (ECT) Gauge Sensor
GM709617Courtesy of GENERAL MOTORS CORP.
Callout Component Name
1 Air Cleaner
2 C115
3 A/C High Pressure Recirculation Switch Connector
4 Turbocharger Wastegate Solenoid
5 Glow Plug Relay
6 Engine Harness
7 Glow Plug Harness - Left Side
8 Injector - Typical
9 Glow Plugs - Typical
10 Engine Coolant Temperature (ECT) Gage Sensor
11 A/C High Pressure Switch
12 A/C Compressor
13 A/C Compressor Clutch Connector
Fig 7: Crankshaft Position (CKP) Sensor
GM192948Courtesy of GENERAL MOTORS CORP.
Callout Component Name
1 Front Engine Cover
2 Crankshaft Position (CKP) Sensor
3 Mounting Bolt
Fig 8: C115, Generator & Engine Coolant Temperature Sensor - L65
GM709618Courtesy of GENERAL MOTORS CORP.
Callout Component Name
1 C115
2 Engine Coolant Temperature (ECT) Sensor
3 Generator
4 Generator Connector
5 Generator Jumper Harness
Fig 9: Overhead Engine View, IAT, MAP, ECT Sensors
GM709611Courtesy of GENERAL MOTORS CORP.
Callout Component Name
1 Glow Plug Relay
2 Turbocharger Wastegate Solenoid
3 Intake Air Temperature (IAT) Sensor
4 Turbocharger Boost Sensor
5 Engine Coolant Temperature (ECT) Sensor
6 Wastegate Actuator
7 Turbocharger
8 Crankcase Depression Regulator (CDR) Valve
9 Fuel Filter, Heater, Water-in-Fuel Sensor
Fig 10: Fuel Filter/Manager & Fuel Injection Pump
GM712730Courtesy of GENERAL MOTORS CORP.
Callout Component Name
1 Fuel Filter/Manager Housing
2 Fuel Hose to Injection Pump
3 Fuel Injection Pump
4 Intake Manifold
5 Fuel/Water Separator Hose to Water Drain Valve
6 Water in fuel Indicator Sensor
7 Fuel Heater
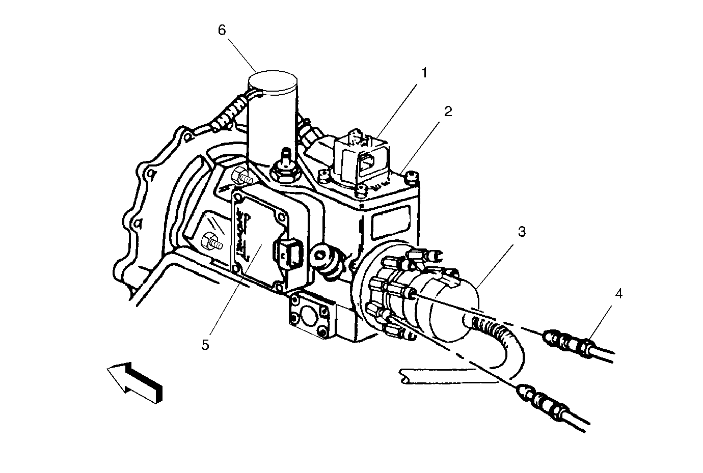
Fig 11: ECT Sensor, ITS Motor & Fuel Temperature Sensor/Optical CMP Sensor
GM192956Courtesy of GENERAL MOTORS CORP.
Callout Component Name
1 Engine Coolant Temperature (ECT) Sensor
2 Fuel Injection Pump
3 Injection Timing Stepper (ITS) Motor
4 Fuel Solenoid
5 Fuel Temperature Sensor and Optical Camshaft Position (CMP) Sensor
Fig 12: Fuel Solenoid & Fuel Solenoid Driver, ESO Solenoid & Fuel Temperature Sensor
GM192955Courtesy of GENERAL MOTORS CORP.
Callout Component Name
1 Fuel Temperature Sensor and Optical Camshaft Position (CMP) Sensor
2 Fuel Injection Pump
3 Fuel Solenoid
4 Fuel Injector Lines
5 Fuel Solenoid Driver
6 Engine Shut Off (ESO) Solenoid
Fig 13: G110 & Starter
GM709620Courtesy of GENERAL MOTORS CORP.
Callout Component Name
1 Engine Harness
2 Glow Plug Wiring
3 Exhaust Manifold
4 Starter Solenoid Stud
5 Starter Wire
6 Battery Positive Cable
7 Starter
8 Frame
9 Ground Strap from Engine
10 G110
11 Ground from Body
12 Heat Shield
Fig 14: Coolant Level Switch, P101, G108 & A/C Low Pressure Switch
GM709827Courtesy of GENERAL MOTORS CORP.
Callout Component Name
1 Coolant Reservoir
2 A/C Low Pressure Switch
3 G108
4 Underhood Lamp Connector
5 Underhood Lamp Ground Strap
6 Engine Harness
7 Radiator Surge Hose
8 P101
9 Coolant Return Hose
10 Coolant Level Switch
Fig 15: Vehicle Speed Sensor, C122 & Park/Neutral Position (PNP) Switch - Automatic Transmission
GM697264Courtesy of GENERAL MOTORS CORP.
Callout Component Name
1 Engine Harness
2 Vehicle Speed Sensor (VSS) - Transmission Output Shaft Speed Sensor
3 C122
4 PNP C2
5 PNP C1
6 PNP Switch
7 Automatic Transmission Input Shaft Speed (ISS) Sensor
Fig 16: Vehicle Speed Sensor & Backup Lamp Switch - Manual Transmission
GM697261Courtesy of GENERAL MOTORS CORP.
Callout Component Name
1 Engine Harness
2 Vehicle Speed Sensor (VSS) - Transmission Output Shaft Speed Sensor
3 Connector to Backup Lamp Switch
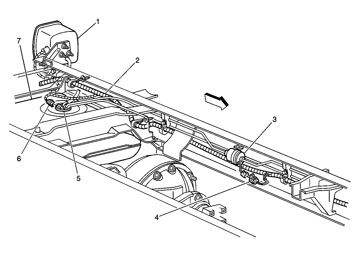
Fig 17: G404, Fuel Tank & Level Sensor Assembly
GM192975Courtesy of GENERAL MOTORS CORP.
Callout Component Name
1 Frame Rail - Left
2 Fuel Lines
3 Ground G404
4 Fuel Tank
5 Fuel Level Sensor Assembly
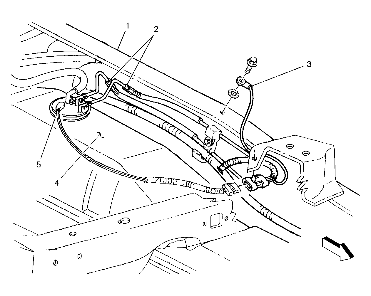
Fig 18: Fuel Balance Module, Balance Pump Relay & Fuel Pump
GM706347Courtesy of GENERAL MOTORS CORP.
Callout Component Name
1 Left Frame Rail
2 Left Rear Cab Mount
3 Fuel Balance Pump Relay
4 Fuel Pump
5 Tail Lamps Extension Harness
6 Fuel Pump Connector
7 Fuel Balance Module
Fig 19: Auxiliary Fuel Tank & Fuel Pump - Secondary - Dual Tank Option
GM705239Courtesy of GENERAL MOTORS CORP.
Callout Component Name
1 Left Tail Lamp Assembly
2 Tail Lamp Extension Harness
3 Fuel Pump - Secondary
4 Fuel Pump - Secondary Connector
5 Fuel Level Sensor - Secondary Assembly
6 Fuel Level Sensor - Secondary Connector
7 Auxiliary Fuel Tank
Fig 20: C200, C203, C204, PCM & VSS Buffer
GM697259Courtesy of GENERAL MOTORS CORP.
Callout Component Name
1 C200
2 C204
3 IP Harness
4 IP Compartment Opening
5 Powertrain Control Module (PCM) - L65
6 Vehicle Speed Sensor (VSS) Buffer
7 HVAC Module
8 C203
Fig 21: VSS Buffer Mounting
GM709621Courtesy of GENERAL MOTORS CORP.
Callout Component Name
1 PCM Mounting Tray
2 Blower Motor
3 VSS Buffer
Fig 22: Daytime Running Lamp (DRL) Diode
GM372215Courtesy of GENERAL MOTORS CORP.
Callout Component Name
1 IP Harness
2 Daytime Running Lamps (DRL) Diode Connector
3 DRL Diode
4 Theft Deterrent Control Module Connector
5 Theft Deterrent Control Module
Fig 23: Accelerator Pedal Position (APP) Sensor
GM696088Courtesy of GENERAL MOTORS CORP.
Callout Component Name
1 IP Harness
2 Accelerator Pedal Position (APP) Sensor
Fig 24: Data Link Connector (DLC)
GM542437Courtesy of GENERAL MOTORS CORP.
Callout Component Name
1 Data Link Connector (DLC)