lemon-mirror:
Home >> GMC >> 2004 >> Envoy 4WD >> Repair and Diagnosis >> Engine Performance >> System >> Engine Control System - 4.2L (Introduction) >> Component Locator >> Powertrain Control Module (PCM) Connectors

Powertrain Control Module (PCM) Connectors

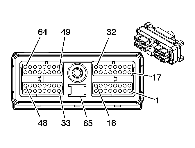
Powertrain Control Module (PCM) C1 Connector End View

GM697006Courtesy of GENERAL MOTORS CORP.
Connector Part Information
  • 15354782
  • 65-Way F (BU)
Pin Wire Color Circuit No. Function
1 L-BU 1162 APP Sensor 2 Signal
2 D-BU 1161 APP Sensor 1 Signal
3 L-BU 1320 Stop Lamp Supply Voltage
4 GY/BK 1694 4WD Low Signal (NP8)
5 GY/BK 87 Cruise Control Resume/Accel Switch Signal
6 D-BU 84 Cruise Control Set/Coast Switch Signal
7 BN/WH 419 MIL Control
8 OG/BK 510 Low Reference
9 - - Not Used
10 BN 1271 Low Reference
11 PU 1272 Low Reference
12 BK 2759 Low Reference
13 BK 2760 Low Reference
14 BK 2751 Low Reference
15-16 - - Not Used
17 GY 397 Cruise Control On Switch Signal
18 - - Not Used
19 PK 439 Ignition 1 Voltage
20 OG 440 Battery Positive Voltage
21 PK 1020 Ignition 0 Voltage
22 PU 1589 Fuel Level Sensor Signal - Primary
23-24 - - Not Used
25 YE/BK 1827 Vehicle Speed Signal
26-27 - - Not Used
28 PU 420 TCC Brake/Cruise Control Release Switch Signal
29 D-GN 1433 PNP Switch Signal
30 TN 472 IAT Sensor Signal
31 PU 806 Crank Voltage
32 D-GN/WH 817 Vehicle Speed Signal
33-40 - - Not Used
41 RD/BK 380 A/C Refrigerant Pressure Sensor Signal
42 D-GN/WH 459 A/C Compressor Clutch Relay Control
43 D-BU 2364 Cooling Fan Speed Signal
44 BN 436 Air Pump Relay Control (K18)
45-47 - - Not Used
48 YE/BK 625 Starter Enable Relay Control
49 WH 121 Engine Speed Signal
50-53 - - Not Used
54 GY 2700 5-Volt Reference
55 WH/BK 1164 5-Volt Reference
56 - - Not Used
57 WH/BK 2366 Cooling Fan Clutch Control
58 YE 710 Class 2 Serial Data
59 D-GN 1049 Class 2 Serial Data
60 GY 2365 Low Reference
61 D-GN 890 Fuel Tank Pressure Sensor Signal
62 GY 2709 5-Volt Reference
63 TN 1274 5-Volt Reference
64-65 - - Not Used
Powertrain Control Module (PCM) C2 Connector End View

GM697006Courtesy of GENERAL MOTORS CORP.
Connector Part Information
  • 15354781
  • 65-Way F (D-GY)
Pin Wire Color Circuit No. Function
1 PU 574 Low Reference
2 L-GN/BK 822 VSS Low Signal
3 D-GN/WH 465 Fuel Pump Relay Control - Primary
4 L-BU/WH 1229 Pressure Control Solenoid Valve Low Control
5 RD/BK 1228 Pressure Control Solenoid Valve High Control
6 YE/BK 846 Fuel Injector 6 Control
7 BK/WH 845 Fuel Injector 5 Control
8 L-BU/BK 844 Fuel Injector 4 Control
9 YE 573 CKP Sensor Signal
10 PU/WH 821 VSS High Signal
11 TN/BK 464 Delivered Torque Signal
12 OG/BK 463 Requested Torque Signal
13 - - Not Used
14 BK 1744 Fuel Injector 1 Control
15 L-GN/BK 1745 Fuel Injector 2 Control
16 PK/BK 1746 Fuel Injector 3 Control
17 WH 1310 EVAP Canister Vent Solenoid Control
18 TN/WH 1669 HO2S Low Signal - Bank 1 Sensor 2
19 YE 410 ECT Sensor Signal
20 D-GN/WH 428 EVAP Canister Purge Solenoid Control
21 - - Not Used
22 BN 418 TCC PWM Solenoid Valve Control
23 PU/WH 1665 HO2S High Signal - Bank 1 Sensor 1
24 - - Not Used
25 L-GN 432 MAP Sensor Signal
26 PU/WH 1668 HO2S High Signal - Bank 1 Sensor 2
27 WH 687 3-2 Shift Solenoid Valve Control
28 BK/WH 771 Transmission Range Switch Signal A
29 TN/BK 231 Oil Pressure Switch Signal
30 BK/WH 1423 HO2S Heater Low Control - Bank 1 Sensor 2
31 D-GN 676 HO2S Heater Low Control - Bank 1 Sensor 1
32 TN 1664 HO2S Low Signal - Bank 1 Sensor 1
33 - - Not Used
34 L-BU/WH 2126 IC 6 Control
35 L-BU 2123 IC 3 Control
36 - - Not Used
37 TN/BK 422 TCC Solenoid Valve Control
38 - - Not Used
39 BN 2198 Camshaft Position Solenoid Actuator High Control
40 D-GN 2125 IC 5 Control
41 D-GN/WH 2124 IC 4 Control
42 RD/WH 2122 IC 2 Control
43 - - Not Used
44 PU 2121 IC 1 Control
45-50 - - Not Used
51 GY 23 Generator Field Duty Cycle Signal
52-53 - - Not Used
54 OG/BK 469 Low Reference
55-56 - - Not Used
57 YE/BK 1223 2-3 Shift Solenoid Valve Control
58 BK 2761 Low Reference
59 L-GN 1222 1-2 Shift Solenoid Valve Control
60-61 - - Not Used
62 BK 2199 Low Reference
63 - - Not Used
64 GY 2704 5-Volt Reference
65 BK 450 Ground
Powertrain Control Module (PCM) C3 Connector End View

GM697006Courtesy of GENERAL MOTORS CORP.
Connector Part Information
  • 15354780
  • 65-Way F (WH)
Pin Wire Color Circuit No. Function
1 D-BU 496 KS 1 Signal
2 RD 225 Generator Turn On Signal
3 GY 2701 5-Volt Reference
4-7 - - Not Used
8 BK 2762 Low Reference
9 L-BU 1876 Knock Sensor 2 Signal
10 D-BU 1225 Transmission Fluid Pressure Switch Signal B
11 - - Not Used
12 YE 772 Transmission Range Switch Signal B
13 WH 776 Transmission Range Switch Signal P
14 PU 421 Air Solenoid Relay Control (K18)
15 - - Not Used
16 BK/WH 1704 Low Reference
17 PK 839 Ignition 1 Voltage
18 RD 631 12-Volt Reference
19 RD 1226 Transmission Fluid Pressure Switch Signal C
20 GY 773 Transmission Range Switch Signal C
21 PK 1224 Transmission Fluid Pressure Switch Signal A
22 YE/BK 1227 TFT Sensor Signal
23 GY 1716 Low Reference
24 - - Not Used
25 BN 582 TAC Motor Control - 2
26 YE 581 TAC Motor Control - 1
27 - - Not Used
28 D-GN 485 TP Sensor 1 Signal
29 PK/BK 632 Low Reference
30 PU 486 TP Sensor 2 Signal
31 GY 2303 Low Reference
32-48 - - Not Used
49 L-BU/BK 1688 5-Volt Reference
50 - - Not Used
51 BN/WH 633 CMP Sensor Signal
52-57 - - Not Used
58 PU 114 Low Oil Pressure Switch Signal
59 BK 2752 Low Reference
60 GY 597 5 Volt Reference
61-65 - - Not Used