lemon-mirror:
Home >> GMC >> 2005 >> Jimmy Part Time, Automatic >> Repair and Diagnosis >> Electrical >> Body Electrical >> Accessory Power Socket >> Component Locator >> Power Outlet Connectors

Power Outlet Connectors

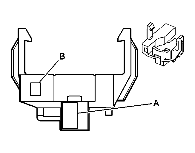
Accessory Power Outlet - Left

GM258167Courtesy of GENERAL MOTORS CORP.
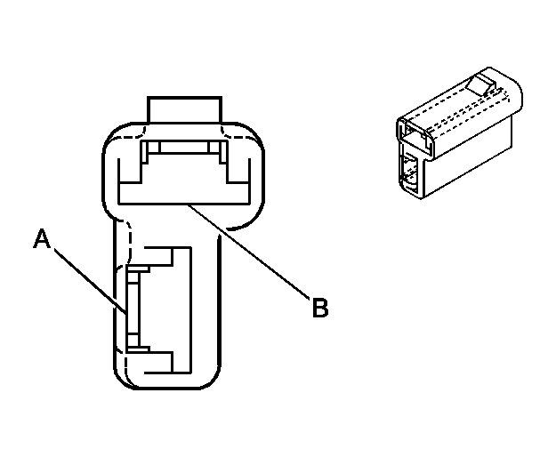
Connector Part Information
  • 12033934
  • 2-Way F 56 Series, (MD GRY)
Pin Wire Color Circuit No. Function
A ORN 1040 Battery Positive Voltage
B BLK 1050 Ground
Accessory Power Outlet - Right

GM258167Courtesy of GENERAL MOTORS CORP.
Connector Part Information
  • 12033934
  • 2-Way F 56 Series (MD GRY)
Pin Wire Color Circuit No. Function
A ORN 1040 Battery Positive Voltage
B BLK 1050 Ground
Cigar Lighter

GM38228Courtesy of GENERAL MOTORS CORP.
Connector Part Information
  • 12047699
  • 2-Way F Miscellaneous Connectors Series (GRY)
Pin Wire Color Circuit No. Function
A ORN 640 Battery Positive Voltage
B BLK 1050 Ground