lemon-mirror:
Home >> Genesis >> 2017 >> G80 3.8, AWD >> Repair and Diagnosis >> Engine Performance >> Engine Control Systems >> Engine Control/Fuel System - 3.8L - General Information >> Troubleshooting >> Basic Troubleshooting >> Connector Inspection Procedure

Connector Inspection Procedure

  1. Handling of Connector
    1. When disconnecting the connectors, pull on the connector, not the wiring harness.
      Fig 1: Caution For Disconnecting Connectors
      G11354951Courtesy of HYUNDAI MOTOR AMERICA
    2. When removing the connector with a lock, press or pull locking lever.
      Fig 2: Removing Connector With Lock
      G11354952Courtesy of HYUNDAI MOTOR AMERICA
    3. When connecting the connectors, check whether a clicking sound is heard to make sure that the connectors are securely connected.
      Fig 3: Checking Whether Clicking Sound Heard To Connectors
      G11354953Courtesy of HYUNDAI MOTOR AMERICA
    4. When a tester is used to check for continuity, or to measure voltage, always insert the test probe in the wiring harness side.
      Fig 4: Caution For Inserting Test Probe In Wiring Harness Side
      G11354954Courtesy of HYUNDAI MOTOR AMERICA
    5. Check waterproof connector terminals from the connector side. Waterproof connectors cannot be accessed through the harness side.
      Fig 5: Caution For Checking Waterproof Connector Terminals From Connector Side
      G11354955Courtesy of HYUNDAI MOTOR AMERICA
    NOTE:
    • Use a fine wire to prevent the terminal from being damaged.
    • Do not damage the terminal when inserting the tester lead.
  2. Checking Point for Connector
    1. While the connector is connected:

      Hold the connector, check connecting condition and locking efficiency.

    2. When the connector is disconnected:

      Check missed terminal, crimped terminal or broken core wire by slightly pulling the wire harness.

      Visually check for rust, contamination, deformation and sagging.

    3. Check terminal tightening condition:

      Insert a spare male terminal into a female terminal, and then check terminal tightening conditions.

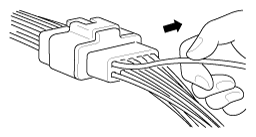
    4. Pull lightly on individual wires to ensure that each wire is secured in the terminal.
    Fig 6: Pulling Lightly On Individual Wires
    G11354956Courtesy of HYUNDAI MOTOR AMERICA
  3. Repair Method of Connector Terminal
    1. Clean the contact points using air gun and/or a cotton towel.
      NOTE: Never use sand paper when polishing the contact points, otherwise the contact point may be damaged.
    2. In case of abnormal contact pressure, replace the female terminal.