lemon-mirror:
Home >> Geo >> 1989 >> Metro Base >> Repair and Diagnosis >> Engine Performance >> System >> Tests W/Codes >> Chart A-2, Won't Flash Code 12

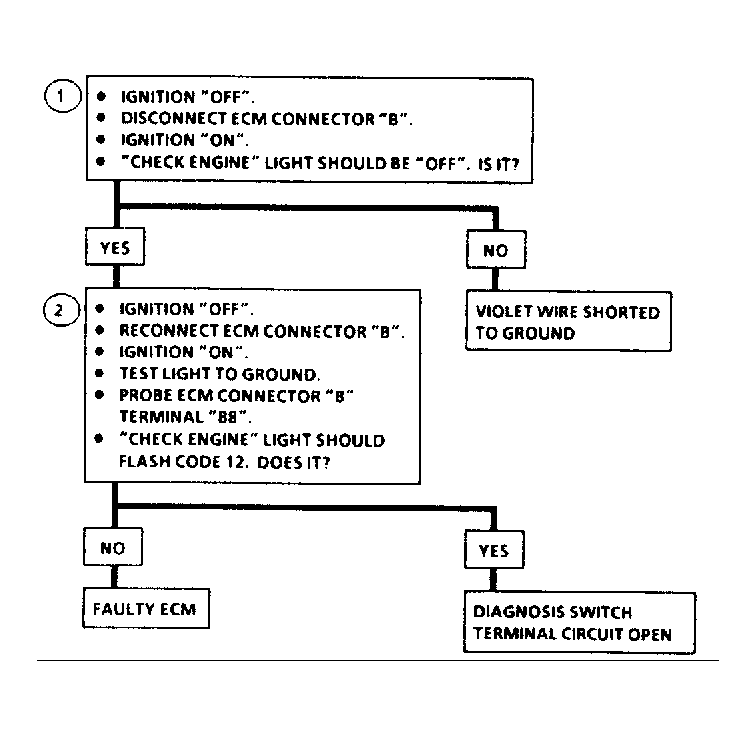
Chart A-2, Won't Flash Code 12

The CHECK ENGINE light should always stay on when ignition switch is in ON position and engine is not running. When diagnostic terminal is grounded the ECM will flash a Code 12, followed by any additional trouble codes. A steady CHECK ENGINE light might be a short to ground or an open diagnostic terminal.

NOTE: Test numbers refer to test numbers on diagnostic chart.
  1. This checks for a grounded light circuit.
  2. This checks if problem is an open circuit in the diagnostic terminal or a faulty ECM.
Fig 1: Chart A-2 Circuit Diagram & Flow Chart
G121602