lemon-mirror:
Home >> Geo >> 1989 >> Metro Base >> Repair and Diagnosis >> Maintenance >> Procedures >> Maintenance Information >> Service Point Locations

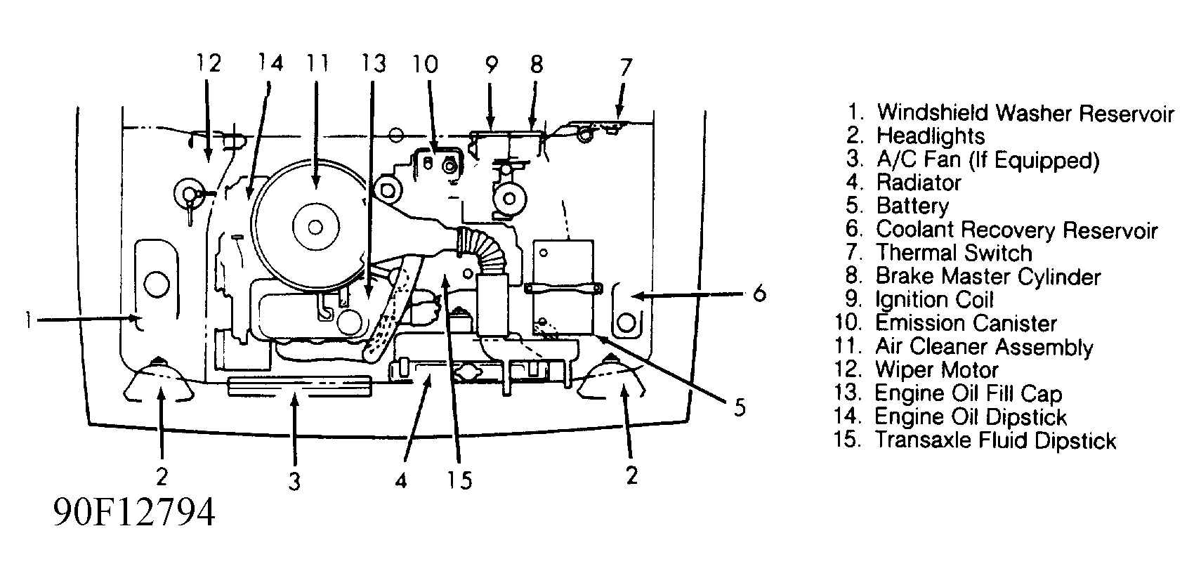
Service Point Locations

Fig 1: Engine Service Point Locations
G90F12794Courtesy of GENERAL MOTORS CORP.