lemon-mirror:
Home >> Geo >> 1997 >> Tracker LSi, RWD >> Repair and Diagnosis >> Engine Performance >> System >> Engine Controls - System/Component Tests 1.6L >> Relays & Solenoids >> Relays >> Main Relay

Main Relay

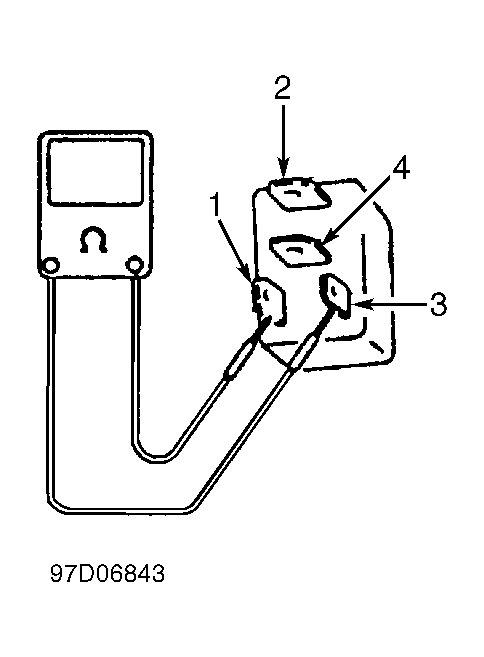
  1. Disconnect negative battery cable. Remove main relay. Main relay is located under instrument panel, attached to side of heater case. Using an ohmmeter, measure resistance between terminals No. 2 and 4. See Figure or Figure .
  2. Continuity should not be present. If continuity is present, replace relay. Measure resistance between terminals No. 1 and 3. On models produced in Japan, resistance should be 61-75 ohms. On models produced in Canada, resistance should be 79-95 ohms. If resistance is not as specified, replace relay. Apply battery voltage and ground to terminals No. 1 and 3. Continuity should now be present between terminals No. 2 and 4. If continuity is not present, replace relay.