lemon-mirror:
Home >> Honda >> 1990 >> Civic Si >> Repair and Diagnosis >> Body & Frame >> Power Windows >> Component Tests >> Relay Test

Relay Test

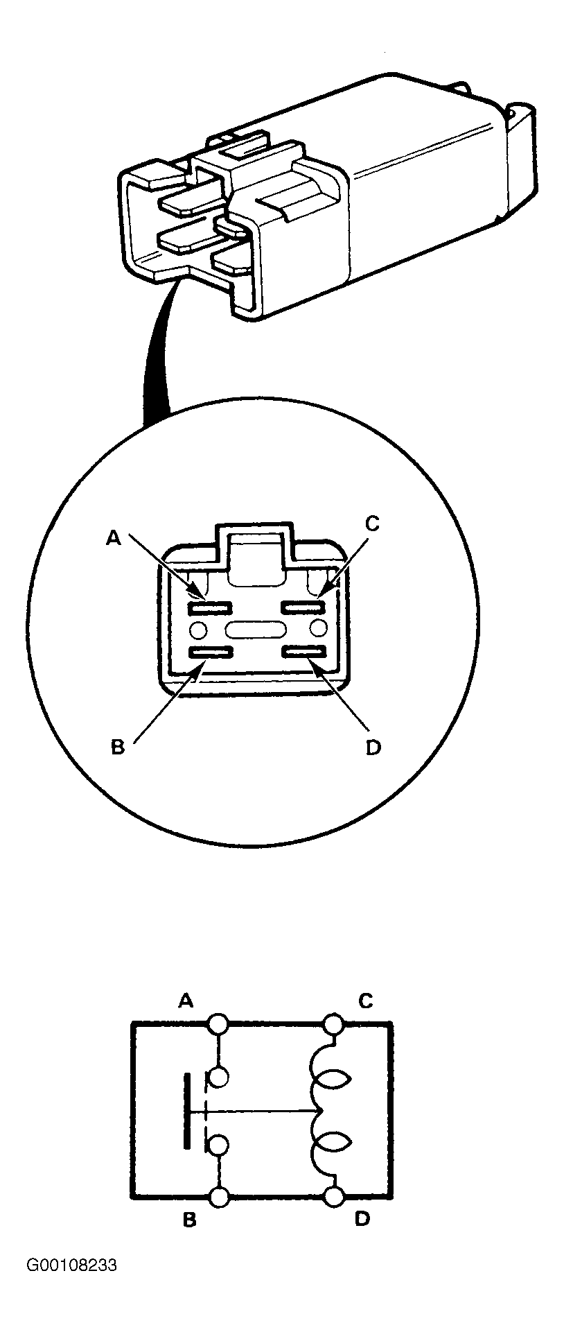
  1. Remove the relay from the dash fuse box. See Figure .
  2. There should be continuity between the A and B terminals when the battery is connected to the C and D terminals. See Fig 1 . There should be no continuity when the battery is disconnected.
Fig 1: Identifying Power Window Relay Terminals
G00108233Courtesy of AMERICAN HONDA MOTOR CO., INC.