lemon-mirror:
Home >> Honda >> 2000 >> Insight >> Repair and Diagnosis >> Body & Frame >> Windows >> Windows And Glass >> Glass Replacement Process

Glass Replacement Process

NOTE:
  • This is a general description of the glass replacement process using the windshield as an example. For the location of clips, rubber dams, and other details, go to the part of this manual that covers the specific glass you are replacing:
  • Wear gloves to protect your hands.
  • Wear eye protection while cutting the glass adhesive with piano wire.
  • Cover interior surfaces to avoid damaging them.
  1. Remove related parts as necessary (see the part of this manual that covers the specific glass you are replacing).
  2. If necessary remove the molding (A) from the edge of the glass (B). If necessary, cut the molding with a utility knife. If the molding is part of the glass, take care not to damage the molding.
    Fig 1: Removing Molding From Edge Of Glass
    G03682553Courtesy of AMERICAN HONDA MOTOR CO., INC.
  3. If the old glass will be reinstalled, make alignment marks across the glass and body with a grease pencil. If the glass aligns with clips, you need not make the alignment marks.
  4. Apply protective tape along the edge of the body and related parts.
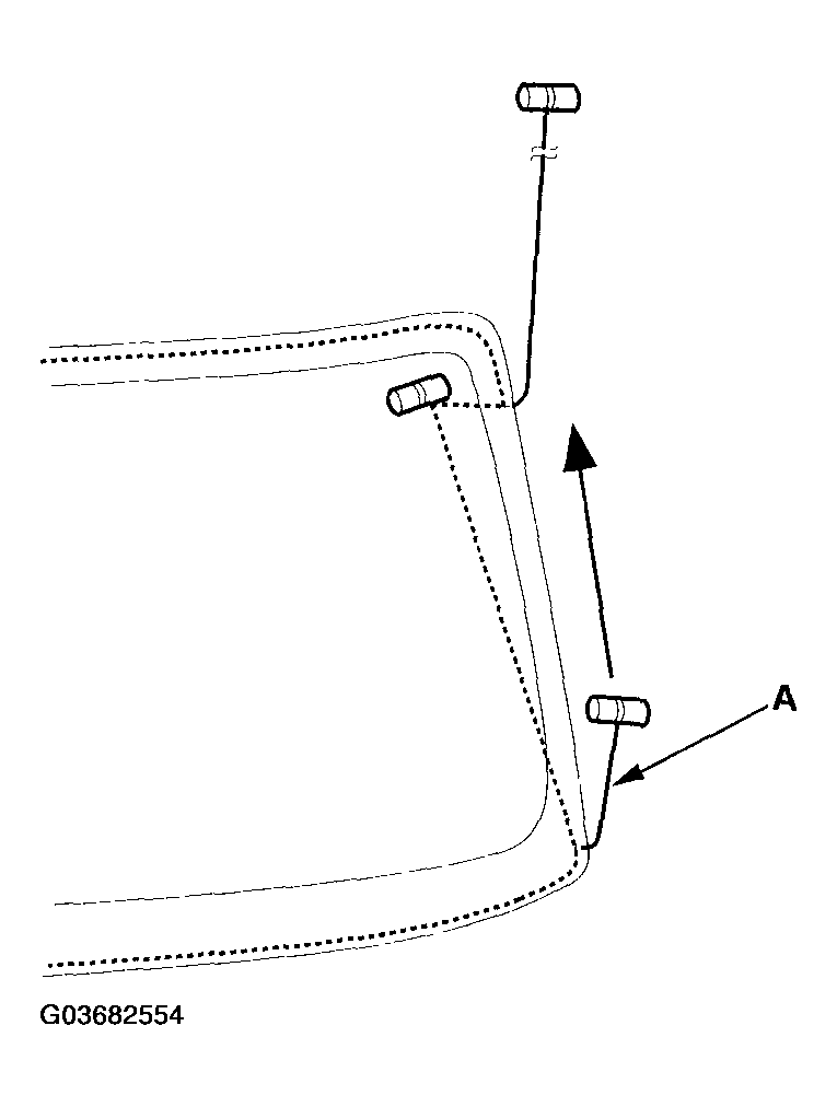
  5. Using an awl, make a hole through the adhesive from inside the vehicle at the comer portion of the glass.
  6. Push a piece of piano wire through the hole, and wrap each end around a piece of wood.
  7. With a helper on the outside, pull the piano wire (A) back and forth in a sawing motion. Hold the piano wire as close to the glass as possible to prevent damage to the body and related parts. Carefully cut through the rubber dam and adhesive around the entire glass.
    Fig 2: Pulling Piano Wire Back And Forth In Sawing Motion
    G03682554Courtesy of AMERICAN HONDA MOTOR CO., INC.
  8. Carefully remove the glass.
  9. With a knife, scrape the old adhesive smooth to a thickness of about 2 mm (0.08 in.) on the bonding surface around the entire glass opening flange:
    • Do not scrape down to the painted surface of the body; damaged paint will interfere with proper bonding.
    • Remove any remaining fasteners from the body.
  10. Clean the body bonding surface with a sponge dampened in alcohol. After cleaning, keep oil, grease, and water from getting on the clean surface.
  11. If the old glass will be reinstalled, use a putty knife to scrape off all of the old adhesive and any remaining parts from the glass. Clean the inside face and the edge of the glass with alcohol where new adhesive will be applied. If the damaged molding is part of the glass, replace it.
  12. Attach any rubber dams (A), fasteners (B), etc. to the inside face of the glass (C). Be careful not to touch the glass where adhesive will be applied.
    Fig 3: Attaching Rubber Dams And Fasteners To Inside Face Of Glass
    G03682555Courtesy of AMERICAN HONDA MOTOR CO., INC.
  13. If there is a molding (A), attach it to the edge of the glass (B) with adhesive tape (C). Be careful not to touch the glass where adhesive will be applied.
    Fig 4: Attaching Molding To Edge Of Glass With Adhesive Tape
    G03682556Courtesy of AMERICAN HONDA MOTOR CO., INC.
  14. Attach any fasteners (A) to the body.
    Fig 5: Attaching Fasteners To Body
    G03682557Courtesy of AMERICAN HONDA MOTOR CO., INC.
  15. If new glass will be installed, set the glass (A) in the opening, and center it. Make alignment marks (B) across the glass and body with a grease pencil. If the glass has alignment clips, alignment marks are not needed. Be careful not to touch the glass where adhesive will be applied.
    Fig 6: Setting Glass In Opening And Making Alignment Marks Across Glass And Body
    G03682558Courtesy of AMERICAN HONDA MOTOR CO., INC.
  16. Remove the glass.
  17. With a sponge, apply a light coat of glass primer around the edge of the glass (A), then lightly wipe it off with gauze or cheesecloth:
    • Apply glass primer to the molding.
    • Do not apply body primer to the glass, and do not get body and glass primer sponges mixed up.
    • Never touch the primed surfaces with your hands. If you do, the adhesive may not bond to the glass properly, causing a leak after the glass is installed.
    • Keep water, dust, and abrasive materials away from the primed surface.
    Fig 7: Applying Light Coat Of Glass Primer Around Edge Of Glass
    G03682559Courtesy of AMERICAN HONDA MOTOR CO., INC.
  18. With a sponge, carefully apply a light coat of body primer to any exposed paint around the flange where new adhesive will be applied. Let the primer dry for at least 10 minutes:
    • Do NOT apply body primer to any remaining original adhesive on the flange.
    • Be careful not to mix up the body and glass primer sponges.
    • Never touch the primed surfaces with your hands.
  19. Cut a "V" in the end of the nozzle (A) on the adhesive cartridge as shown.
    Fig 8: Cutting "V" In End Of Nozzle On Adhesive Cartridge
    G03682560Courtesy of AMERICAN HONDA MOTOR CO., INC.
  20. Put the cartridge in a caulking gun, and run a bead of adhesive (A) around the edge of the glass (B) between the rubber dam (C) and molding (D) as shown. Apply the adhesive within 30 minutes after applying the glass primer. Make a slightly thicker bead at each corner.
    Fig 9: Applying Bead Of Adhesive Around Edge Of Glass Between Rubber Dam And Molding
    G03682561Courtesy of AMERICAN HONDA MOTOR CO., INC.
  21. Use suction cups to hold the glass over the opening, align it with the alignment marks made in step  3 or  15 and/or the clips, and set it down on the adhesive. Lightly push on the glass until its edges are fully seated on the adhesive all the way around. Do not open or close the doors until the adhesive is dry.
  22. Scrape or wipe any excess adhesive off with a putty knife or towel. To remove adhesive from a painted surface or the glass, wipe with a soft shop towel dampened with alcohol.
  23. Let the adhesive dry for at least one hour, then spray water over the glass and check for leaks. Mark any leaking areas, and let the glass dry, then seal with sealant:
    • Let the vehicle stand for at least four hours after glass installation. If the vehicle has to be used within the first four hours, it must be driven slowly.
    • Keep the glass dry for the first hour after installation.
  24. Reinstall all remaining removed parts. Install the rearview mirror after the adhesive has dried thoroughly.
    NOTE: Advise the customer not to do the following things for 2 to 3 days:
    • Slam the doors with all the windows rolled up.
    • Twist the body excessively (as when going in and out of driveways at an angle or driving over rough, uneven roads).