lemon-mirror:
Home >> Honda >> 2000 >> Insight >> Repair and Diagnosis >> Electrical >> Horns >> Horn Test/Replacement

Horn Test/Replacement

  1. Remove the front bumper (see FRONT BUMPER REMOVAL/INSTALLATION ).
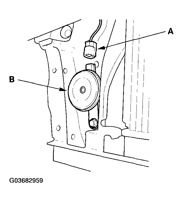
  2. Disconnect the 1P connector (A), and remove the horn (B).
    Fig 1: Removing Horn
    G03682959Courtesy of AMERICAN HONDA MOTOR CO., INC.
  3. Test the horn by connecting battery power to the terminal (A) and grounding the bracket (B). The horn should sound.
    Fig 2: Identifying Connector Terminal And Horn Bracket
    G03682960Courtesy of AMERICAN HONDA MOTOR CO., INC.
  4. If it fails to sound, replace it.