lemon-mirror:
Home >> Honda >> 2000 >> Insight >> Repair and Diagnosis >> Engine Mechanical >> Mechanical >> Engine Block >> Piston, Pin, and Connecting Rod Replacement >> Reassembly

Piston, Pin, and Connecting Rod Replacement: Reassembly

  1. Install a piston pin snap ring (A) only on one side.
    Fig 1: Installing Piston Pin Snap Ring
    G03680518Courtesy of AMERICAN HONDA MOTOR CO., INC.
  2. Coat the piston pin bore in the piston, the bore in the connecting rod, and the piston pin with new engine oil.
  3. Heat the piston to about 158°F (70°C).
    Fig 2: Applying Heat To Piston
    G03680519Courtesy of AMERICAN HONDA MOTOR CO., INC.
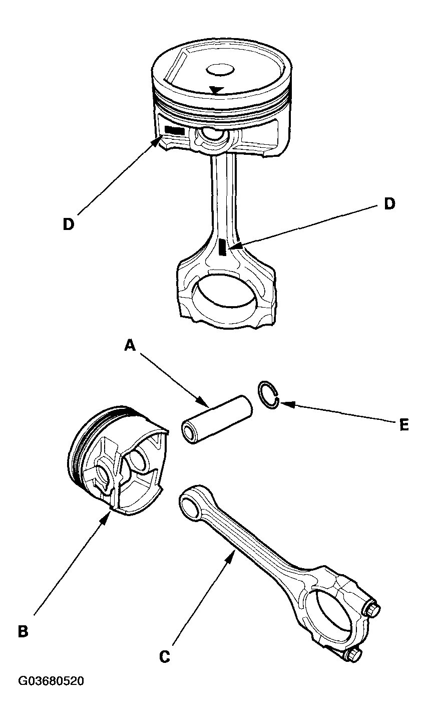
  4. Install the piston pin (A). Assemble the piston (B) and connecting rod (C) with the embossed marks (D) on the same side.
    Fig 3: Assembling Piston And Connecting Rod With Embossed Marks
    G03680520Courtesy of AMERICAN HONDA MOTOR CO., INC.
  5. Install the remaining snap ring (E).