lemon-mirror:
Home >> Honda >> 2000 >> Insight >> Repair and Diagnosis >> Engine Performance >> System >> PGM-FI System >> Third HO2S Replacement >> 2002-2006 M/T models

2002-2006 M/T models

NOTE: When the third HO2S is replaced, the secondary HO2S must be replaced at the same time.
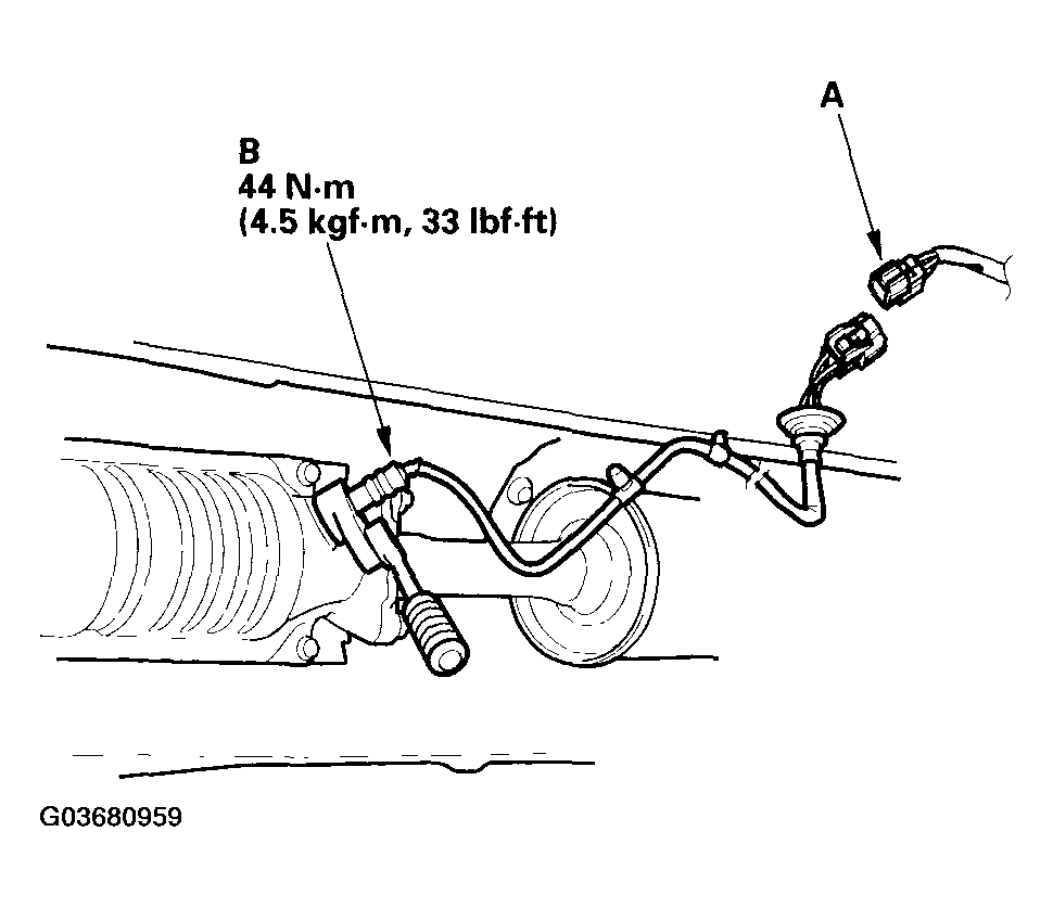
  1. Disconnect the third HO2S 4P connector (A), and remove the third HO2S (B).
    Fig 1: Removing Third HO2S
    G03680959Courtesy of AMERICAN HONDA MOTOR CO., INC.
  2. Install the third HO2S in the reverse order of removal.