lemon-mirror:
Home >> Honda >> 2000 >> Insight >> Repair and Diagnosis >> General Information >> OEM General Information >> Body & Design Specifications >> Body Specifications

Body Specifications

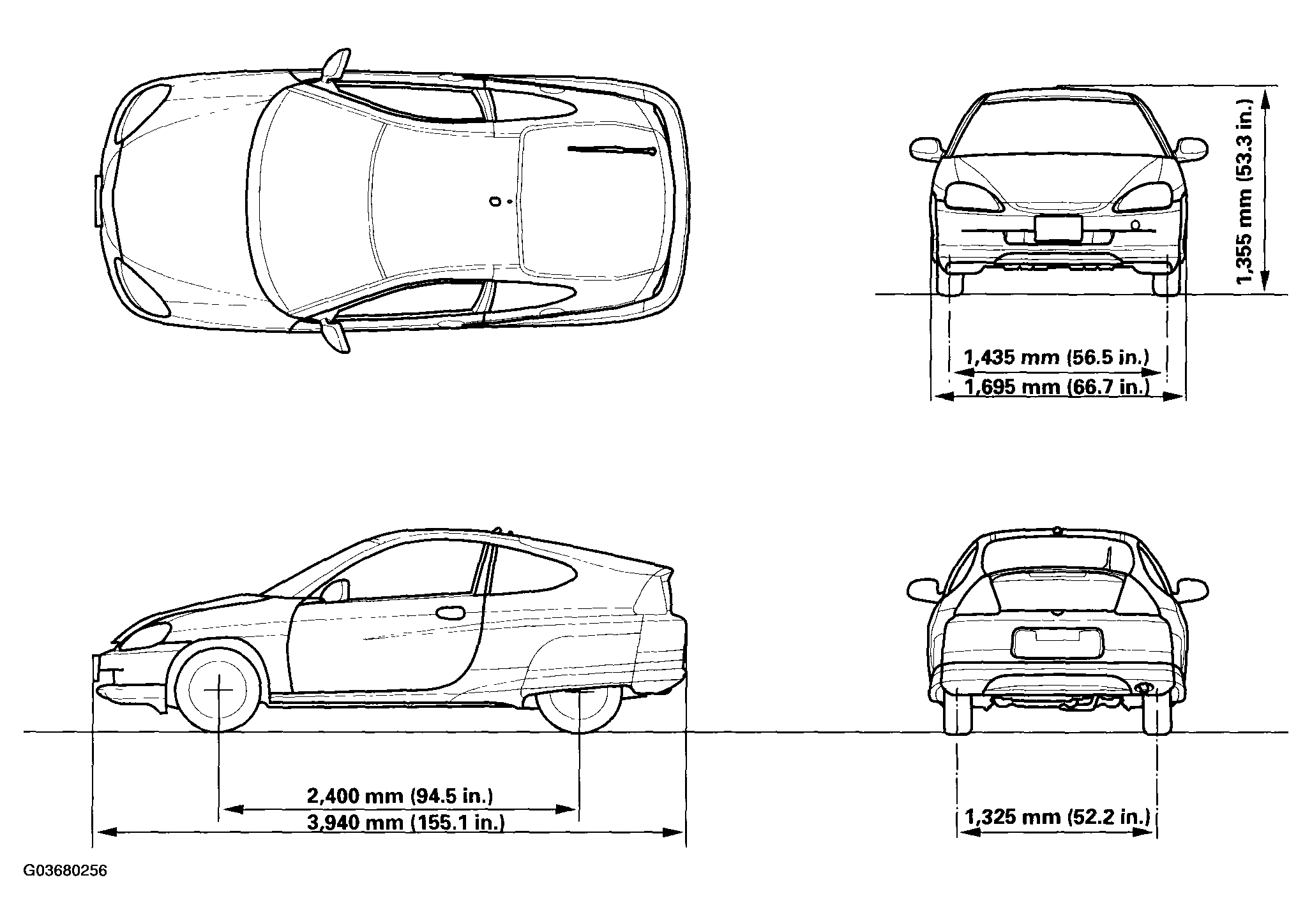
Fig 1: Identifying Body Specifications
G03680256Courtesy of AMERICAN HONDA MOTOR CO., INC.