lemon-mirror:
Home >> Honda >> 2000 >> Insight >> Repair and Diagnosis >> Steering >> Power Steering >> Power Steering System >> Steering Lock Replacement

Steering Lock Replacement

  1. Remove the steering column (see STEERING COLUMN REMOVAL AND INSTALLATION  ).
  2. Center punch each of the two shear bolts, and drill their heads off with a 5 mm (3/16 in.) drill bit. Be careful not to damage the switch body when removing the shear bolts.
    Fig 1: Removing Steering Column
    G03682258Courtesy of AMERICAN HONDA MOTOR CO., INC.
  3. Remove the shear bolts from the switch body.
  4. Install the switch body without the ignition key inserted.
  5. Loosely tighten the new shear bolts.
  6. Insert the ignition key, and check for proper operation of the steering wheel lock and that the ignition key turns freely.
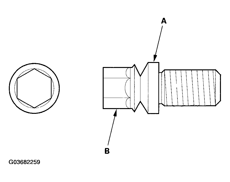
  7. Tighten the shear bolts (A) until the hex heads (B) twist off.
    Fig 2: Tightening Shear Bolts Until The Hex Heads Twist Off
    G03682259Courtesy of AMERICAN HONDA MOTOR CO., INC.