lemon-mirror:
Home >> Honda >> 2000 >> S2000 >> Repair and Diagnosis >> Body & Frame >> Mirrors >> Power Mirrors >> Power Mirror Switch Test

Power Mirror Switch Test

  1. Remove the driver's door panel (see DOOR PANEL REMOVAL/INSTALLATION ).
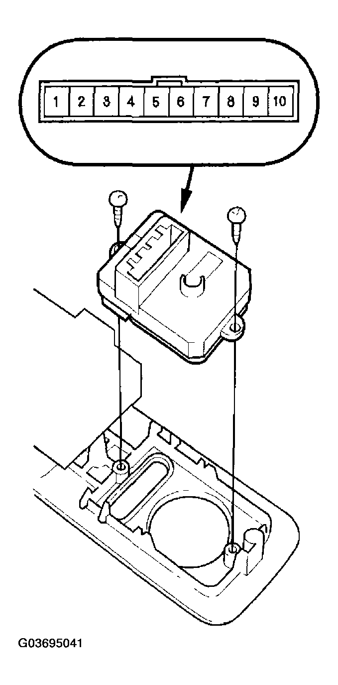
  2. Disconnect the 10P connector from the power mirror switch.
    Fig 1: Disconnecting 10P Connector From Power Mirror Switch
    G03695041Courtesy of AMERICAN HONDA MOTOR CO., INC.
  3. Check for continuity between the terminals in each switch position according to the table below.
    Fig 2: Identifying Power Mirror Switch Continuity Table
    G03695042Courtesy of AMERICAN HONDA MOTOR CO., INC.
  4. If the continuity is not as specified, replace the switch.