lemon-mirror:
Home >> Honda >> 2002 >> CR-V EX, Automatic >> Repair and Diagnosis >> Transmission >> Automatic Trans >> Automatic Transmission Interlock System >> Park Pin Switch Test/Replacement

Park Pin Switch Test/Replacement

  1. Remove the driver's dashboard lower cover (see DRIVER'S DASHBOARD LOWER COVER REMOVAL/INSTALLATION ) and the instrument panel (see INSTRUMENT PANEL REMOVAL/INSTALLATION ).
  2. Disconnect the O/D switch/shift lock solenoid/park pin switch connector.
    Fig 1: Disconnecting O/D Switch/Shift Lock Solenoid/Park Pin Switch Connector
    G01461943Courtesy of AMERICAN HONDA MOTOR CO., INC.
  3. Check for continuity between the No. 1 and No. 2 terminals of the O/D switch/shift lock solenoid/park pin switch connector while the shift lever is in the P position, and when shift lever out of P or pushed to the left.
    • In the P position, there should be no continuity.
    • When out of the P position or pushed to the left, there should be continuity.

    If the park pin switch is OK, connect the connector and install the removed parts.

    If the park pin switch is faulty, go to step 4 for replacement.

  4. Shift the shift lever to the R position.
  5. Slide the lock tab (A) down on the shift cable end holder (B).
    Fig 2: Sliding Lock Tab Down On The Shift Cable End Holder
    G01461944Courtesy of AMERICAN HONDA MOTOR CO., INC.
  6. Grasp the shift cable lock (C) in the middle (D) with needle-nose pliers (E), and remove it from the shift cable end and shift cable end holder.
    NOTE: Do not pry the shift cable lock with a screwdriver, it may damage the shift cable end holder.
  7. Separate the shift cable end from the shift cable end holder.
  8. Rotate the socket holder (A) on the shift cable (B) a quarter turn; the tab (C) on the socket holder will be in the opening (D) of the socket holder bracket (E). Then slide the holder to remove the shift cable from the socket holder bracket.
    NOTE: Do not remove the shift cable by twisting the shift cable guide (F) and damper (G).
    Fig 3: Rotating Socket Holder On The Shift Cable
    G01461945Courtesy of AMERICAN HONDA MOTOR CO., INC.
  9. Remove the shift lever assembly.
    Fig 4: Removing Shift Lever Assembly
    G01461946Courtesy of AMERICAN HONDA MOTOR CO., INC.
  10. Remove the harness from the harness clamp on the shift lock lever bracket base, and remove the harness band from the harness.
  11. Pry up the tabs on the O/D switch lock solenoid/park pin switch connector (A), and release the lock (B).
    Fig 5: Removing Shift Lock Solenoid
    G01461947Courtesy of AMERICAN HONDA MOTOR CO., INC.
  12. Remove the terminal (C) from the connector by pushing the lock tab (D) up in the connector using a thin blade screwdriver (E). Remove all six terminals.
  13. Remove the shift lever cover.
  14. Remove the control checker (A) from the shift lever, and remove the park pin switch from the control checker.
    Fig 6: Removing Control Checker & Park Pin Switch
    G01461948Courtesy of AMERICAN HONDA MOTOR CO., INC.
  15. Install the new park pin switch (B) by aligning its tab (C) with the positioning hole (D) on the control checker. Apply non-hardening thread lock sealant to the screw (E), then secure the park pin switch with the screw.
  16. Install the control checker on the shift lever.
  17. Route the harnesses, and clamp them as shown.
    Fig 7: Routing The Harnesses
    G01461949Courtesy of AMERICAN HONDA MOTOR CO., INC.
  18. Install the O/D switch harness terminals (A) in the No. 5 and No. 6 cavities. Either O/D switch harness terminal can be installed in the No. 5 and No. 6 cavities.
    Fig 8: Installing O/D Switch Harness Terminals
    G01461950Courtesy of AMERICAN HONDA MOTOR CO., INC.
  19. Install the park pin switch harness terminals (B) in the No. 1 and No. 2 cavities. Either park pin switch harness terminal can be installed in the No. 1 and No. 2 cavities.
  20. Install the BLU harness terminal (C) of the shift lock solenoid in the No. 3 cavity, and the RED harness terminal (D) in the No. 4 cavity. Make sure that all six terminals lock securely, then install the lock (E) securely.
  21. Align the marks (A) on the harnesses, and tie the harness band (B) over the marks. Clamp the O/D switch harness (C) 15 mm (0.6 in.) (D) from the harness band.
    Fig 9: Aligning Marks On The Harnesses
    G01461951Courtesy of AMERICAN HONDA MOTOR CO., INC.
  22. Install the shift lever cover.
  23. Install the shift lever assembly.
    Fig 10: Installing Shift Lever Assembly
    G01461952Courtesy of AMERICAN HONDA MOTOR CO., INC.
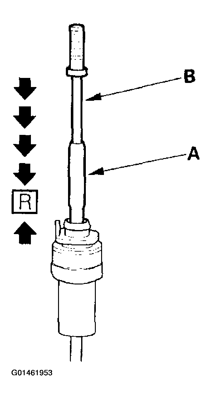
  24. Turn the ignition switch ON (II), and verify that the R position indicator comes on.
  25. If necessary, push the shift cable until it stops, then release it. Pull the shift cable back one step so that the shift cable is in R. Do not hold the shift cable guide (A) to adjust the shift cable (B).
    Fig 11: Placing Shift Cable In "R" Position
    G01461953Courtesy of AMERICAN HONDA MOTOR CO., INC.
  26. Turn the ignition switch OFF.
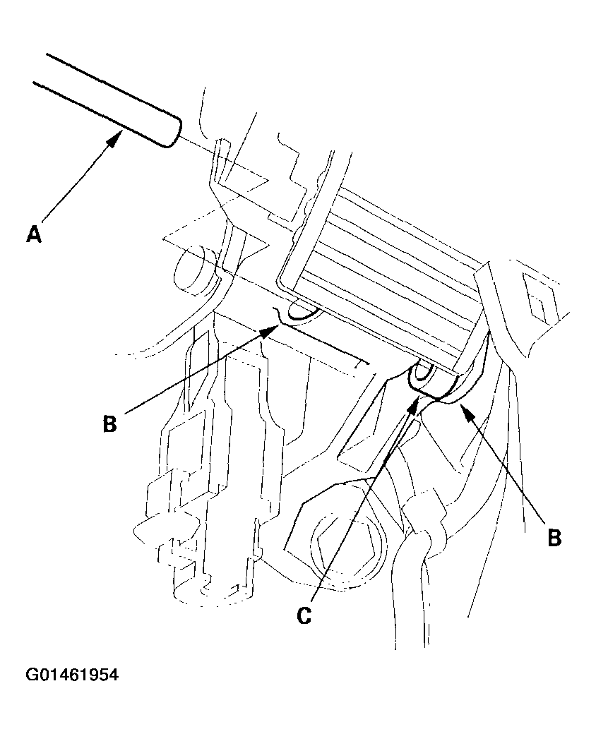
  27. Insert a 6.0 mm (0.24 in.) pin (A) into the positioning holes (B) on the shift lever bracket base and through the positioning hole (C) on the shift lever. The shift lever is secured in the R position.
    Fig 12: Locating Shift Lever Positioning Holes
    G01461954Courtesy of AMERICAN HONDA MOTOR CO., INC.
  28. Rotate the socket holder (A) on the shift cable (B) face the tab (C) on the holder opposite to the opening (D) in the socket holder bracket (E). Align the holder with the opening in the bracket (E). Align the holder with the opening in the bracket, then slide the holder into the bracket. Rotate the holder a quarter turn to secure the shift cable. Do not install the shift cable by twisting the shift cable guide (F) and damper (G).
    Fig 13: Rotating Socket Holder On The Shift Cable
    G01461955Courtesy of AMERICAN HONDA MOTOR CO., INC.
  29. Install the shift cable end (A) in the shift cable end holder (B). Keep the shift cable end and end holder free of grease.
    Fig 14: Installing Shift Cable End
    G01461956Courtesy of AMERICAN HONDA MOTOR CO., INC.
  30. Install the new shift cable lock (A) to secure the shift cable end and shift cable end holder, then push the lock tab (B) up until it stops to lock the joint.
    Fig 15: Installing New Shift Cable Lock
    G01461957Courtesy of AMERICAN HONDA MOTOR CO., INC.
  31. Remove the 6.0 mm (0.24 in.) pin that was installed to hold the shift lever.
  32. Connect the O/D switch/shift lock solenoid/park pin switch connector.
  33. Move the shift lever to each gear, and verify that the A/T gear position indicator follows the transmission range switch.
  34. Check that the park pin switch operates.
  35. Install the instrument panel (see INSTRUMENT PANEL REMOVAL/INSTALLATION ) and the driver's dashboard lower cover (see DRIVER'S DASHBOARD LOWER COVER REMOVAL/INSTALLATION ).