lemon-mirror:
Home >> Honda >> 2002 >> Insight Standard >> Repair and Diagnosis >> External Pages >> Different car >> Section 112 (Navigation System) >> System Description >> Overview >> System Diagram

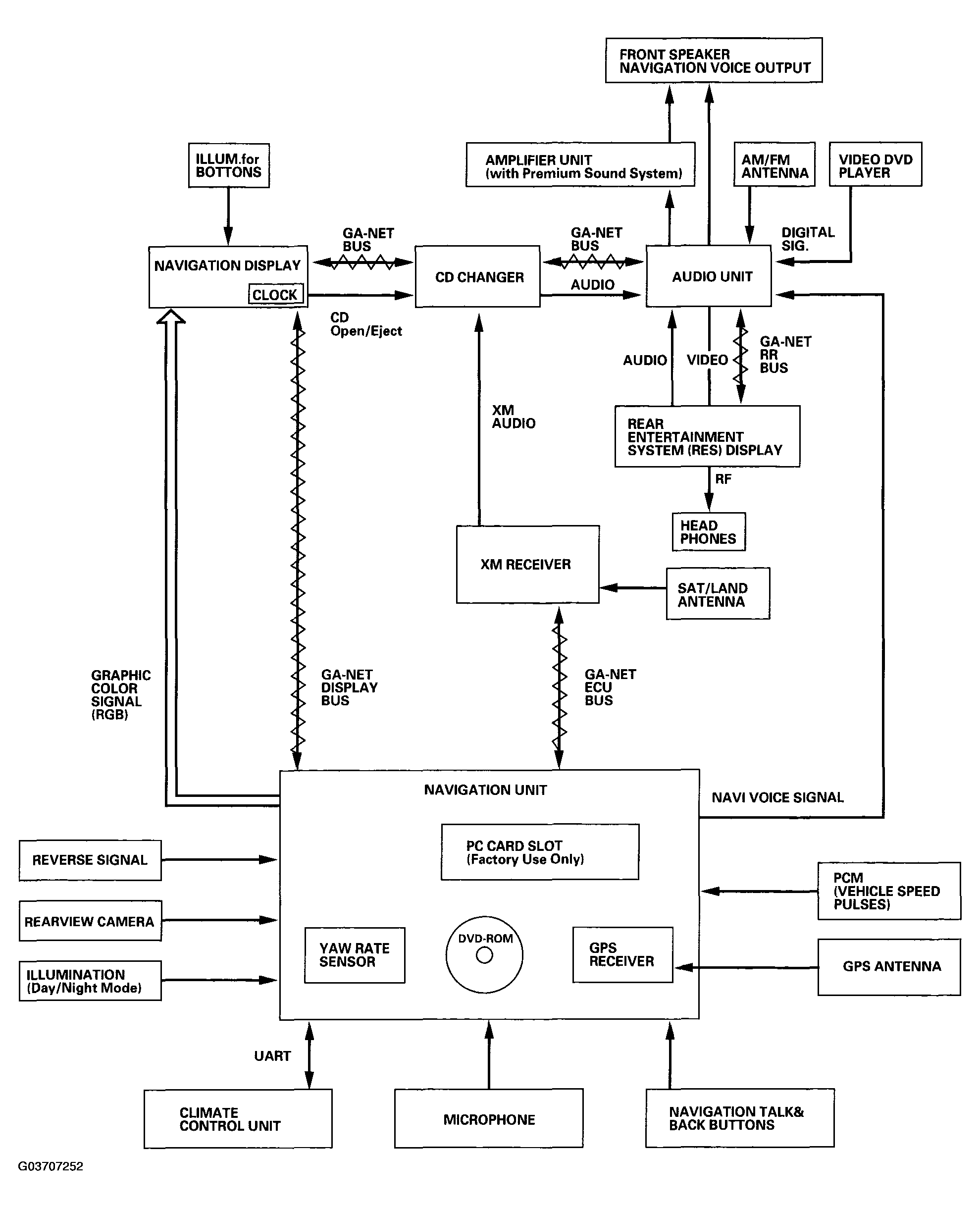
System Diagram

WARNING: This page is about a different car, the 2006 Honda Odyssey and 2005 Honda Odyssey. However, it is still accessible from the selected car via links, so may be relevant.
Fig 1: Navigation System Diagram
G03707252Courtesy of AMERICAN HONDA MOTOR CO., INC.