lemon-mirror:
Home >> Honda >> 2002 >> Insight Standard >> Repair and Diagnosis >> External Pages >> Different car >> Section 43 (Navigation System) >> DVD-ROM Replacement

DVD-ROM Replacement

WARNING: This page does not describe the selected car, but rather 6 other vehicles, including the 2004 Honda Odyssey, 2003 Honda Odyssey, 2002 Honda Odyssey, 2001 Honda Odyssey, and 2000 Honda Odyssey. However, it is still accessible from the selected car via links, so may be relevant.
NOTE: When the DVD-ROM is re-inserted or replaced, a map match must be done (see LCD Display Unit Limitations  ).
  1. Turn the ignition switch ON (II).
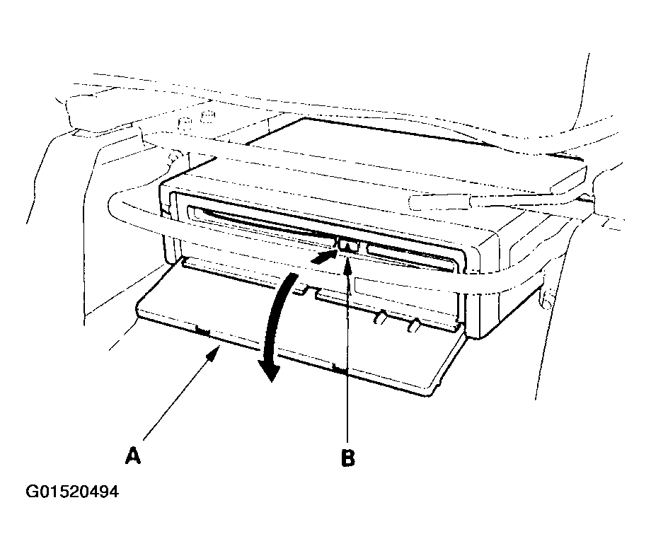
  2. Open the front cover (A) of navigation unit.
    Fig 1: Opening Front Cover Of Navigation Unit
    G01520494Courtesy of AMERICAN HONDA MOTOR CO., INC.
  3. Press the EJECT (B) switch.
  4. Remove the DVD-ROM.
  5. Insert the new DVD-ROM.
  6. Close the front cover.
    NOTE: After servicing, the front cover must be closed. If you start up the navigation system with the front cover open, the display will indicate. "Navigation unit door is open or No DVD Disk installed. Please check system."

    Do not turn the ignition switch OFF, until data is down loaded to navigation unit.

  7. Perform After Servicing Procedures (see After Servicing Procedures-Map Matching  ).