lemon-mirror:
Home >> Honda >> 2002 >> Insight Standard >> Repair and Diagnosis >> External Pages >> Different car >> Section 99 (Multiplex Integrated Control System) >> Multiplex Integrated Control Unit Input Test

Multiplex Integrated Control Unit Input Test

WARNING: This page is about a different car, the 2006 Honda Odyssey and 2005 Honda Odyssey. However, it is still accessible from the selected car via links, so may be relevant.
NOTE: Make sure the ignition switch is OFF before troubleshooting the driver's under-dash fuse/relay box connectors.
  1. Remove the left side kick panel (see TRIM REMOVAL/INSTALLATION - DOOR AREAS ).
  2. Disconnect the driver's under-dash fuse/relay box connectors.
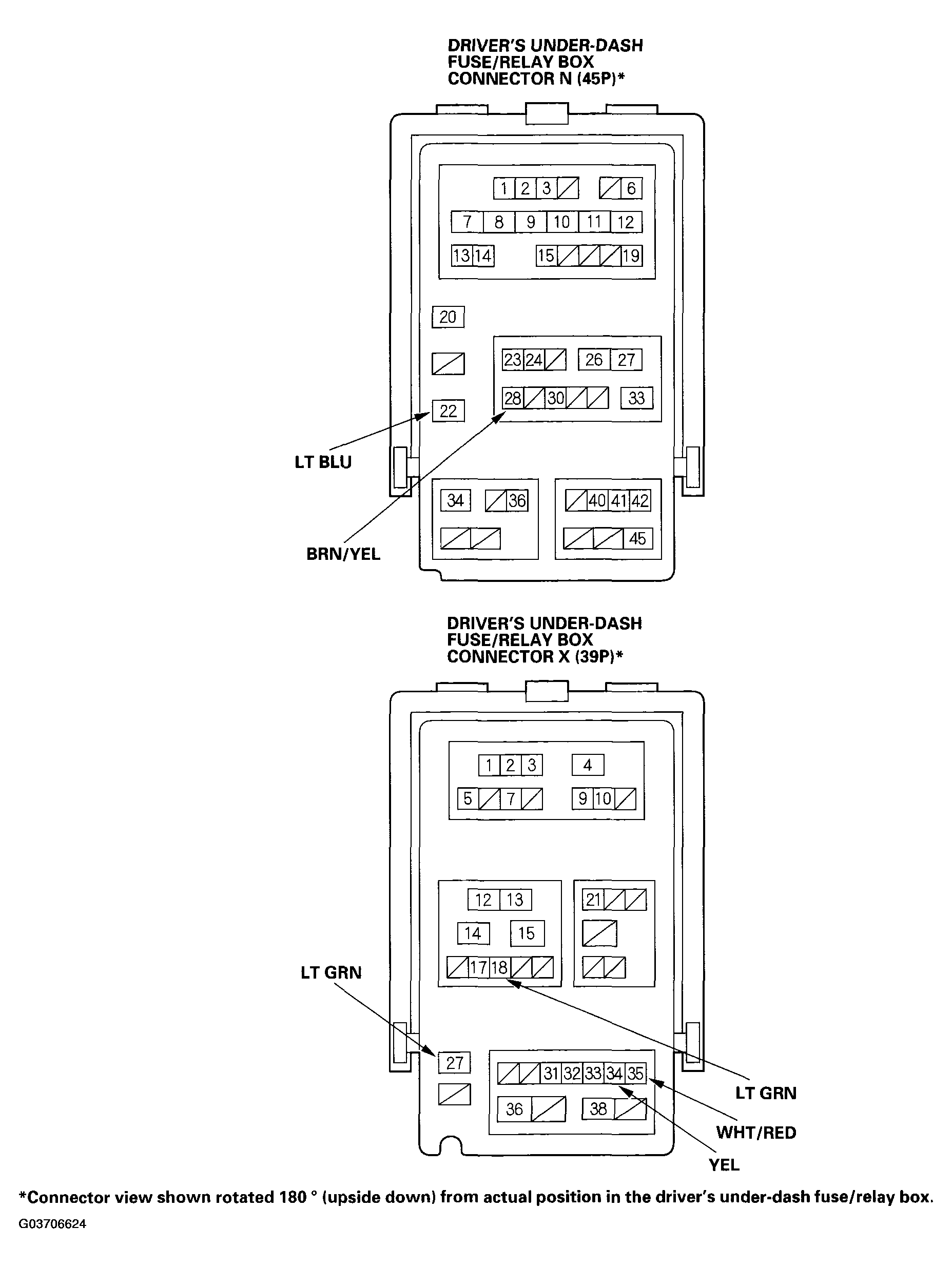
    NOTE: All connector views are wire side of female terminals.
    Fig 1: Disconnecting Driver's Under-Dash Fuse/Relay Box Connectors (1 Of 2)
    G03706623Courtesy of AMERICAN HONDA MOTOR CO., INC.
    Fig 2: Disconnecting Driver's Under-Dash Fuse/Relay Box Connectors (2 Of 2)
    G03706624Courtesy of AMERICAN HONDA MOTOR CO., INC.
  3. Inspect the connector and socket terminals to be sure they are all making good contact.
    • If the terminals are bent, loose or corroded, repair them as necessary, and recheck the system.
    • If the terminals look OK, go to step 4.
  4. With the connectors still disconnected from the under-dash fuse/relay box, make these input tests at the connector(s).
    • If any test indicates a problem, find and correct the cause, then recheck the system.
    • If all the input tests prove OK, go to step 5.
    UNDER-DASH FUSE/RELAY BOX

    Cavity Wire Test condition Test: Desired result Possible cause if result is not obtained
    E9 H9 BLK Under all conditions Check for continuity to ground:
    There should be continuity.
    • Poor ground (G601)
    • An open in the wire
    P14 BLK Under all conditions Check for continuity to ground:
    There should be continuity.
    • Poor ground (G401)
    • An open in the wire
    D11 BLU Under all conditions Check for continuity between the D11 terminal and the relay control module connector K (10P) No. 8 terminal:
    There should be continuity.
    An open in the wire
    Relay control module connector K (10P) disconnected Check for continuity to ground:
    There should be no continuity.
    Short to ground
    G1 GRN/RED Under all conditions Check for continuity between the G1 terminal and the MICU-rear junction box connector A (14P) No. 14 terminal:
    There should be continuity.
    An open in the wire
    MICU-rear junction box connector A (14P) disconnected Check for continuity to ground:
    There should be no continuity.
    Short to ground
    J4 GRN/RED Under all conditions Check for continuity between the J4 terminal and the power window master switch connector (23P) No. 16 terminal:
    There should be continuity.
    An open in the wire
    Power window master switch (Door multiplex control unit) connector (23P) disconnected Check for continuity to ground:
    There should be no continuity.
    Short to ground
    N22 LT BLU Under all conditions Check for continuity between the N22 terminal and the A/C control panel connector A (22P) No. 10 terminal (or climate control unit) connector (30P) No. 7 terminal:
    There should be continuity.
    An open in the wire
    A/C control panel (or climate control unit) connector (22P or 30P) disconnected Check for continuity to ground:
    There should be no continuity.
    Short to ground
    N28 BRN/YEL Under all conditions Check for continuity between the N28 terminal and the gauge control module connector A (30P) No. 25 terminal:
    There should be continuity.
    An open in the wire
    Gauge control module connector A (30P) disconnected Check for continuity to ground:
    There should be no continuity.
    Short to ground
    X18 LT GRN Under all conditions Check for continuity between the X18 terminal and the automatic lighting control unit connector (14P) No. 4 terminal:
    There should be continuity.
    An open in the wire
    Automatic lighting control unit connector (14P) disconnected Check for continuity to ground:
    There should be no continuity.
    Short to ground
    X27 LT GRN Under all conditions Check for continuity between the X27 terminal and the wiper/washer connector (8P) No. 4 terminal:
    There should be continuity.
    An open in the wire
    Wiper/washer switch connector (8P) disconnected Check for continuity to ground:
    There should be no continuity.
    Short to ground
  5. Reconnect the connectors to the driver's under-dash fuse/relay box, and make sure these input tests at the appropriate connectors on the driver's under-dash fuse/relay box.
    • If any test indicates a problem, find and correct the cause, then recheck the system.
    • If all the input tests prove OK, the MICU must be faulty, replace the driver's under-dash fuse/relay box assembly.
    DRIVER'S UNDER-DASH FUSE/RELAY BOX

    Cavity Wire Test condition Test: Desired result Possible cause if result is not obtained
    P8 WHT/BLK Under all conditions Attach to ground:
    The ignition key light should come on.
    • Blown No. 13 (20 A) fuse in the under-hood fuse/relay box
    • Faulty LED
    • An open in the wire
    W4 YEL Interior lights switch in the middle position, all doors closed Attach to ground:
    The individual map lights should come on.
    • Blown No. 6 (7.5 A) fuse in the driver's under-dash fuse/relay box
    • Faulty map light
    • An open in the wire
    D6
    *F1*J9*X34
    YEL Ignition switch ON (II) Check for voltage to ground:
    There should be battery voltage.
    • Blown No. 21 (7.5 A) fuse in the driver's under-dash fuse/relay box
    • An open in the wire
    K5
    *
    G3
    *
    X35
    WHT/RED Under all conditions Check for voltage to ground: There should be battery voltage.
    • Blown No. 7 (7.5 A) fuse in the driver's under-dash fuse/relay box
    • An open in the wire