lemon-mirror:
Home >> Honda >> 2002 >> S2000 >> Repair and Diagnosis >> External Pages >> Different car >> Section 9 (Heating System) >> Recirculation Control Motor Replacement

Recirculation Control Motor Replacement

WARNING: This page is about a different car, the 2009 Honda S2000 and 2008 Honda S2000. However, it is still accessible from the selected car via links, so may be relevant.
  1. Remove the passenger's dashboard lower cover. See PASSENGER'S DASHBOARD LOWER COVER REMOVAL/INSTALLATION .
  2. Remove the passenger's airbag . See PASSENGER'S AIRBAG REPLACEMENT .
  3. Remove the convertible top control unit. See CONVERTIBLE TOP CONTROL UNIT INPUT TEST
  4. Disconnect the dashboard wire harness B connectors C201, C202, C203, and C451. See DASHBOARD WIRE HARNESS B (RIGHT BRANCH)
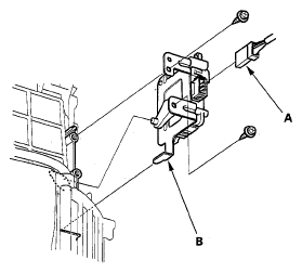
  5. Disconnect the 7P connector (A) from the recirculation control motor (B). Remove the self-tapping screws and the recirculation control motor from the blower unit.
    Fig 1: Identifying Connector And Recirculation Control Motor
    G05115925Courtesy of AMERICAN HONDA MOTOR CO., INC.
  6. Install the motor in the reverse order of removal. Make sure the pin on the motor is properly engaged with the linkage. After installation, make sure the motor runs smoothly.