lemon-mirror:
Home >> Honda >> 2003 >> Pilot EX >> Repair and Diagnosis >> Engine Performance >> System >> Fuel Supply System >> Fuel Pressure Regulator Replacement

Fuel Pressure Regulator Replacement

  1. Place a shop towel under the fuel pressure regulator, then relieve fuel pressure (see Fuel Pressure Relieving  ).
  2. Disconnect the vacuum hose (A) and fuel return hose (B).
    Fig 1: Disconnecting The Vacuum Hose & Fuel Return Hose
    G01464189Courtesy of AMERICAN HONDA MOTOR CO., INC.
  3. Loosen the locking nut (C), and remove the fuel pressure regulator (D).
  4. Apply clean engine oil to a new O-ring (E), and carefully install it into its proper position.
  5. Install the fuel pressure regulator in the fuel joint. Turn it by hand until it stops.
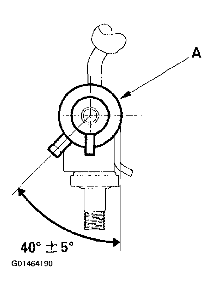
  6. Turn the fuel pressure regulator (A) counterclockwise to set the angle as shown.
    Fig 2: Turning The Fuel Pressure Regulator Counterclockwise
    G01464190Courtesy of AMERICAN HONDA MOTOR CO., INC.
  7. NOTE:
    • Replace the O-ring.
    • When assembling the fuel pressure regulator, apply clean engine oil to the O-ring and assemble it into its proper position, taking care not to damage the O-ring.
  8. Tighten the locking nut to 29 N.m (3.0 kgf.m, 22 lbf.ft).
  9. Reconnect the vacuum hose and fuel return hose.
  10. Turn the ignition switch ON (II), but do not operate the starter. After the fuel pump runs for about 2 seconds, the fuel pressure in the fuel line rises. Repeat this 2 or 3 times, then check for any fuel leakage.