lemon-mirror:
Home >> Honda >> 2003 >> Pilot EX >> Repair and Diagnosis >> Steering >> Steering Column >> Power Steering >> Steering Gearbox Overhaul >> Exploded View

Exploded View

Fig 1: Exploded View Of Steering Gearbox
G01463091Courtesy of AMERICAN HONDA MOTOR CO., INC.

Special Tools Required 

NOTE: Refer to the Exploded View as needed during this procedure.

Removal 

  1. Remove the steering gearbox (see STEERING GEARBOX REMOVAL  ).

    Disassembly 

  2. Remove the boot bands (A) and tie-rod clips (B). Pull the boots away from the ends of the steering gearbox.
    Fig 2: Removing The Boot Bands & Tie-Rod Clips
    G01463092Courtesy of AMERICAN HONDA MOTOR CO., INC.
  3. Unbend the lock washer.
    Fig 3: Unbending The Lock Washer
    G01463093Courtesy of AMERICAN HONDA MOTOR CO., INC.
  4. Hold the flat surface sections (A) of the steering rack (B) with a wrench, and unscrew both rack ends (C) with another wrench. Be careful not to damage the rack surface with the wrench. Remove the lock washer (D) and stop washer (E).
    Fig 4: Unscrewing Rack End, & Removing The Lock Washer & Stop Washer
    G01463094Courtesy of AMERICAN HONDA MOTOR CO., INC.
  5. Loosen the locknut (A), then remove the rack guide screw (B).
    Fig 5: Removing The Rack Guide Screw
    G01463095Courtesy of AMERICAN HONDA MOTOR CO., INC.
  6. Remove the spring (C) and the rack guide (D) from the gearbox.
  7. Remove the cylinder lines from the gearbox.
    Fig 6: Removing The Cylinder Lines From The Gearbox
    G01463096Courtesy of AMERICAN HONDA MOTOR CO., INC.
  8. Drain the fluid from the cylinder fittings by slowly moving the steering rack back and forth.
  9. Loosen the 16 mm flare nut (A), and remove the return line joint (B).
    Fig 7: Removing The Return Line Joint
    G01463097Courtesy of AMERICAN HONDA MOTOR CO., INC.
  10. Remove the two flange bolts, then remove the valve body unit (C) from the gearbox (D). Remove the O-ring (E), and discard it.
  11. Drill a 3 mm (0.12") diameter hole about 2.5-3.0 mm (0.10-0.12") in depth in the staked point (A) on the cylinder. Do not allow metal shavings to enter the cylinder housing. After removing the cylinder end (B), remove any burrs at the staked point.
    Fig 8: Identifying Staked Point
    G01463098Courtesy of AMERICAN HONDA MOTOR CO., INC.
  12. Attach the yoke of a universal puller (A) to the steering gearbox mounts with bolts. Clamp the yoke in a vise with soft jaws as shown, then loosen and remove the cylinder end (B). Do not clamp the cylinder housing or gearbox housing in the vise.
    Fig 9: Removing The Cylinder End
    G01463099Courtesy of AMERICAN HONDA MOTOR CO., INC.
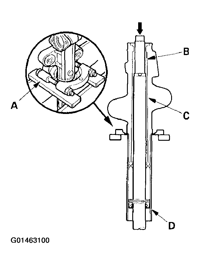
  13. Install a commercially available bearing separator (A) on the gearbox housing as shown.
    Fig 10: Installing Bearing Separator
    G01463100Courtesy of AMERICAN HONDA MOTOR CO., INC.
  14. Place an appropriately sized deep socket wrench (B) on the steering rack (C).
  15. Set the steering gearbox in a press so the gearbox housing points upward, then press the cylinder end seal (D) and steering rack out of the gearbox. Hold the steering rack to keep it from falling when pressed clear. Be careful not to damage the inner surface of the cylinder housing with the tool.
  16. Remove the cylinder end seal from the steering rack.
  17. Carefully pry the piston seal ring (A) and O-ring (B) off the rack piston. Be careful not to damage the inside of the seal ring groove and piston edges when removing the seal ring.
    Fig 11: Prying The Piston Seal Ring & O-Ring Off The Rack Piston
    G01463101Courtesy of AMERICAN HONDA MOTOR CO., INC.
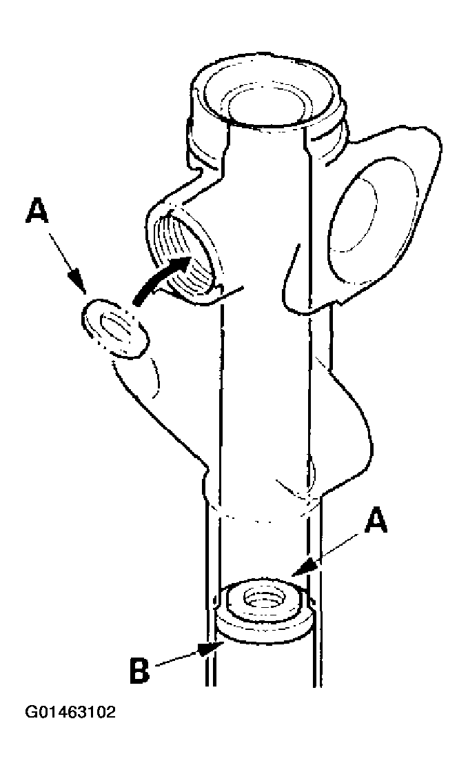
  18. Install a washer (O. D. 27.5 mm, P/N 94103-10400) (A) so it will fit through the rack guide hole of the gearbox housing, then position the washer on the cylinder end seal (B). Make sure that the washer is securely positioned on the cylinder end seal edges.
    Fig 12: Positioning A Washer On The Cylinder End Seal
    G01463102Courtesy of AMERICAN HONDA MOTOR CO., INC.
  19. Install the socket wrench with a 27.5 mm O.D. (A) onto the 24" long 3/8" drive extension (B), and carefully place it on the washer (C).
    Fig 13: Placing Socket Wrench With Extension On The Washer
    G01463103Courtesy of AMERICAN HONDA MOTOR CO., INC.
  20. Set the steering gearbox in a press so the gearbox housing points upward, then push out the cylinder end seal (D) 5-6 mm (0.20-0.24") by pressing on the 24" long 3/8" drive extension end.
  21. Remove the steering gearbox from the press, and remove the washer from the gearbox inside.
  22. Turn the special tool so it will fit through the rack guide hole of the steering gearbox, then position the special tool on the cylinder end seal (A). Make sure that the special tool is securely positioned on the seal edges.
    Fig 14: Positioning The Special Tool On The Cylinder End Seal
    G01463104Courtesy of AMERICAN HONDA MOTOR CO., INC.
  23. Insert a 24" long 3/8" drive extension (A), on the special tool. Place the steering gearbox in a press, then remove the cylinder end seal (B) from the gearbox by pressing on the 24" long 3/8" drive extension. Note these items when pressing the cylinder end seal:
    • Keep the tool straight to avoid damaging the cylinder wall. Check the tool angle, and correct it if necessary, when removing the cylinder end seal.
    • Use a press to remove the cylinder end seal. Do not try to remove the seal by striking the tool; striking the tool would break the cylinder end seal, and the seal would remain in the gearbox.
    Fig 15: Pressing The Cylinder End Seal
    G01463105Courtesy of AMERICAN HONDA MOTOR CO., INC.
  24. Before removing the valve housing (A), apply vinyl tape (B) to the splines on the pinion shaft (C).
    Fig 16: Applying Vinyl Tape To The Splines On The Pinion Shaft
    G01463106Courtesy of AMERICAN HONDA MOTOR CO., INC.
  25. Separate the valve housing from the pinion shaft/valve using a press.
  26. NOTE: There may be sliding marks from the seal ring on the wall of the valve housing. Replace the valve housing only if the wall is stepped.
    Fig 17: Checking The Inner Wall Of The Valve Housing
    G01463107Courtesy of AMERICAN HONDA MOTOR CO., INC.
  27. With your finger, check the inner wall of the valve housing where the seal ring slides. If there is a step in the wall, the housing is worn. Replace it.
  28. NOTE: The pinion shaft and sleeve are a precision matched set. If either the pinion shaft or sleeve must be replaced, replace both parts as a set.
    Fig 18: Checking The Edges Of The Grooves In The Sleeve
    G01463108Courtesy of AMERICAN HONDA MOTOR CO., INC.
  29. Check for wear, burrs, and other damage to the edges of the grooves in the sleeve.
  30. Remove the snap ring (A) and sleeve (B) from the pinion shaft.
    Fig 19: Removing The Snap Ring & Sleeve From The Pinion Shaft
    G01463109Courtesy of AMERICAN HONDA MOTOR CO., INC.
  31. Using a cutter or an equivalent tool, cut and remove the four seal rings from the sleeve. Be careful not to damage the edges of the sleeve grooves and outer surface when removing the seal rings.
    Fig 20: Removing The Seal Rings From The Sleeve
    G01463110Courtesy of AMERICAN HONDA MOTOR CO., INC.
  32. Using a cutter or an equivalent tool, cut the valve seal ring (A) and O-ring (B) at the cutting groove position (C) in the pinion shaft. Remove the valve seal ring and O-ring. Be careful not to damage the edges of the pinion shaft groove and outer surface when removing the valve seal ring and O-ring.
    Fig 21: Cutting The Valve Seal Ring & O-Ring At The Cutting Groove Position In The Pinion Shaft
    G01463111Courtesy of AMERICAN HONDA MOTOR CO., INC.
  33. Remove the valve oil seal (A) and wave washer (B) from the pinion shaft. Note these items during disassembly:
    • Inspect the ball bearing (C) by rotating the outer race slowly. If there is any excessive play or wear, replace the pinion shaft and sleeve as an assembly.
    • The pinion shaft and sleeve are a precise fit; do not intermix old and new pinion shafts and sleeves.
    Fig 22: Inspecting The Ball Bearing
    G01463112Courtesy of AMERICAN HONDA MOTOR CO., INC.
  34. Press the valve oil seal (A) and bushing (B) out of the valve housing using a hydraulic press and special tool.
    Fig 23: Pressing The Valve Oil Seal & Bushing Out Of The Valve Housing
    G01463113Courtesy of AMERICAN HONDA MOTOR CO., INC.
  35. Clean the disassembled parts with solvent, and dry them with compressed air. Do not dip rubber parts in the solvent.

    Reassembly 

  36. Apply vinyl tape (A) to the stepped portion of the pinion shaft, and coat the surface of the vinyl tape with power steering fluid.
    Fig 24: Applying Vinyl Tape To The Stepped Portion Of The Pinion Shaft
    G01463114Courtesy of AMERICAN HONDA MOTOR CO., INC.
  37. Install the wave washer (B).
  38. Coat the inside surface of the new valve oil seal (C) with power steering fluid, and install the seal with its grooved side facing opposite the bearing, then slide it over the pinion shaft, being careful not to damage its sealing lip (D).
  39. Apply vinyl tape (A) to the splines and stepped portion of the shaft, and coat the surface of the vinyl tape with power steering fluid.
    Fig 25: Applying Vinyl Tape To The Splines & Stepped Portion Of The Shaft
    G01463115Courtesy of AMERICAN HONDA MOTOR CO., INC.
  40. Fit the new O-ring (B) in the groove of the pinion shaft. Then slide the new valve seal ring (C) over the shaft and in the groove on the pinion shaft.
  41. Remove the tape, and apply power steering fluid to the surface of the valve seal ring (A).
    Fig 26: Applying Power Steering Fluid To The Surface Of The Valve Seal Ring
    G01463116Courtesy of AMERICAN HONDA MOTOR CO., INC.
  42. Apply power steering fluid to the inside of the special tool. Set the larger diameter end of the special tool over the valve seal ring, and move the special tool up and down several times to make the valve seal ring fit in the pinion shaft groove.
  43. Remove the special tool, turn it over, slide the smaller diameter end over the valve seal ring. Move it up and down several times to make the valve seal ring fits snugly in the pinion shaft groove.
  44. Apply power steering fluid to the surface of the special tool. Slip two new seal rings (A) over the special tool from the smaller diameter end, and expand them. Install only two rings at a time from each end of the pinion shaft sleeve (B). Note these items when installing the seal ring:
    • Do not over-expand the seal ring. Install the resin seal rings with care so as not to damage them. After installation, make sure you contract the seal rings using the special tool (sizing tool).
    • There are two types of sleeve seal rings: Black and Brown. Do not mix the different types of rings as they are not compatible.
    Fig 27: Expanding Seal Rings
    G01463117Courtesy of AMERICAN HONDA MOTOR CO., INC.
  45. Align the special tool with each groove in the sleeve, and slide a sleeve seal ring into each groove. After installation, compress the seal rings with your fingers temporarily.
  46. Apply power steering fluid to the seal rings on the sleeve, and to the entire inside surface of the special tool, then slowly insert the sleeve into the special tool.
    Fig 28: Inserting The Sleeve Into The Special Tool
    G01463118Courtesy of AMERICAN HONDA MOTOR CO., INC.
  47. Move the sleeve back and forth several times to make the seal rings snugly fit in the sleeve. Make sure the seal rings are not twisted.
  48. Apply power steering fluid to the surface of the pinion shaft (A). Slide the sleeve (B) onto the pinion shaft by aligning the locating pin (C) on the inside of the sleeve with the cutout (D) in the shaft. Then install the new snap ring (E) securely in the pinion shaft groove. Be careful not to damage the valve seal ring when inserting the sleeve.
    Fig 29: Sliding The Sleeve Onto The Pinion Shaft
    G01463119Courtesy of AMERICAN HONDA MOTOR CO., INC.
  49. Apply power steering fluid to the seal ring lip of the new valve oil seal (A), then install the seal in the valve housing (B) using a hydraulic press and special tools. Install the seal with its grooved side facing the tool.
    Fig 30: Installing The Seal In The Valve Housing
    G01463120Courtesy of AMERICAN HONDA MOTOR CO., INC.
  50. Press the bushing (C) into the valve housing with a hydraulic press and special tool.
  51. Apply vinyl tape (A) to the pinion shaft, then coat the vinyl tape with power steering fluid.
    Fig 31: Applying Vinyl Tape To The Pinion Shaft
    G01463121Courtesy of AMERICAN HONDA MOTOR CO., INC.
  52. Insert the pinion shaft into the valve housing (B). Be careful not to damage the valve seal rings (C).
  53. Remove the vinyl tape from the pinion shaft, then remove any residue from the tape adhesive.
  54. Press the pinion shaft/sleeve into the valve housing with a hydraulic press. Check that the pinion shaft/sleeve turns smoothly by hand after installing it.
    Fig 32: Pressing The Pinion Shaft/Sleeve Into The Valve Housing
    G01463122Courtesy of AMERICAN HONDA MOTOR CO., INC.
  55. Coat the special tool with power steering fluid, then slide it onto the rack, big end first.
  56. Position the new O-ring (A) and new piston seal ring (B) on the special tool, then slide them down toward the big end of the tool. Note these items during reassembly:
    • Do not over expand the resin seal rings. Install the resin seal rings with care so as not to damage them. After installation, make sure you contract the seal ring using the special tool (sizing tool).
    • Replace piston's O-ring and seal ring as a set.
    Fig 33: Positioning The O-Ring & Piston Seal Ring On The Special Tool
    G01463123Courtesy of AMERICAN HONDA MOTOR CO., INC.
  57. Pull the O-ring off into the piston groove, then pull the piston seal ring off into the piston groove on top of the O-ring.
  58. Coat the piston seal ring (A) and the inside of the special tool with power steering fluid, then carefully slide the tool onto the rack and over the piston seal ring.
    Fig 34: Sliding The Tool Onto The Rack & Over The Piston Seal Ring
    G01463124Courtesy of AMERICAN HONDA MOTOR CO., INC.
  59. Move the special tool back and forth several times to make the piston seal ring fits snugly in the piston.
  60. Wrap vinyl tape (A) around the rack teeth and rack end edges, then coat the surface of the tape with power steering fluid. Make sure that the vinyl tape is wrapped carefully so there is no steeped portion.
    Fig 35: Wrapping Vinyl Tape Around The Rack Teeth & Rack End Edges
    G01463125Courtesy of AMERICAN HONDA MOTOR CO., INC.
  61. Coat the inside surface of the new cylinder end seal (A) with power steering fluid, then install it onto the steering rack with its grooved side toward the piston. When installing the cylinder end seal, be careful not to damage the lip of the seal with the edges or teeth of the steering rack.
    Fig 36: Installing The Cylinder End Seal Onto The Steering Rack
    G01463126Courtesy of AMERICAN HONDA MOTOR CO., INC.
  62. Remove the vinyl tape from the steering rack, then remove any adhesive residue.
  63. Install the new backup ring (A) on the steering rack, then place the cylinder end seal (B) against the piston.
    Fig 37: Installing The Backup Ring On The Steering Rack
    G01463127Courtesy of AMERICAN HONDA MOTOR CO., INC.
  64. Grease the steering rack teeth, then insert the steering rack into the gearbox housing. Be careful not to damage the inner surface of the cylinder wall with the rack edges.
    Fig 38: Inserting The Steering Rack Into The Gearbox Housing
    G01463128Courtesy of AMERICAN HONDA MOTOR CO., INC.
  65. Insert an appropriate size deep socket wrench (A) onto the steering rack as shown.
    Fig 39: Inserting Deep Socket Wrench Onto The Steering Rack
    G01463129Courtesy of AMERICAN HONDA MOTOR CO., INC.
  66. Install the cylinder end seal (B) into the bottom of the cylinder by pressing on the tool with a press. Do not push on the tool with excessive force as it may damage the cylinder end seal.
  67. Remove the tool, and center the steering rack.
  68. Wrap vinyl tape around the rack end edges, and coat the surface of the tape with the power steering fluid. Make sure that the vinyl tape is wrapped carefully so there is no stepped portion.
    Fig 40: Wrapping Vinyl Tape Around The Rack End Edges
    G01463130Courtesy of AMERICAN HONDA MOTOR CO., INC.
  69. Coat the inside surface of the new cylinder end seal with power steering fluid, then install the seal onto the steering rack with its grooved side toward the piston.
    Fig 41: Installing The Seal Onto The Steering Rack
    G01463131Courtesy of AMERICAN HONDA MOTOR CO., INC.
  70. Push in the cylinder end seal with your finger. Be careful not to damage the face of the seal with the threads and burrs at the staked position of the cylinder housing.
  71. Remove the vinyl tape from the steering rack, then remove any adhesive residue.
  72. Attach the yoke of a universal puller (A) to the steering gearbox mounts with bolts, then clamp the yoke in a vise with soft jaws. Do not clamp the cylinder part of the housing or gearbox housing in the vise.
    Fig 42: Attaching The Yoke Of A Universal Puller To The Steering Gearbox Mounts With Bolts & Clamping The Yoke In A Vise
    G01463132Courtesy of AMERICAN HONDA MOTOR CO., INC.
  73. Coat the inside surface of the cylinder end (A) with power steering fluid, then install the cylinder end by screwing it into the cylinder (B).
    Fig 43: Installing The Cylinder End Into The Cylinder
    G01463133Courtesy of AMERICAN HONDA MOTOR CO., INC.
  74. Remove the yoke from the gearbox, then, after tightening the cylinder end (C), stake the point of the cylinder shown (opposite from where the stake was removed during disassembly).
  75. Coat the new O-ring (A) with steering grease (08C35-B0534L), and carefully fit it on the valve housing.
    Fig 44: Fitting O-Ring On The Valve Housing
    G01463134Courtesy of AMERICAN HONDA MOTOR CO., INC.
  76. Apply multipurpose grease to the needle bearing (B) in the gearbox housing, then install the valve body unit (C) by engaging the gears. Note the valve body unit installation position (direction of the line connections).
  77. Tighten the flange bolts (D) to the specified torque.
  78. Install the return line joint (E), and tighten the 16 mm flare nut (F).
  79. Install the cylinder lines. Note these items during reassembly:
    • Thoroughly clean the joints of the cylinder lines. The joints must be free of foreign material.
    • Install the cylinder lines by tightening the flare nuts by hand first, then tighten the flare nuts to the specified torque.
    Fig 45: Installing The Cylinder Lines
    G01463135Courtesy of AMERICAN HONDA MOTOR CO., INC.
  80. Apply steering grease (08C35-B0534L) the sliding surface of the rack guide (A), and install it onto the gearbox housing.
    Fig 46: Installing Sliding Surface Of The Rack Guide Onto The Gearbox Housing
    G01463136Courtesy of AMERICAN HONDA MOTOR CO., INC.
  81. Remove the old sealant from the rack guide screw (B), then apply new sealant (threebond 1215 or loctite 5699) all around the threads. Install the spring (C), rack guide screw and locknut (D).
  82. Adjust the rack guide screw (see RACK GUIDE ADJUSTMENT  ). After adjusting, check that the rack moves smoothly by sliding it right and left.
  83. Install the new stop washer (A) and lock washer (B) on the rack end (C) in the rack. Align the lock washer tabs (D) with the slots (E). Install the rack end (F) while holding the lock washer in place. Repeat this step for the other side of the rack.
    Fig 47: Installing The Stop Washer & Lock Washer On The Rack End
    G01463137Courtesy of AMERICAN HONDA MOTOR CO., INC.
  84. Hold the flat surface sections (G) of the steering rack with a wrench, and tighten both rack ends. Be careful not to damage the rack surface with the wrench.
  85. Bend the lock washer (A) back against the flat spots on the rack end joint housing.
    Fig 48: Bending The Lock Washer Back Against The Flat Spots On The Rack End Joint Housing
    G01463138Courtesy of AMERICAN HONDA MOTOR CO., INC.
  86. Apply multipurpose grease to the circumference of the rack end joint housing (A).
    Fig 49: Applying Multipurpose Grease To The Circumference Of The Rack End Joint Housing
    G01463139Courtesy of AMERICAN HONDA MOTOR CO., INC.
  87. Apply a light coat of silicone grease to the boot grooves (B) on the rack end.
  88. Center the steering rack within its stroke. Install the boots on the rack ends with the tie-rod clips. After installing the boots, wipe the grease off the threaded section (A) of the rack end.
    Fig 50: Installing The Boots On The Rack Ends With The Tie-Rod Clips
    G01463140Courtesy of AMERICAN HONDA MOTOR CO., INC.
  89. Install the new boot bands by aligning the tabs (A) with the holes (B) on the band.
    Fig 51: Install The Boot Bands
    G01463141Courtesy of AMERICAN HONDA MOTOR CO., INC.
  90. Close the ear portion (A) of the band with commercially available pincers Oetiker 1098 or equivalent (B).
    Fig 52: Closing The Ear Portion Of The Band
    G01463142Courtesy of AMERICAN HONDA MOTOR CO., INC.
  91. Slide the rack right and left to be certain that the boots are not deformed or twisted.