lemon-mirror:
Home >> Honda >> 2003 >> S2000 >> Repair and Diagnosis >> Body & Frame >> Windows >> Power Windows >> Master Switch Test

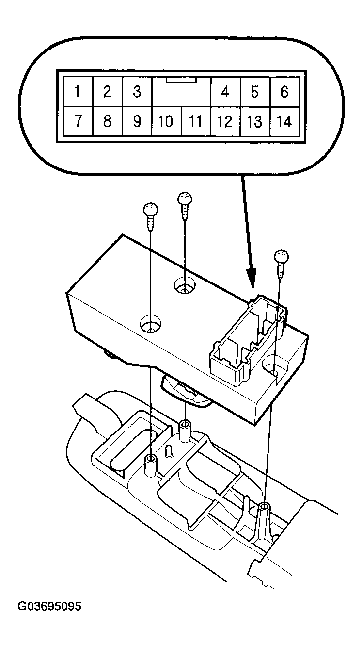
Master Switch Test

  1. Remove the driver's door panel (see DOOR PANEL REMOVAL/INSTALLATION ).
  2. Disconnect the 14P connector from the power window master switch.
    Fig 1: Disconnecting 14P Connector From Power Window Master Switch
    G03695095Courtesy of AMERICAN HONDA MOTOR CO., INC.
  3. Check for continuity between the terminals in each switch position according to the table below.

    Driver's Switch 

    NOTE: The driver's switch is combined with the control unit so you cannot isolate the switch to test it. Instead, run the master switch input test procedures (see step  6 ).

    Passenger's Switch 

  4. If the continuity is not as specified, replace the switch.
    Fig 2: Identifying Passenger's Switch Continuity Table
    G03695096Courtesy of AMERICAN HONDA MOTOR CO., INC.