lemon-mirror:
Home >> Honda >> 2005 >> Odyssey EX >> Repair and Diagnosis >> Electrical >> Body Electrical >> Fuse/Relay Boxes >> Connector to Fuse/Relay Box Index >> MICU-Rear Junction Box

MICU-Rear Junction Box

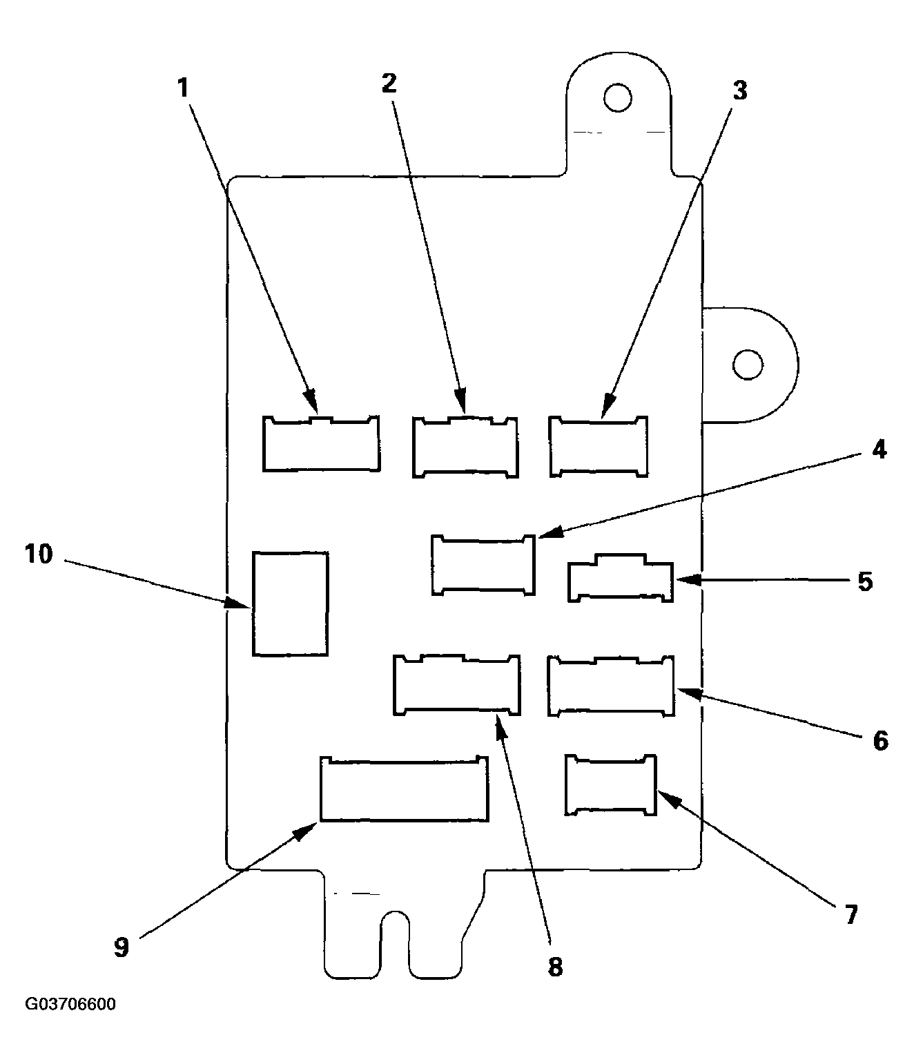
MICU-REAR JUNCTION BOX

SOCKET REF Terminal CONNECTION TO
A 8 14 Floor wire harness (see FLOOR WIRE HARNESS (LEFT FRONT BRANCH) )
B 9 7 Floor wire harness (see FLOOR WIRE HARNESS (LEFT FRONT BRANCH) )
C 7 6 Floor wire harness (see FLOOR WIRE HARNESS (LEFT FRONT BRANCH) )
D 6 17 Floor wire harness (see FLOOR WIRE HARNESS (LEFT FRONT BRANCH) )
E 4 8 Rear wire harness (see REAR WIRE HARNESS (RIGHT BRANCH) )
F 2 13 Rear wire harness (see REAR WIRE HARNESS (RIGHT BRANCH) )
G 5 8 Rear wire harness (see REAR WIRE HARNESS (RIGHT BRANCH) )
H 1 5 Rear wire harness (see REAR WIRE HARNESS (RIGHT BRANCH) )
J 3 8 Not used
Rear blower motor relay 10 8  
Fig 1: Identifying MICU-Rear Junction Box
G03706600Courtesy of AMERICAN HONDA MOTOR CO., INC.