lemon-mirror:
Home >> Honda >> 2005 >> Odyssey EX >> Repair and Diagnosis >> Engine Performance >> System >> Fuel Supply System >> Fuel Tank Replacement

Fuel Tank Replacement

  1. Relieve the fuel pressure (see FUEL PRESSURE RELIEVING  ).
  2. Drain the fuel tank (see FUEL TANK DRAINING  ).
  3. Raise the vehicle, and support it with jackstands.
  4. Disconnect the fuel pump subharness 4P connector (A).
    Fig 1: Disconnecting Fuel Pump Subharness 4P Connector
    G03704586Courtesy of AMERICAN HONDA MOTOR CO., INC.
  5. Disconnect the fuel line quick-connect fitting (A).
    Fig 2: Disconnecting Fuel Line Quick-Connect Fitting
    G03704587Courtesy of AMERICAN HONDA MOTOR CO., INC.
  6. Disconnect the fuel vapor hoses (A), and the filler neck hose and clamp (B), then gently twist the hoses as you pull to avoid damaging them.
    Fig 3: Disconnecting Fuel Vapor Hoses
    G03704588Courtesy of AMERICAN HONDA MOTOR CO., INC.
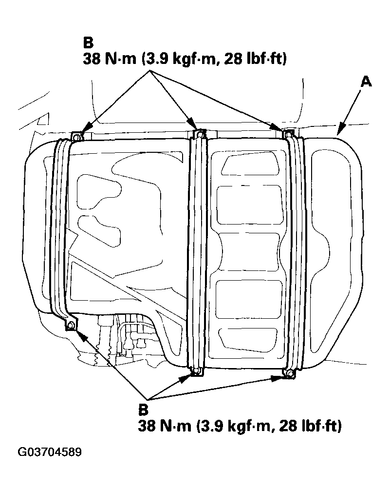
  7. Place a jack or other support under the fuel tank (A).
    Fig 4: Placing Jack Or Other Support Under Fuel Tank
    G03704589Courtesy of AMERICAN HONDA MOTOR CO., INC.
  8. Remove the strap bolts (B).
  9. Remove the fuel tank. If it sticks to the undercoated mounts, carefully pry it off the mounts.
    Fig 5: Removing Fuel Tank
    G03704590Courtesy of AMERICAN HONDA MOTOR CO., INC.
  10. Install the parts in the reverse order of removal.