lemon-mirror:
Home >> Honda >> 2005 >> Odyssey EX >> Repair and Diagnosis >> Engine Performance >> System >> PCV System >> PCV Valve Replacement

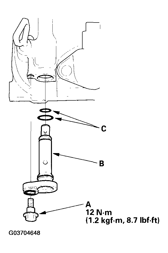
PCV Valve Replacement

  1. Remove the intake manifold cover (see step 1 on REMOVAL ).
  2. Remove the bolt (A).
    NOTE: Take care not to spill oil on the hot exhaust manifold.
    Fig 1: Removing PCV Bolt
    G03704648Courtesy of AMERICAN HONDA MOTOR CO., INC.
  3. Remove the PCV valve (B).
  4. Install the valve in the reverse order of removal.
    NOTE:
    • When installing a new PCV valve, make sure the O-rings (C) are in place.
    • When installing a used PCV valve, use new O-rings (C).