Connector to Fuse/Relay Box Index
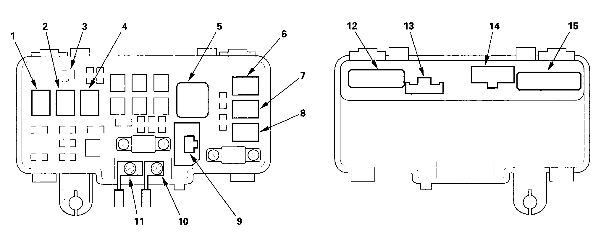
Under-hood Fuse/Relay Box
UNDER-HOOD FUSE/RELAY BOX SPECIFICATION
| Socket | Ref | Terminal | Connects to |
|---|---|---|---|
| A | 15 | 18 | Right engine compartment wire harness (see RIGHT ENGINE COMPARTMENT WIRE HARNESS ) |
| A/C compressor clutch relay | 8 | 4 | |
| A/C condenser fan relay | 6 | 4 | |
| B | 14 | 7 | Right engine compartment wire harness (see RIGHT ENGINE COMPARTMENT WIRE HARNESS ) |
| Blower motor relay | 5 | 4 | |
| C | 13 | 3 | Right engine compartment wire harness (see RIGHT ENGINE COMPARTMENT WIRE HARNESS ) |
| D | 12 | 16 | Right engine compartment wire harness (see RIGHT ENGINE COMPARTMENT WIRE HARNESS ) |
| Diode | 3 | - | Not used |
| ELD unit | 9 | 3 | Right engine compartment wire harness (see RIGHT ENGINE COMPARTMENT WIRE HARNESS ) |
| Horn relay | 4 | 4 | |
| Headlight relay 1 | 1 | 4 | |
| Headlight relay 2 | 2 | 4 | |
| Radiator fan relay | 7 | 4 | |
| T1 | 11 | Starter cable (see STARTER CABLE ) | |
| T101 | 10 | Alternator cable |
Driver's Under-dash Fuse/Relay Box
DRIVER'S UNDER-DASH FUSE/RELAY BOX SPECIFICATION
| Socket | Ref | Terminal | Connects to |
|---|---|---|---|
| A | 22 | 6 | Ignition switch lead (see IGNITION SWITCH LEAD ) |
| B | 13 | 2 | Dashboard wire harness A (see DASHBOARD WIRE HARNESS A (LEFT BRANCH) ) |
| C | 10 | 5 | Left engine compartment wire harness (see LEFT ENGINE COMPARTMENT WIRE HARNESS ) |
| D | 4 | 20 | Left engine compartment wire harness (see LEFT ENGINE COMPARTMENT WIRE HARNESS ) |
| Diode | 1 | - | Driver's door courtesy light |
| Diode | 2 | - | Not used |
| E | 11 | 10 | Left side wire harness (see LEFT SIDE WIRE HARNESS ) |
| F | 3 | 14 | Left side wire harness (see LEFT SIDE WIRE HARNESS ) |
| G | 5 | 6 | Optional fog light connector |
| H | 8 | 18 | Driver's door wire harness (see DRIVER'S DOOR WIRE HARNESS ) |
| I | 9 | - | Optional fog light connector |
| J | 20 | 18 | Dashboard wire harness A (see DASHBOARD WIRE HARNESS A (LEFT BRANCH) ) |
| K | 21 | 18 | Dashboard wire harness A (see DASHBOARD WIRE HARNESS A (LEFT BRANCH) ) |
| L | 24 | 22 | Dashboard wire harness B (see DASHBOARD WIRE HARNESS B (LEFT BRANCH) ) |
| M | 12 | 20 | Dashboard wire harness B (see DASHBOARD WIRE HARNESS B (LEFT BRANCH) ) |
| Multiplex control unit, driver's, connector A | 6 | 24 | (Plugs directly into the fuse box) |
| N | 23 | 7 | Dashboard wire harness B (see DASHBOARD WIRE HARNESS B (LEFT BRANCH) ) |
| P | 19 | 3 | Dashboard wire harness B (see DASHBOARD WIRE HARNESS B (LEFT BRANCH) ) |
| R | 18 | 1 | Optional connector |
| Reverse relay | 26 | 4 | |
| S | 17 | 1 | Optional connector |
| Starter cut relay | 25 | 4 | |
| T | 16 | 1 | Optional connector |
| Turn signal/hazard relay | 27 | 4 | |
| U | 15 | 1 | Optional connector |
| V | 14 | - | Not used |
| W | 7 | - | Memory erase signal (MES) connector |
Passenger's Under-dash Fuse/Relay Box
PASSENGER'S UNDER-DASH FUSE/RELAY BOX SPECIFICATION
| Socket | Ref | Terminal | Connects to |
|---|---|---|---|
| A | 10 | 3 | Right engine compartment wire harness (see RIGHT ENGINE COMPARTMENT WIRE HARNESS ) |
| Accessory power socket relay | 12 | 4 | |
| B | 4 | 18 | Right engine compartment wire harness (see RIGHT ENGINE COMPARTMENT WIRE HARNESS ) |
| C | 5 | 20 | Right side wire harness (see RIGHT SIDE WIRE HARNESS ) |
| D | 9 | 4 | Front passenger's door wire harness (see FRONT PASSENGER'S DOOR WIRE HARNESS ) |
| Diode | 6 | - | Not used |
| Diode | 7 | - | Not used |
| Diode | 8 | - | Front passenger's door courtesy light |
| E | 2 | 20 | Front passenger's door wire harness (see FRONT PASSENGER'S DOOR WIRE HARNESS ) |
| F | 3 | 2 | Front passenger's door wire harness (see FRONT PASSENGER'S DOOR WIRE HARNESS ) |
| G | 15 | 18 | Dashboard wire harness A (see DASHBOARD WIRE HARNESS A (LEFT BRANCH) ) |
| H | 17 | 18 | Dashboard wire harness A (see DASHBOARD WIRE HARNESS A (LEFT BRANCH) ) |
| I | 14 | 16 | Dashboard wire harness B (see DASHBOARD WIRE HARNESS B (LEFT BRANCH) ) |
| J | 18 | 16 | Dashboard wire harness B (see DASHBOARD WIRE HARNESS B (LEFT BRANCH) ) |
| K | 1 | 3 | Right engine compartment wire harness (see RIGHT ENGINE COMPARTMENT WIRE HARNESS ) |
| Multiplex control unit, passenger's, connector A | 16 | 24 | (Plugs directly into the fuse box) |
| Power window relay | 11 | 4 | |
| Rear window defogger relay | 13 | 4 |